Запчасти Case IH 884 (08-036) - REGISTRATION NUMBER PLATE AND LIGHT (06) - ELECTRICAL

Схема запчастей Case IH 884 - (08-036) - REGISTRATION NUMBER PLATE AND LIGHT (06) - ELECTRICAL
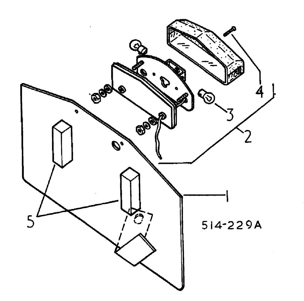
4
1
2
3
5
FIT
1:1
100%

Артикул

Название

Примечание

Количество

1

3113438R93

TYPE PLATE

ASSY, REGISTRATION NUMBER, INCLUDES: WASHER

1шт.

619856R1

WASHER

406 X 1 000 X 058

1шт.

2

3113443R91

LIGHT ASSY.

REGISTRATION NUMBER PLATE, CONSISTS OF ITEMS 3 AND 4

1шт.

3

705757R91

LAMP

12V 5W MCC

2шт.

4

3115524R1

SCREW

SPARE PART COVER RETAINING

1шт.

5

3113442R1

BUMPER

REGISTRATION NUMBER PLATE

1шт.

Выбрано товаров: 6