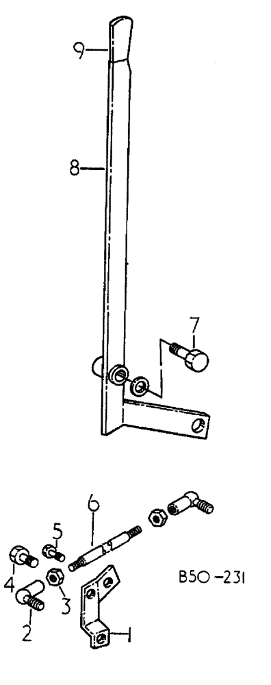
Запчасти Case IH 884 (10-032) - RAISE RESPONSE LEVER - DE-LUXE CAB (07) - HYDRAULICS

Схема запчастей Case IH 884 - (10-032) - RAISE RESPONSE LEVER - DE-LUXE CAB (07) - HYDRAULICS
7
8
5
2
4
9
1
6
3
FIT
1:1
100%

Артикул

Название

Примечание

Количество

1

3125618R1

ARM

SPARE PART RAISE RESPONSE

1шт.

2

3125525R1

JOINT

BALL, INCLUDES: WASHERS

2шт.

95-11028

WASHER,1/4"

1/4

2шт.

3

30208R1

NUT,M6, Cl 10

M6

2шт.

4

931143R1

BOLT,Hex, M10 x 1.5 x 20mm, Cl 8.8, Full Thd

BOLT, M10 X 20, INCLUDES: WASHER AND NUT

1шт.

933348R1

WASHER,M10 x 20 x 2

3/8

1шт.

100016

NUT,M10 x 1.5, Cl 8

1шт.

5

3125620R1

BOLT

M6 X 20, INCLUDES: WASHER AND NUT

1шт.

95-11028

WASHER,1/4"

1/4

1шт.

30208R1

NUT,M6, Cl 10

M6

1шт.

6

3125619R1

ROD

CONNECTING

1шт.

7

930111R1

BOLT,Hex, M10 x 1.5 x 45mm, Cl 8.8

M10 X 45, INCLUDES: WASHER AND NUT

1шт.

933348R1

WASHER,M10 x 20 x 2

3/8

1шт.

100016

NUT,M10 x 1.5, Cl 8

1шт.

8

3125617R1

HANDLE

RAISE RESPONSE

1шт.

9

400072R1

BUTTON

BALL

1шт.

Выбрано товаров: 16