Запчасти Case IH 885 (6-312) - POWER TAKE OFF CONTROL, WITH CAB (06) - POWER TRAIN

Схема запчастей Case IH 885 - (6-312) - POWER TAKE OFF CONTROL, WITH CAB (06) - POWER TRAIN
17
6
16
12
31
8
3
21
10
13
5
29
16
24
2
32
15
28
18
14
7
26
4
25
27
9
23
22
30
11
20
1
19
13
21
15
FIT
1:1
100%

Артикул

Название

Примечание

Количество

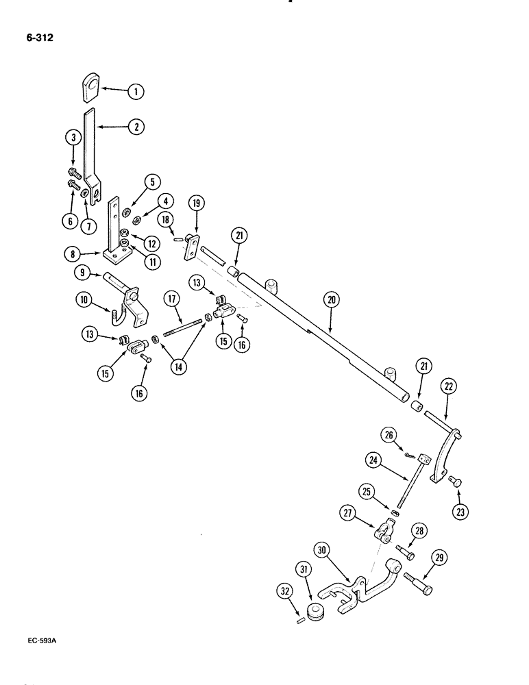
1

3399915R2

BUTTON

KNOB - control, Serial Range: -18001

1шт.

1

99859C1

BUTTON

KNOB - control, yellow, Start Serial: 18001

1шт.

2

80341C1

LEVER

- upper IPTO

1шт.

3

180173

BOLT,Hex, 1/2" - 13 x 1", Gr 5

1шт.

4

120378

NUT,Hex, 1/2" - 13, Gr 5

NUT, 1/2"-13, G5

1шт.

5

120396

WASHER

- flat, 0.531 x 1.063 x 0.074 inch

1шт.

6

814-8016

BOLT,Hex, M8 x 1.25 x 16mm, Cl 8.8, Full Thd

1шт.

7

934675R1

WASHER,M8 x 16 x 1.6

Flat M8 x 16 x 1.6

1шт.

8

80340C1

LEVER

- lower IPTO

1шт.

9

1287367C1

ARM ASSY.

ARM - assembly

1шт.

10

3129349R1

U-BOLT,M8 x 1.25 x 36.25mm

BOLT - U-type, M8

1шт.

11

934675R1

WASHER,M8 x 16 x 1.6

Flat M8 x 16 x 1.6

2шт.

12

30167R1

NUT,M8, Cl 10

- hex, 8 mm, class 10

2шт.

13

3129997R1

CLIP

2шт.

14

30281R1

NUT,M6, Cl 10

- hex, M6, class 10

2шт.

15

3234763R1

ADJUSTABLE CLEVIS,M6

CLEVIS - 6 mm x 24 mm

2шт.

16

3129996R1

CLEVIS PIN

PIN

2шт.

17

1287368C1

ROD

- control

1шт.

18

30404R1

LOCK PIN,M6 x 20, Slotted

PIN - slotted spring, 6 x 20 mm

1шт.

19

3129986R1

ARM ASSY.

ARM - crossover

1шт.

20

1282949C91

SUPPORT ASSY.

SUPPORT - IPTO control shaft, Includes: Ref. 21

1шт.

21

528839R1

BUSHING

- control shaft support

2шт.

22

1283446C1

SHAFT ASSY.

SHAFT - crossover

1шт.

23

535453R1

PIN

- IPTO rod

1шт.

24

535450R1

ROD ASSY.

ROD - IPTO control

1шт.

25

114493

JAM NUT,Jam, 5/16"-24, G5

1шт.

26

103375

COTTER PIN,3/32" x 1 1/4"

Pin, Split (Cotter), 3/32" x 1 1/4"

1шт.

27

528837R1

CLEVIS,5/16" - 24

- IPTO control

1шт.

28

530809R1

BOLT,Shoulder, Hex, 1/4" - 28 x 1.06"

- shoulder

1шт.

29

401754R1

BOLT,3/8" - 16 x 2.20"

- control arm pivot shaft

1шт.

30

94344C2

LEVER

- IPTO control

1шт.

31

530813R2

GUIDE BUSHING

COLLAR - IPTO control

1шт.

32

25215R1

PIN,3/16" x 7/8", Coiled

1шт.

Выбрано товаров: 0