Запчасти Case IH 885 (9-450) - REAR FENDERS, CROWN TYPE, WITHOUT CAB (09) - CHASSIS/ATTACHMENTS

Схема запчастей Case IH 885 - (9-450) - REAR FENDERS, CROWN TYPE, WITHOUT CAB (09) - CHASSIS/ATTACHMENTS
15
8
11
1
10
4
5
6
14
4
5
13
7
5
10
12
2
9
3
FIT
1:1
100%

Артикул

Название

Примечание

Количество

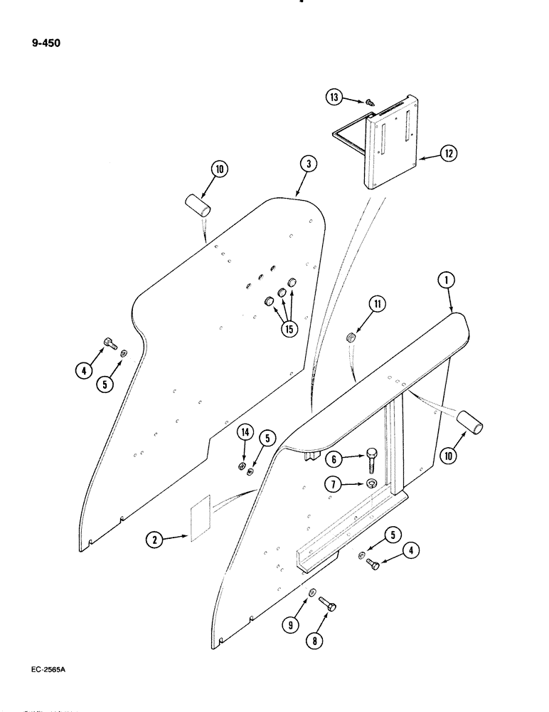
1

538639R3

FENDER ASSY.

FENDER - left, lo-crown, with warning decal, Includes: Ref. 2

1шт.

1

538641R4

FENDER ASSY.

FENDER - left, hi-crown, with warning decal, Includes: Ref. 2

1шт.

2

321-6771

DECAL

- caution instructions, English, See Figure 9-552

1шт.

3

530002R6

FENDER ASSY.

FENDER - right, lo-crown

1шт.

3

530015R8

FENDER ASSY.

FENDER - right, hi-crown

1шт.

4

88574

BOLT,Hex, 5/16" - 18 x 1/2", Gr 5, Full Thd

rear top cover, hitch control cover Hex, 5/16"-18 x 1/2", G5, Full Thd

8шт.

5

80681

LOCK WASHER,5/16"

WASHER, LOCK, , Rear top cover, Hitch controls cover 5/16"

8шт.

6

180175

BOLT,Hex, 1/2" - 13 x 1 1/4", Gr 5

- hex, 1/2 NC x 1-1/4 inch, grade 5, axle carrier

4шт.

7

120384

WASHER,1/2"

LOCK, , Axle carrier 1/2"

4шт.

8

180118

BOLT,Hex, 3/8" - 16 x 5/8", Gr 5

- hex, 3/8 NC x 5/8 inch, grade 5, park brake bracket

2шт.

8

180122

BOLT,Hex, 3/8" - 16 x 1", Gr 5

- hex, 3/8 NC x 1 inch, grade 5, park brake bracket

1шт.

9

120382

LOCK WASHER,Helical Spring, 3/8"

WASHER, LOCK, 3/8"

3шт.

10

3125820R1

SLEEVE

- PVC, lo-crown

3шт.

10

3125820R1

SLEEVE

- PVC, hi-crown

1шт.

11

531625R1

GROMMET

2шт.

12

A177376

BOX

- operators manual storage

1шт.

13

A162364

FASTENER

- panel

3шт.

14

120376

NUT,5/16"-18, G5

Hitch control cover 5/16"-18, G5

2шт.

15

99964C1

PLUG

- blanking

6шт.

Выбрано товаров: 19