Запчасти Case IH 885 (9-476) - CAB ROOF FRAME (09) - CHASSIS/ATTACHMENTS

Схема запчастей Case IH 885 - (9-476) - CAB ROOF FRAME (09) - CHASSIS/ATTACHMENTS
26
16
22
21
15
25
14
18
10
34
8
7
7
29
5
6
11
1
32
29
33
2
38
12
19
32
31
9
13
23
4
27
17
3
24
20
37
30
36
28
35
FIT
1:1
100%

Артикул

Название

Примечание

Количество

1330708C93

CAB

- complete with air conditioning and trim, Includes: cab roof with cover and Ref. 1 thru 38 in this figure and parts in Figure 9-478

1шт.

NSS

NOT SOLD SEPARAT

ROOF - cab, with cover, Includes: Ref. 1 thru 25

1шт.

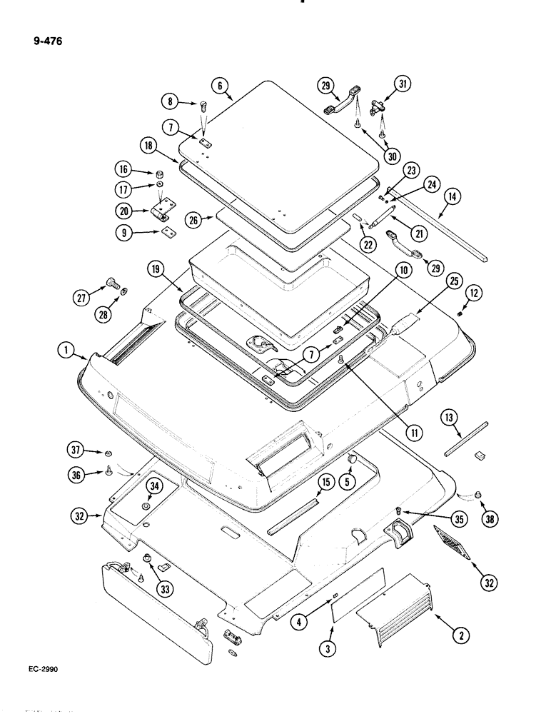
1

98022C1

TOP

FRAME - roof

1шт.

2

3233568R2

SIEVE

GRILLE - cab recirculation

2шт.

3

3234118R2

FILTER SCREEN

SCREEN - cab recirculation

2шт.

4

3234041R1

SPRING NUT

NUT - spring

8шт.

5

3233692R2

PLUG

- rubber

2шт.

6

82456C3

HATCH

- cab roof, Replaces: 82456C2

1шт.

1535243C1

BRACKET

new, for gas strut roof

1шт.

1987021C1

ROOF

COVER top, new

1шт.

3093230R93

HATCH, ASSY.

KIT hatch top roof

1шт.

7

3233679R1

PLATE

- support

6шт.

8

3402573R1

SCREW,Hex Flat Hd, M6 x 12, 4.8

- countersunk, cross recess, M6 x 16 mm

10шт.

9

3233671R1

PLATE

- with thread

4шт.

10

3233680R3

CLEVIS

BRACKET - gas spring anchor

2шт.

11

3234171R1

SCREW

- hi-lo

10шт.

12

3234212R2

PLUG

6шт.

13

3402920R2

SEAL

STRIP - roof, 440 mm

2шт.

14

1280239C1

GASKET

GASKET - foam

1шт.

15

1280448C1

SEAL

SEAL - cab recirculation, 280 mm

2шт.

16

832-10406

NUT,M6 x 1, Cl 8

LOCK, M6 x 1, Cl 8

2шт.

17

934948R1

WASHER,M6

- flat, 6.4 x 12.5 x 1.6 mm

2шт.

18

82464C1

SEAL

- roof hatch

1шт.

19

1328329C2

SEAL

- roof hatch

1шт.

20

1328160C1

HINGE

- roof hatch

2шт.

21

3399422R3

GAS STRUT,225mm Extended, 165mm Compressed

STRUT - gas filled

2шт.

22

3233294R1

LOCK PIN,M6 x 14, Slotted

PIN - roll, 6 x 14 mm

2шт.

23

3234082R1

PIN

- gas strut swivel

2шт.

24

3233681R1

SNAP RING

RING - retaining

2шт.

25

89675C1

ADHESIVE

- black silicon, 310 ml

1шт.

26

1330746C1

FOAM

PAD - foam

1шт.

27

931829R1

BOLT,Hex, M8 x 1.25 x 12mm, Cl 8.8, Full Thd

6шт.

28

934309R1

LOCK WASHER,M8

WASHER - lock, M8

6шт.

29

3234209R1

HANDLE

- roof

3шт.

30

3233231R1

SELF-TAP SCREW,Pan Hd, M4.2 x 22

SCREW - tapping, round cross recess, 4.2 x 22 mm

14шт.

31

3234190R1

LOCK

CATCH - hatch retaining

1шт.

32

1332686C1

INSULATOR

LINING - roof

1шт.

The radio grille cover is comprised of the 1328281C1 grille, 3233646R1 screw and the 3233421R1 washer

1шт.

33

3234399R4

BUSHING

1шт.

34

3234395R1

PUSH-ON NUT

WASHER - lock

1шт.

35

3233277R1

SELF-TAP SCREW,Flat Hd, M4.2 x 13

Cross recess Flat Hd, M4.2 x 13

1шт.

36

3233378R1

SELF-TAP SCREW,Oval Hd, M4.2 x 19

SCREW - tapping, oval cross recess, 4.2 x 19 mm

1шт.

36

3233230R1

SELF-TAP SCREW,Oval Hd, M4.2 x 22

SCREW - tapping, oval cross recess, 4.2 x 22 mm

1шт.

37

3402617R1

CUP WASHER

WASHER

1шт.

37

3234052R1

WASHER

- cup, 6 mm

1шт.

38

3404266R1

BUSHING

- screw

1шт.

Выбрано товаров: 46