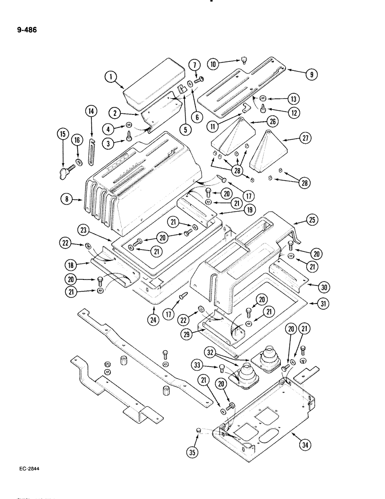
Запчасти Case IH 885 (9-486) - CONTROL LEVER COVERS AND SUPPORTS, CAB (09) - CHASSIS/ATTACHMENTS

Схема запчастей Case IH 885 - (9-486) - CONTROL LEVER COVERS AND SUPPORTS, CAB (09) - CHASSIS/ATTACHMENTS
28
18
21
31
16
20
20
21
5
30
10
12
21
21
26
4
9
24
19
21
20
25
1
29
15
27
22
34
28
3
17
32
21
17
13
14
20
7
6
35
20
23
11
20
20
33
8
21
21
22
2
FIT
1:1
100%

Артикул

Название

Примечание

Количество

1

1330897C1

ARMREST

- right, Includes: Ref. 2 - 4

1шт.

2

1500435C1

SUPPORT

BRACKET - support

1шт.

3

1500436C1

SCREW,Cross Rec Pan Hd, M6 x 20mm

- pan head cross recess

2шт.

4

30325R1

WASHER,M6 x 13 x 2, HT

- M6 x 13 x 2, HT

2шт.

5

704445R1

NUT

- retainer, 1/4 inch NC

2шт.

5

3233707R1

SPRING NUT

- spring, push-on, Serial Range: (Optional-704445R1)

2шт.

6

120392

WASHER,1/4", SAE

- plain, 0.281 x 0.625 x 0.051 inch (Use with 704445R1)

2шт.

6

3404266R1

BUSHING

- screw (Use with 3233707R1)

2шт.

7

160556

SCREW,Cross Pan Hd, 1/4" - 20 x 1"

Use with 704445R1 Cross Pan Hd, 1/4"-20 x 1"

2шт.

7

3233230R1

SELF-TAP SCREW,Oval Hd, M4.2 x 22

SCREW - tapping, oval cross recess, 4.2 x 22 mm (Use with 3233707R1)

2шт.

8

1331015C1

COVER

- console, right, Includes: Ref. 9 - 13

1шт.

9

1500367C1

PLATE

- lever pattern, right

1шт.

10

1500369C1

KNOB

KNOB - position control stop

1шт.

11

3129745R1

STOP

- position control

1шт.

12

24365R1

SELF-TAP SCREW,Cross Pan Hd, #6 x 3/8"

SCREW - tapping, pan slotted, No. 6 x 3/8 inch

6шт.

13

30289R1

WASHER,M4

- flat, , ZND M4

6шт.

14

99434C1

PLATE

- lockout, auxiliary valve lever

1шт.

15

99972C1

SCREW,3/8" - 16 x 1 3/4"

- wing, adjusting

1шт.

16

NLS

NO LONGER SERVICED

- flat, 0.438 x 1.00 x 0.064 inch

1шт.

17

24407R1

SELF-TAP SCREW,Cross Pan Hd, 1/4" x 1/2"

SCREW, SELF TAPPING, Cross Pan Hd, 1/4" x 1/2"

14шт.

18

99438C1

SUPPORT

BRACKET - front mounting, right console

1шт.

19

1500351C2

SUPPORT

BRACKET - rear mounting, right console

1шт.

20

43138

BOLT,Hex, M10 x 1.5 x 20mm, Cl 8.8

- hex, M10 x 20 mm, class 8.8, ZND

16шт.

21

30282R1

WASHER,M10 x 20 x 2

- plain, 10 mm

16шт.

22

30284R1

NUT,M10, Cl 10

- hex, 10 mm, class 10

4шт.

23

3401382R1

SEAL

SEAL - adaptor plate, left

1шт.

24

3129748R91

PLATE

- adaptor, right, See Figure 9-490

1шт.

25

1500370C91

COVER ASSY

PANEL - console, left, Includes: Ref. 26 - 28

1шт.

26

1500373C1

BELLOWS

BOOT - range lever

1шт.

27

1500372C1

BELLOWS

BOOT - speed lever

1шт.

28

1500374C1

CLIP,ELECTRICAL

CLIP

14шт.

29

94391C2

SUPPORT

BRACKET - front mounting, left console

1шт.

30

1500346C2

SUPPORT

BRACKET - rear mounting, left console

1шт.

31

98018C1

SEAL

- adaptor plate, left

1шт.

32

94377C1

BOOT

- protective, speed and range levers

2шт.

33

1289539C1

FASTENER

- plastic

6шт.

34

94389C3

PLATE

- adaptor, left

1шт.

35

716493R2

PLUG

- 8.6 mm diameter

3шт.

Выбрано товаров: 38