Запчасти Case IH 885 (2-058) - CONNECTING ROD, PISTON AND SLEEVE (02) - ENGINE

Схема запчастей Case IH 885 - (2-058) - CONNECTING ROD, PISTON AND SLEEVE (02) - ENGINE
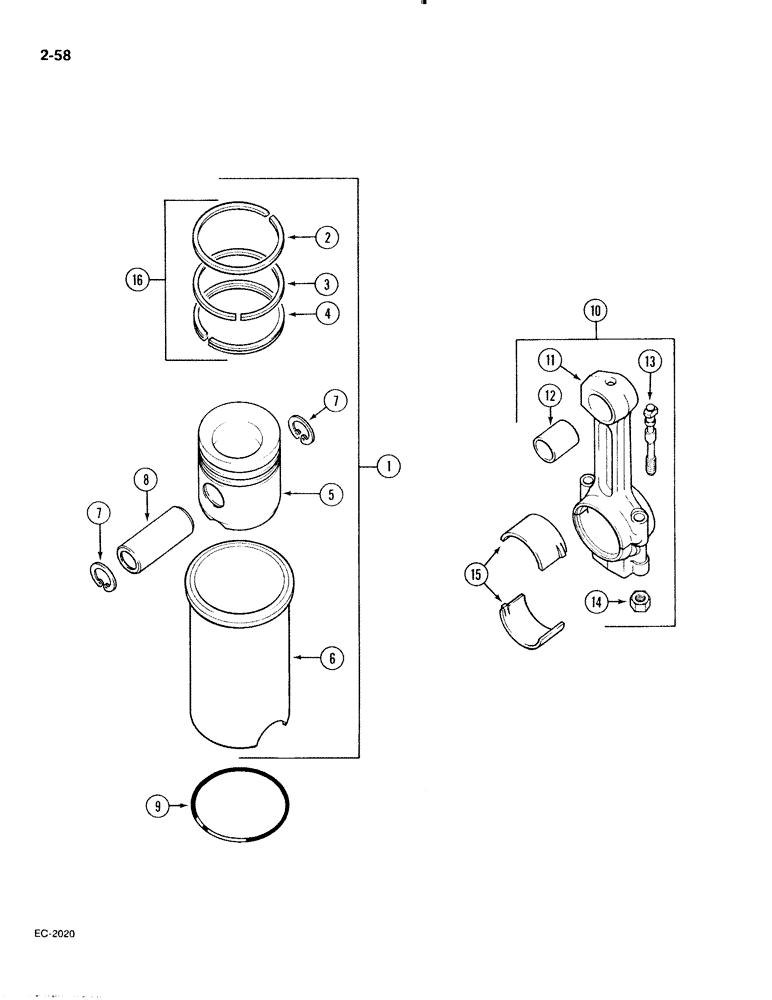
9
7
14
10
3
4
1
15
12
8
6
16
7
13
5
11
2
FIT
1:1
100%

Артикул

Название

Примечание

Количество

1

3218461R95

SLEEVE ASSY

PISTON AND SLEEVE, Includes: Ref. 2 - 8

4шт.

2

NSS

NOT SOLD SEPARAT

RING - compression, first

1шт.

3

NSS

NOT SOLD SEPARAT

RING - compression, second

1шт.

4

NSS

NOT SOLD SEPARAT

RING - oil control

1шт.

5

NSS

NOT SOLD SEPARAT

PISTON

1шт.

6

3144682R3

SLEEVE CYLINDER

SLEEVE - cylinder

1шт.

7

933327R1

SNAP RING,M36, Int

RING - retaining

2шт.

8

3055217R2

PISTON PIN

PIN - piston

1шт.

9

3228348R1

RING,4.75mm Thk x 109.16mm ID

- packing, cylinder sleeve

4шт.

10

3055029R24

CONNECTING ROD

ROD - connecting, complete, Includes: Ref. 11 - 14

4шт.

If looking for 8.425" center to center hole length connecting rod, order 3055030R24 subs to 1967032C1.

1шт.

11

NSS

NOT SOLD SEPARAT

ROD - connecting

1шт.

12

3132018R2

BUSHING,35.34mm ID x 39.84mm OD x 34mm L

- piston pin

1шт.

13

3055033R11

BOLT

- Connecting rod, with nut, Includes Ref 14

2шт.

14

NSS

NOT SOLD SEPARAT

NUT - hex, connecting rod bolt

2шт.

15

3055351R91

BEARING ASSY

BEARING - connecting rod, standard size

4шт.

15

3056834R11

BEARING ASSY

BEARING, .250 mm under

1шт.

15

3056879R11

BEARING ASSY

BEARING, .500 mm under

1шт.

15

3055781R11

BEARING ASSY

.750 mm under

1шт.

16

3144977R91

PISTON RING SET

KIT - piston ring set, with fitting instructions

1шт.

3218538R1

SHIM

cylinder sleeve, .05 mm

1шт.

3218539R1

SHIM

cylinder sleeve, .10 mm

1шт.

3218540R1

SHIM,112.06mm ID x 118.6mm OD x 0.25mm Thk

cylinder sleeve, .25 mm

1шт.

3218541R1

SHIM

cylinder sleeve, .50 mm

1шт.

3218542R1

SHIM

cylinder sleeve, .80 mm

1шт.

Выбрано товаров: 25