Запчасти Case IH 885 (4-138) - BATTERY, CABLES AND BOX (04) - ELECTRICAL SYSTEMS

Схема запчастей Case IH 885 - (4-138) - BATTERY, CABLES AND BOX (04) - ELECTRICAL SYSTEMS
6
12
7
8
11
2
9
3
15
7
13
13
1
7
5
4
14
14
10
FIT
1:1
100%

Артикул

Название

Примечание

Количество

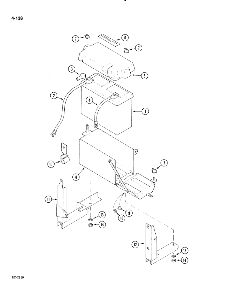
1

A186026

BATTERY, DRY

- dry charge, maintenance free, 12 volt

1шт.

A187592 Heavy Duty Battery 950 Cranking Amp, Exide, Available

1шт.

2

82985C1

CABLE ASSY.

CABLE -, Serial Range: battery-starter

1шт.

3

3125853R1

PROTECTOR

BOOT - rubber, starter cable

1шт.

4

K917372

CABLE

- battery to ground, Replaces: 82986C1

1шт.

5

1330754C1

COVER

- battery, with decal, Includes: Ref. 6

1шт.

6

321-6714

DECAL

- battery jump start warning, English, See Figure 9-552

1шт.

7

3129887R1

WING NUT

- wing, M8

3шт.

8

82700C1

BATTERY BOX

BOX - battery, Includes: Ref. 9 and 10

1шт.

9

104234

RIVET,FH, 3/16" x 3/8"

3шт.

10

103338

WASHER,#10

- flat, 0.219 x 0.5 x 0.036 inch

3шт.

11

82941C1

CHANNEL

SUPPORT - fuel tank and battery box, See Figure 3-102

1шт.

12

82709C1

SUPPORT

BRACKET - battery box

1шт.

13

934675R1

WASHER,M8 x 16 x 1.6

Flat M8 x 16 x 1.6

3шт.

14

30167R1

NUT,M8, Cl 10

- hex, 8 mm, class 10

3шт.

15

3229714R1

CLAMP

CLIP - cable, battery box

1шт.

Выбрано товаров: 16