Запчасти Case IH 885 (10-050) - SINGLE ACTING AUXILIARY HYDRAULIC VALVE (07) - HYDRAULICS

Схема запчастей Case IH 885 - (10-050) - SINGLE ACTING AUXILIARY HYDRAULIC VALVE (07) - HYDRAULICS
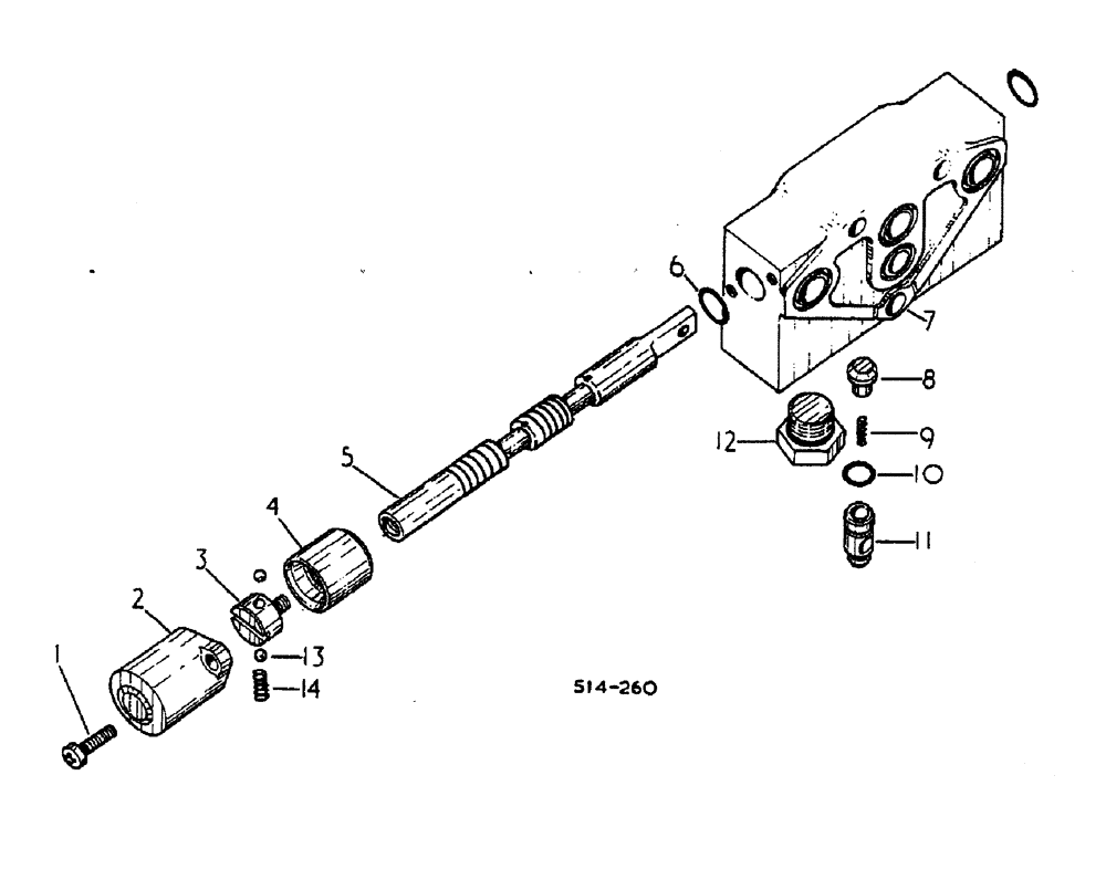
2
3
4
12
1
6
8
13
5
14
7
9
10
11
FIT
1:1
100%

Артикул

Название

Примечание

Количество

3116055R94

VALVE

ASSY, SINGLE ACTING AUX HYD

1шт.

1

3113064R1

SCREW

2шт.

2

3113059R1

CAP

END

1шт.

3

3116057R1

CARRIER

DETENT

1шт.

4

3116058R1

CAGE

DETENT

1шт.

5

NOT SERVICED SEPARATELY

1шт.

6

128359

O-RING,0.07" Thk x 0.614" ID, -16, Cl 5, 75 Duro

5/8 X 3/4 X 1/16

2шт.

7

NOT SERVICED SEPARATELY

1шт.

8

3113068R1

VALVE POPPET

POPPET

1шт.

9

3113069R1

SPRING

CHECK VALVE

1шт.

10

391914R1

O-RING,0.07" Thk x 0.426" ID, -13, Cl 6, 90 Duro

7/16 X 9/16 X 1/16 CLASS 6

1шт.

11

3113070R1

GUIDE

CHECK VALVE

1шт.

12

3113071R1

PLUG

SPARE PART ASSY, 7/8 UNF

1шт.

13

17008R1

BALL,1/4" Dia

Steel

2шт.

14

3113065R1

SPRING

DETENT

1шт.

Выбрано товаров: 15