Запчасти Case IH 885 (09-020) - FRONT END WEIGHTS (12) - FRAME

Схема запчастей Case IH 885 - (09-020) - FRONT END WEIGHTS (12) - FRAME
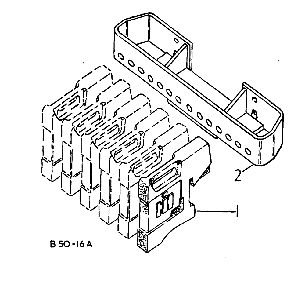
1
2
FIT
1:1
100%

Артикул

Название

Примечание

Количество

1

383392R2

WEIGHT

FRONT END, INCLUDES: SCREWS AND NUTS

10шт.

180194

BOLT,Hex, 1/2" - 13 x 4", Gr 5

1/2-13 X 4 ZND HEX HD CAP

10шт.

125536

SQUARE NUT

1/2-13 C-Z SQUARE

10шт.

2

3121273R1

BRACKET

ASSY, FRONT END WEIGHT, INCLUDES: BOLTS

1шт.

24887R1

BOLT,Hex, 3/4" - 10 x 1 3/4", Gr 8

Machine application consists of 6 or 14 weights

4шт.

2

3123572R1

BRACKET

ASSY, FRONT END WEIGHT, INCLUDES: BOLTS

1шт.

24887R1

BOLT,Hex, 3/4" - 10 x 1 3/4", Gr 8

4WD, Machine application consists of max 10 weights

4шт.

Выбрано товаров: 7