Запчасти Case IH 885 (12-004) - AIR CLEANER - COOPER - Power

Схема запчастей Case IH 885 - (12-004) - AIR CLEANER - COOPER - Power
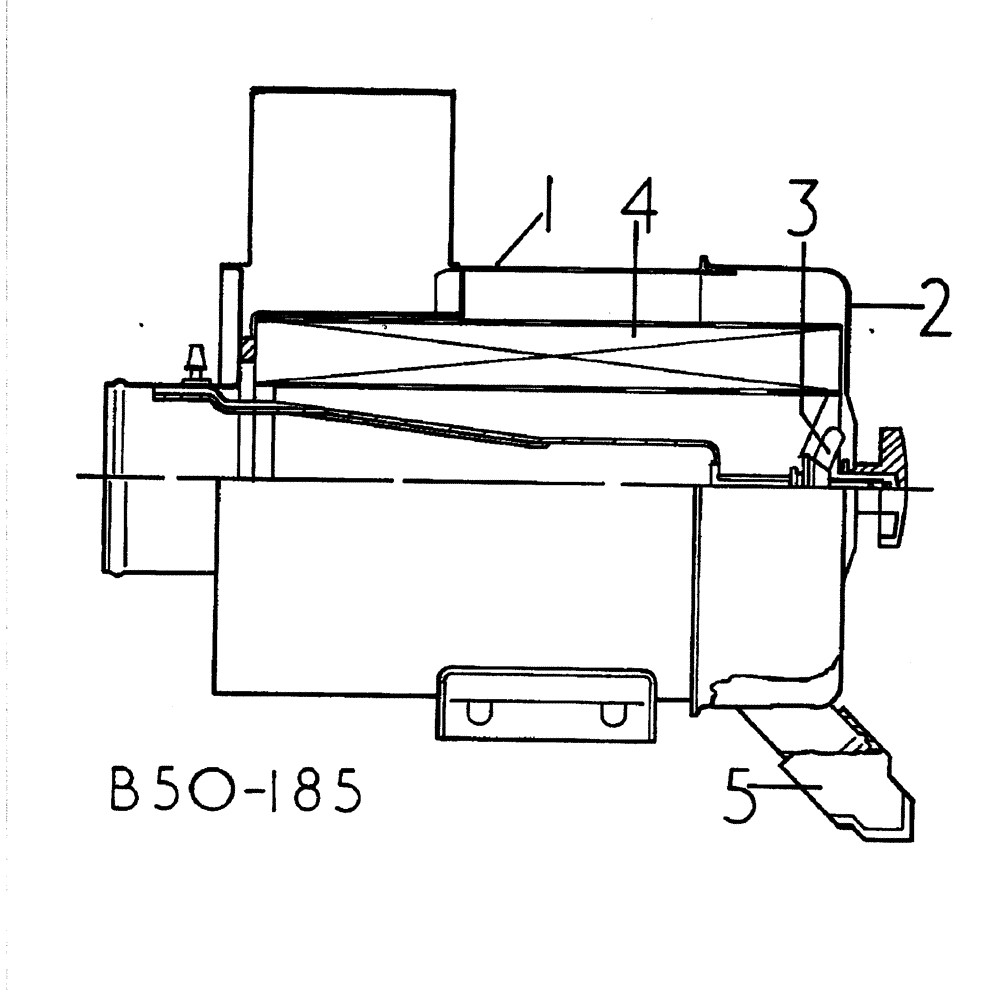
3
1
2
5
4
FIT
1:1
100%

Артикул

Название

Примечание

Количество

3125118R92

CLEANER

ASSY, AIR COMPRISES

1шт.

1

BODY ASSY., NOT SERVICED

1шт.

2

3125790R1

COVER ASSY

CUP

1шт.

3

3124435R1

NUT

W/GASKET

1шт.

4

3125342R2

AIR FILTER

ELEMENT ASSY.

1шт.

5

3124432R1

DUST VALVE

1шт.

Выбрано товаров: 6