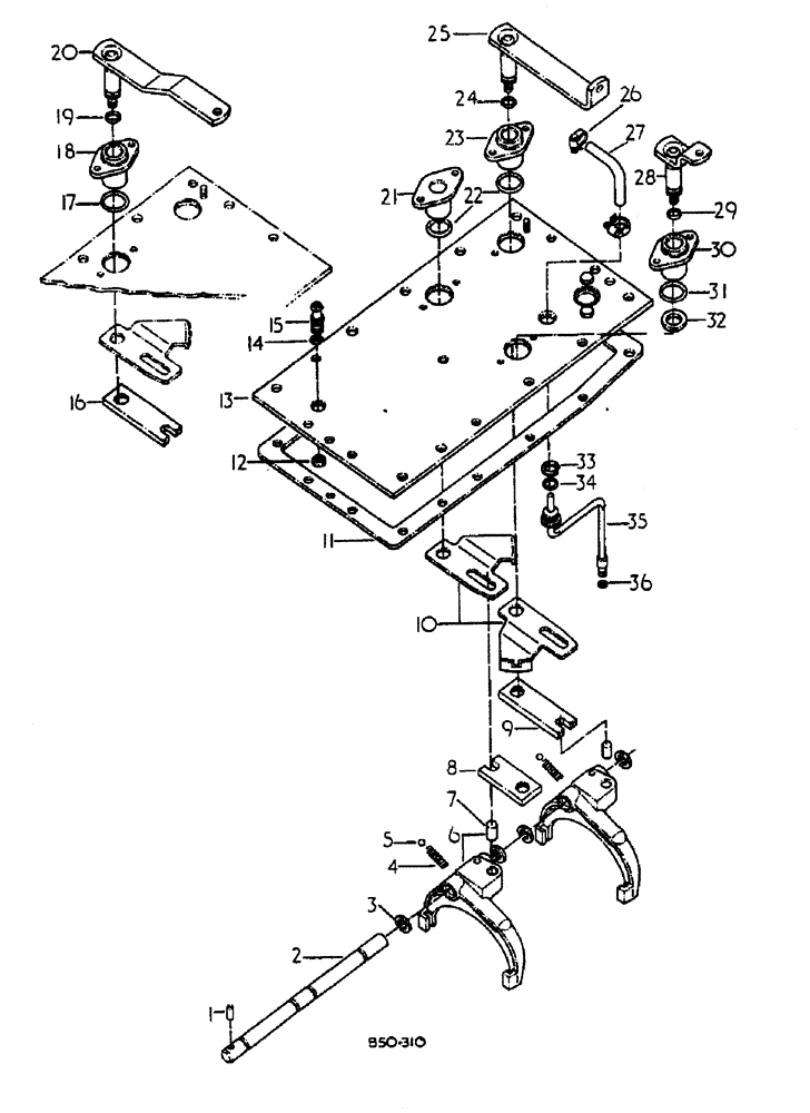
Запчасти Case IH 885 (07-054) - GEAR SHIFT MECHANISM SPEED TRANSMISSION - SPEED - 885 SLOW AND FAST SPEED (04) - Drive Train

Схема запчастей Case IH 885 - (07-054) - GEAR SHIFT MECHANISM SPEED TRANSMISSION - SPEED - 885 SLOW AND FAST SPEED (04) - Drive Train
23
25
22
21
5
36
16
10
34
9
33
7
18
31
15
30
20
6
32
27
1
4
26
12
28
2
35
14
19
8
3
11
24
29
17
13
FIT
1:1
100%

Артикул

Название

Примечание

Количество

1

25155R1

PIN,1/4" x 1 1/4", Coiled

1шт.

2

3129154R1

RAIL

SPEED SHIFT FORK

1шт.

3

661652R1

SNAP RING,#75, Ext

4шт.

4

103062C1

SPRING

POPPET BALL

2шт.

5

17013R1

BALL,13/32" Dia

Poppet

2шт.

6

1500245C91

FORK

ASSY

2шт.

7

1500656C1

DOWEL

PIN, 1/2 X 2-1/4 CHAMFERED

2шт.

8

3129171R1

ARM

SPEED SHIFT 3RD/4TH FAST SPEED

1шт.

9

3129167R1

ARM

SPEED SHIFT 1ST/2ND

1шт.

10

1500249C1

LARGE PLATE

PLATE, LARGE INTERLOCK

2шт.

11

401621R3

GASKET

TOP COVER - W/TORQUE AMP

1шт.

11

401019R3

GASKET

TOP COVER

1шт.

12

21332R1

SNAP RING,#68, Ext

1шт.

13

3129161R91

COVER ASSY

CLUTCH HOUSING TOP FAST SPEED

1шт.

13

3129163R91

COVER ASSY

CLUTCH HOUSING TOP SLOW SPEED, INCLUDES: STUD, PLUGS, BOLT AND SCREWS

1шт.

3129159R1

STUD

TOP COVER

1шт.

24901R1

PLUG,Cup, 3/8"

3/8 CUP

1шт.

349373R1

PLUG

1-1/4 CUP

1шт.

179816

BOLT,Hex, 5/16" - 18 x 3/4", Gr 5

2 required fast speed, 4 required slow speed

1шт.

179838

BOLT,Hex, 3/8" - 16 x 7/8", Gr 5, Full Thd

16шт.

13

3129157R91

COVER ASSY

CLUTCH HOUSING TOP FAST SPEED W/TORQUE AMP W/FORWARD AND REVERSE W/O TA

1шт.

13

3129160R91

COVER ASSY

CLUTCH HOUSING TOP SLOW SPEED W/TORQUE AMP W/FORWARD AND REVERSE W/O TA, INCLUDES: STUD, PLUGS, BOLTS AND SCREWS

1шт.

3129159R1

STUD

TOP COVER

1шт.

24901R1

PLUG,Cup, 3/8"

3/8 CUP

1шт.

349373R1

PLUG

1-1/4 CUP

2шт.

179816

BOLT,Hex, 5/16" - 18 x 3/4", Gr 5

4шт.

179837

BOLT,Hex, 3/8" - 16 x 3/4", Gr 5

2шт.

NLS

NO LONGER SERVICED

W/Forward and Reverse

14шт.

14

371544R1

O-RING,0.07" Thk x 0.551" ID, -15, Cl 5, 75 Duro

NO 15

1шт.

15

3129200R1

ADAPTER

1шт.

16

3129167R1

ARM

SPEED SHIFT 3RD/4TH SLOW SPEED

1шт.

17

391733R1

O-RING,0.07" Thk x 1.114" ID, -24, Cl 6, 90 Duro

1-1/8 X 1-1/4 X 1/16

2шт.

18

3129165R1

HOUSING

SPEED SHIFT ARM, INCLUDES: BOLTS

1шт.

179816

BOLT,Hex, 5/16" - 18 x 3/4", Gr 5

2шт.

19

392385R1

O-RING,0.07" Thk x 0.614" ID, -16, Cl 6, 90 Duro

1шт.

20

3129174R1

ARM ASSY.

SPEED SHIFT ACTUATING 3RD/4TH SLOW SPEED, INCLUDES: NUT

1шт.

19605R1

LOCK NUT,1/2"-13, GB

1/2-13 NYLON INSERT

1шт.

21

1500246C1

PIVOT ASSY.

INTERLOCK, FAST SPEED, INCLUDES: BOLTS AND CLIP

1шт.

179816

BOLT,Hex, 5/16" - 18 x 3/4", Gr 5

2шт.

603570

CLIP, E TYPE

1шт.

22

391733R1

O-RING,0.07" Thk x 1.114" ID, -24, Cl 6, 90 Duro

1-1/8 X 1-1/4 X 1/16

2шт.

23

3129165R1

HOUSING

SPEED SHIFT ARM, INCLUDES: BOLT, NUT AND WASHER

1шт.

179816

BOLT,Hex, 5/16" - 18 x 3/4", Gr 5

1шт.

120376

NUT,5/16"-18, G5

1шт.

103320

LOCK WASHER,5/16"

1шт.

24

392385R1

O-RING,0.07" Thk x 0.614" ID, -16, Cl 6, 90 Duro

1шт.

25

3129166R1

ARM ASSY.

SPEED SHIFT ACTUATING 1ST/2ND, INCLUDES: NUT

1шт.

19605R1

LOCK NUT,1/2"-13, GB

NYLON INSERT 1/2-13

1шт.

26

534421R1

HOSE CLAMP

WORM DRIVE HOSE

2шт.

26

279025R91

HOSE CLAMP,#06, .44/.78 Type F Worm

2шт.

26

3112550R1

CLAMP

HOSE, OPTIONAL

2шт.

27

1500242C1

HOSE,6.75 mm ID, 12.7 mm OD, 92 mm Length

Lubrication

1шт.

28

3129172R1

ARM ASSY.

SPEED SHIFT ACTUATING 3RD/4TH, FAST SPEED

1шт.

19605R1

LOCK NUT,1/2"-13, GB

NYLON INSERT 1/2-13

1шт.

29

399385R1

SPARE PART O-RING, 5/8 X 1/16 CLASS 6

1шт.

30

3129165R1

HOUSING

SPEED SHIFT ARM, INCLUDES: BOLTS

1шт.

179816

BOLT,Hex, 5/16" - 18 x 3/4", Gr 5

2шт.

31

391733R1

O-RING,0.07" Thk x 1.114" ID, -24, Cl 6, 90 Duro

1-1/8 X 1-1/4 X 1/16

1шт.

32

1500250C1

SPACER

1шт.

33

269181R1

SNAP RING,#75, Ext

pressure lub body #75, Ext

1шт.

34

379181R1

O-RING,0.614" ID x 0.07" Width

5/8 X 3/4 X 1/16

1шт.

35

3129164R1

TUBE ASSY.,0.25" OD, 190.5, 83 mm Length

TRANSMISSION LUB

1шт.

36

352219R1

O-RING,0.07" Thk x 0.239" ID, -10, Cl 5, 75 Duro

1/4 X 3/8 X 1/16

1шт.

Выбрано товаров: 63