Запчасти Case IH 895 (9-022) - REAR FENDERS, CROWN TOP (09) - CHASSIS/ATTACHMENTS

Схема запчастей Case IH 895 - (9-022) - REAR FENDERS, CROWN TOP (09) - CHASSIS/ATTACHMENTS
5
14
3
11
5
9
2
1
16
10
7
6
10
4
4
8
15
5
13
12
FIT
1:1
100%

Артикул

Название

Примечание

Количество

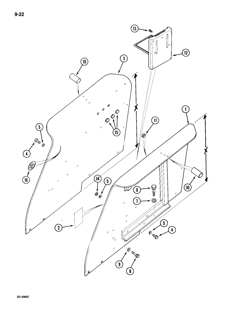
1

538639R4

FENDER ASSY.

FENDER ASSEMBLY - lo-crown, left with decal (Dim. X : 805 mm), Includes: Ref. 2

1шт.

1

538641R5

FENDER ASSY.

FENDER ASSEMBLY - hi-crown, left with decal (Dim. X : 848 mm), Includes: Ref. 2

1шт.

2

NSS

NOT SOLD SEPARAT

DECAL - warning, operating instructions

1шт.

3

530002R6

FENDER ASSY.

FENDER ASSEMBLY - lo-crown, right

1шт.

3

530015R8

FENDER ASSY.

FENDER ASSEMBLY - hi-crown, right

1шт.

4

413-58

BOLT,Hex, 5/16" - 18 x 1/2", Gr 5

- hex, 5/16 NC x 1/2 inch

8шт.

5

492-11031

LOCK WASHER,5/16"

WASHER, LOCK, 5/16"

8шт.

6

413-820

BOLT,Hex, 1/2" - 13 x 1-1/4", Gr 5

- hex, 1/2 NC x 1-1/4 inch

4шт.

7

80679

LOCK WASHER,1/20.507 CST ZND

WASHER, LOCK, 1/2"

4шт.

8

413-610

BOLT,Hex, 3/8" - 16 x 5/8", Gr 5

2шт.

8

413-616

BOLT,Hex, 3/8" - 16 x 1", Gr 5

1шт.

9

492-11038

LOCK WASHER,3/8"

3шт.

10

3125820R1

SLEEVE

- PVC (Lo-crown fenders)

3шт.

10

3125820R1

SLEEVE

- PVC (Hi-crown fenders)

1шт.

11

531625R1

GROMMET

- rubber

2шт.

12

T104294

BOX

- operators manual storage

1шт.

13

A162364

FASTENER

- panel

3шт.

14

425-105

NUT,5/16"-18, G5

- hex, 5/16 inch NC

2шт.

15

99964C1

PLUG

- blanking

6шт.

16

REF

INSTRUCTION

DECAL - speed chart, mph (See Fig. 9-130)

1шт.

Выбрано товаров: 20