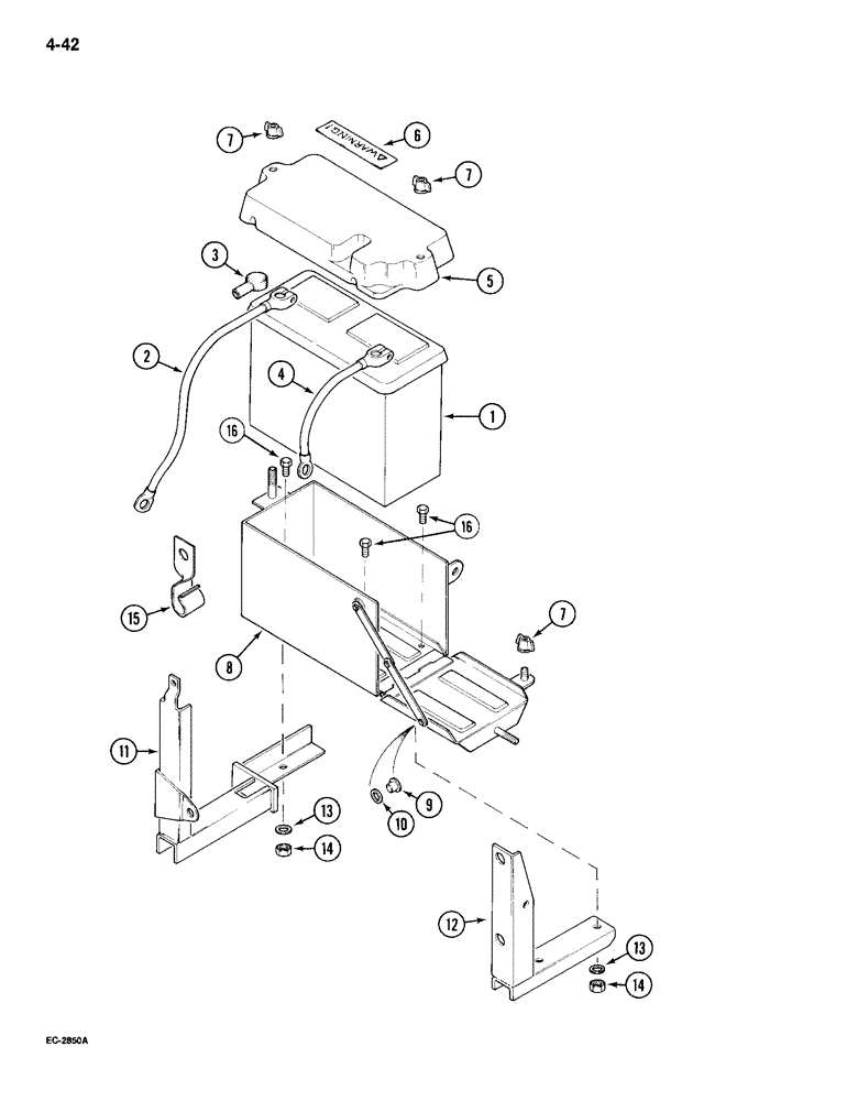
Запчасти Case IH 895 (4-42) - BATTERY BOX, BATTERY AND CABLES, TRACTOR WITH CAB (04) - ELECTRICAL SYSTEMS

Схема запчастей Case IH 895 - (4-42) - BATTERY BOX, BATTERY AND CABLES, TRACTOR WITH CAB (04) - ELECTRICAL SYSTEMS
16
4
2
6
3
14
6
5
7
16
14
13
7
9
1
1
7
15
12
13
10
FIT
1:1
100%

Артикул

Название

Примечание

Количество

1

A186026

BATTERY, DRY

- dry charge, maintenance free, 12 volt (Order B2772)

1шт.

1

530756R2

BATTERY, WET

BATTERY - wet charge, extra heavy duty 12 volt (Order B2772)

1шт.

2

82985C1

CABLE ASSY.

CABLE -, Serial Range: battery-starter

1шт.

2

122599A1

CABLE ASSY.

CABLE - battery to starter (Use with starter motor 114568A1)

1шт.

3

3125853R1

PROTECTOR

BOOT - rubber, starter cable

1шт.

4

3404976R1

CABLE

-, Serial Range: battery-ground

1шт.

5

1330754C1

COVER

- battery, with decal, Includes: Ref. 6

1шт.

6

321-6714

DECAL

- battery jump start warning, English

1шт.

7

3129887R1

WING NUT

- wing, 8 mm - 1.25

3шт.

8

82700C3

BATTERY BOX

BOX - battery

1шт.

8

1332756C3

BATTERY BOX

BOX - battery heavy duty

1шт.

9

104234

RIVET,FH, 3/16" x 3/8"

If equipped FH, 3/16" x 3/8"

3шт.

10

495-81109

WASHER,.281" x 1" x .048"

- flat, 1/2 inch (If equipped)

3шт.

11

82941C1

CHANNEL

SUPPORT - fuel tank and battery box (See Fig. 3-22)

1шт.

11

1332752C1

SUPPORT

- fuel tank and battery box, heavy duty

1шт.

12

82709C1

SUPPORT

BRACKET - battery box

1шт.

12

1332754C1

SUPPORT

BRACKET - battery box heavy duty

1шт.

13

895-11008

WASHER,9mm ID x 16mm OD x 1.6mm Thk

3шт.

14

829-1408

NUT,Hex, M8 x 1.25, Cl 10.9

- hex, 8 mm - 1.25, class 10

3шт.

15

3229714R1

CLAMP

CLIP - cable, battery box

1шт.

16

614-8016

BOLT,Hex, M8 x 1.25 x 16mm, Cl 8.8, Full Thd

- hex, 8 mm x 5/8 inch

3шт.

Выбрано товаров: 21