Запчасти Case IH 995 (9-062) - CAB, DRAFT CONTROL LEVER HOUSING (09) - CHASSIS/ATTACHMENTS

Схема запчастей Case IH 995 - (9-062) - CAB, DRAFT CONTROL LEVER HOUSING (09) - CHASSIS/ATTACHMENTS
14
15
18
12
17
7
8
4
8
3
11
16
2
1
10
13
4
4
9
FIT
1:1
100%

Артикул

Название

Примечание

Количество

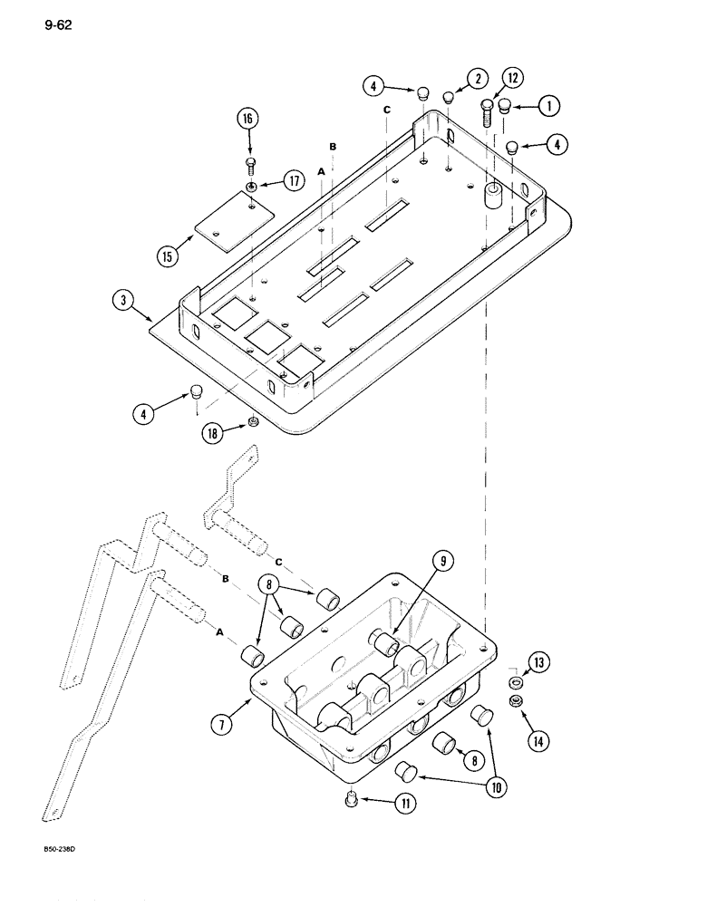
1

3401908R3

PLUG

- 19 mm diameter

1шт.

2

1328698C1

PLUG

- 7.2 mm diameter

1шт.

3

3129748R91

PLATE

- adaptor, right (Order 1 x 2726219R1 and 1 x 187-845)

1шт.

4

716493R2

PLUG

- 8.6 mm diameter

3шт.

3129732R91

HOUSING

ASSEMBLY - control, Includes: Ref. 7 - 11

1шт.

7

3129317R1

HOUSING

- control

1шт.

8

3229641R1

BUSHING

- control lever

4шт.

9

3129318R1

BUSHING

- control lever

3шт.

10

3045397R1

PLUG

- red cap

2шт.

11

1502026C1

PLUG

- red cap (Order 2721805R1)

2шт.

12

613-6025

BOLT,Hex, M6 x 1 x 25mm, Cl 8.8, Full Thd

- hex, 6mm - 1.00 x 25 mm

6шт.

13

895-10006

WASHER,6.6mm ID x 12mm OD x 1.6mm Thk

- flat, 6.4 x 12.5 x 1.6 mm

6шт.

14

829-1406

NUT,Hex, M6 x 1, Cl 10.9

6шт.

15

1500182C2

PLATE

- retaining

3шт.

16

613-6020

BOLT,Hex, M6 x 1 x 20mm, Cl 8.8, Full Thd

- hex, 6 mm - 1.00 x 20 mm

6шт.

17

892-11006

LOCK WASHER,M6

WASHER, LOCK, M6

6шт.

18

829-1406

NUT,Hex, M6 x 1, Cl 10.9

6шт.

Выбрано товаров: 17