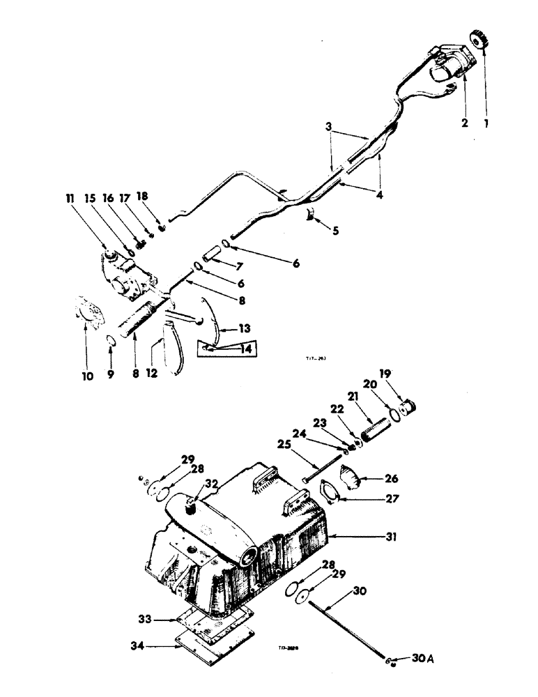
Запчасти Case IH B275 (110) - HYDRAULIC ATTACHMENTS, HYDRAULIC LIFT ATTACHMENT, FOR USE W/REMOTE CYLINDERS ONLY (07) - HYDRAULIC SYSTEM

Схема запчастей Case IH B275 - (110) - HYDRAULIC ATTACHMENTS, HYDRAULIC LIFT ATTACHMENT, FOR USE W/REMOTE CYLINDERS ONLY (07) - HYDRAULIC SYSTEM
29
2
33
31
8
16
28
19
13
8
17
10
32
30a
28
27
20
23
11
29
25
22
26
18
34
6
21
5
30
6
1
24
12
9
14
15
4
7
3
FIT
1:1
100%

Артикул

Название

Примечание

Количество

HYDRAULIC LIFT, attachment (Factory application), Comprising

1шт.

1

704331R1

GEAR

PINION, hydraulic pump

1шт.

2

704330R91

HYDRAULIC PUMP

PUMP, hydraulic, cpte., (See detail list)

1шт.

179825

BOLT,Hex, 5/16" - 18 x 1 7/8", Gr 5

hex. hd., 5/16" x 2-1/2"

3шт.

179829

BOLT,Hex, 5/16" - 18 x 2 3/4", Gr 5

hex. hd., 5/16" x 2-5/8"

1шт.

3

704332R21

MANIFOLD

suction, cpte.

1шт.

4

704334R21

MANIFOLD

MONIFOLD, pressure, cpte.

1шт.

5

706405R1

CLAMP

CLMAP, hydraulic pipe

2шт.

179799

BOLT,Hex, 1/4" - 20 x 1 1/4", Gr 5

1шт.

109084

NUT,1/4"-20, G5

1шт.

103319

LOCK WASHER,1/4"

WASHER, LOCK, 1/4"

1шт.

6

705937

CLAMP, hose

2шт.

7

704741R1

HOSE,0.81" ID x 2.50"

Connecting, Suction Filter 0.81" ID x 2.50"

1шт.

8

704342R91

FILTER

suction, cpte.

1шт.

9

704348R1

O-RING,0.139" Thk x 1.687" ID, Cl 5

"O" RING, suction filter, or

1шт.

9

706087R1

O-RING

"O" RING, suction filter, or

1шт.

9

706088R1

O-RING

"O" RING, suction filter

1шт.

10

704625R3

GASKET

cotrol valve

1шт.

704754R1

O-RING,0.103" Thk x 0.487" ID, -112, Cl 7, 75 Duro

"O" RING, gasket, control vavle, or

1шт.

704755R1

GASKET

"O" RING, gasket, control valve, or

1шт.

704756R1

O-RING

"O" RING, gasket, control valve

1шт.

11

704624R93

VALVE, control, cpte., with lever (Note A) (See detail list)

1шт.

271566

SUPPORT,Hex, 5/8" - 11 x 3", Gr 5

hex. hd., 5/8" x 3"

1шт.

NLS

NO LONGER SERVICED

hex. hd., 5/8" x 2-1/2"

1шт.

326-1032

BOLT,Hex, 5/8" - 11 x 2", Gr 8

hex. hd., 5/8" x 1-7/8"

1шт.

114609

LOCK WASHER,Ext Tooth, 5/8"

WASHER, LOCK, Ext Tooth, 5/8"

3шт.

12

705232R1

QUADRANT, control lever

1шт.

179881

BOLT,1/2" - 13 x 1", Gr 5

2шт.

103323

LOCK WASHER,1/2"

WASHER, LOCK, 1/2"

2шт.

13

3040078R1

STRIP

quadrant, B-275/16889 up

1шт.

13

705224R2

STRIP, quadrant, Serial Range: Up-B-275/16888

1шт.

179835

BOLT,Hex, 3/8" - 16 x 5/8", Gr 5, Full Thd

2шт.

102635

NUT,3/8"-16, G5

2шт.

103321

LOCK WASHER,3/8"

WASHER, LOCK, 3/8"

2шт.

14

705223R1

STOP, lowering speed, Serial Range: Up-B-275/16888

1шт.

126032

WING NUT,3/8"-16

NUT, wing, type A, 3/8"

1шт.

15

704337R1

SEALING WASHER

WASHER, sealing,1/2" BSP

1шт.

16

704336R1

COUPLING, BREAK AWAY

COUPLING, (Body only) male, parallel, 1/2" O.D. x 1/2 BSP

1шт.

17

705519R1

RING

sealing, (Ermeto)

1шт.

18

705520R1

NUT,0.69" Length

(Ermeto)

1шт.

19

704740R2

BODY

by-pass filter

1шт.

705817R1

PIN, by-pass filter

1шт.

20

704348R1

O-RING,0.139" Thk x 1.687" ID, Cl 5

"O" RING, by-pass filter, or

1шт.

20

706087R1

O-RING

"O" RING, by-pass filter, or

1шт.

20

706088R1

O-RING

"O" RING, by-pass filter

1шт.

21

704353R91

FILTER

by-pass, assy.

1шт.

22

704739R1

SEAT, by-pass filter hold down spring

1шт.

23

704738R1

VALVE SPRING

SPRING, hold down, by-pass filter

1шт.

24

Q398

WASHER

plain, 11/32" I.D. x 7/8" O.D. x 16 ga.

1шт.

25

18575R1

BOLT, hex. hd., 5/16" UNF x 6-1/2"

1шт.

26

708177R1

PLATE, blanking, depth control

1шт.

179881

BOLT,1/2" - 13 x 1", Gr 5

3шт.

103323

LOCK WASHER,1/2"

WASHER, LOCK, 1/2"

3шт.

27

704381R1

GASKET

depth control blanking plate

1шт.

28

704341R1

O-RING

"O" RING, or

2шт.

28

706083R1

RING

"O" RING, or

2шт.

28

706084R1

O-RING

"O" RING

2шт.

29

708179R1

WASHER, blanking

2шт.

30

708178R1

ROD, tie

1шт.

102635

NUT,3/8"-16, G5

2шт.

103321

LOCK WASHER,3/8"

WASHER, LOCK, 3/8"

2шт.

Q1505

WASHER

plain, 13/32" I.D. x 1" O.D. x 16 ga.

2шт.

30a

708181R1

GASKET

2шт.

31

704274R21

HOUSING, hydraulic lift, cpte., w/two plugs 112428 and plug 103869

1шт.

179842

SPACER

BOLT, hex. hd., 3/8" x 1-3/8"

12шт.

103321

LOCK WASHER,3/8"

WASHER, LOCK, 3/8"

12шт.

32

217-442

PLUG,3/4" - 14

pipe, 3/4" NPT

1шт.

33

704339R1

GASKET

hydraulic lift housing cover plate

1шт.

34

704338R1

PLATE

hydraulic lift housing cover plate

1шт.

179814

SPACER

8шт.

103320

LOCK WASHER,5/16"

WASHER, LOCK, 5/16"

8шт.

112428

PLUG

cork, no. 0

2шт.

Выбрано товаров: 72