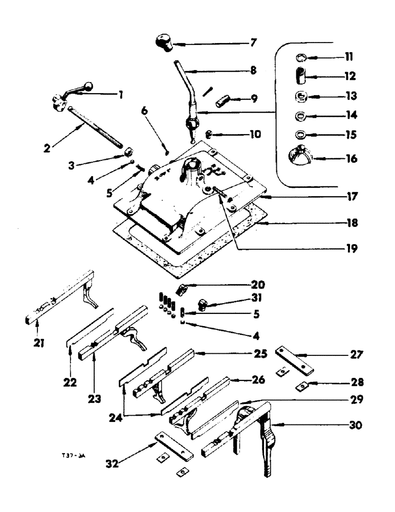
Запчасти Case IH B275 (078) - CHASSIS, GEAR SHIFTER MECHANISM AND TRANSMISSION CASE COVER, FRONT (12) - CHASSIS

Схема запчастей Case IH B275 - (078) - CHASSIS, GEAR SHIFTER MECHANISM AND TRANSMISSION CASE COVER, FRONT (12) - CHASSIS
5
8
22
4
13
21
6
16
1
20
11
27
24
19
32
12
18
17
15
14
7
23
31
3
2
25
4
28
26
5
30
10
29
9
FIT
1:1
100%

Артикул

Название

Примечание

Количество

1

751089R2

HANDLE

shifter, high low range

1шт.

147521

SPARE PART

PIN, groove, type 1, 1/4" x 1-1/4"

1шт.

2

751088R1

SHAFT

shifter, high low range

1шт.

3

751086R91

SEAL ASSY.

OIL SEAL, high low range shifter shaft, or

1шт.

751087R91

SEAL

OIL SEAL, high low range shifter shaft

1шт.

4

16013R1

BALL

steel, (13/32" dia., chrome grade 2)

6шт.

5

711283R1

SPRING

gear shifter poppet

6шт.

6

172529

PLUG

expansion, gear shifter lever swivel shaft, small

2шт.

7

53717DA

BUTTON

BALL, gear shifter lever

1шт.

8

704041R91

LEVER

gear shifter, cpte.

1шт.

9

705650R1

SHAFT

swivel, gear shifter lever, large

1шт.

10

217-442

PLUG,3/4" - 14

pipe, 3/4"

1шт.

11

710953R1

STOP

spring, gear shifter lever

1шт.

12

29547D

SPRING

gear shifter lever

1шт.

13

34880D

RETAINER

felt washer, gear shifter lever

1шт.

14

34879D

WASHER

felt, gear shifter lever

1шт.

15

615190R1

WASHER

plain, 29/32" I.D. x 1-3/8" O.D. x 18 ga.

1шт.

16

712626R1

SHIELD

gear shifter swivel housing

1шт.

17

3044047R1

COVER

transmission case - front (Also order bracket 3044010R1)

1шт.

NLS

NO LONGER SERVICED

8шт.

103321

LOCK WASHER,3/8"

WASHER, LOCK, 3/8"

8шт.

18

703969R1

GASKET

transmission case cover - front

1шт.

19

34878D

SHAFT

swivel, gear shifter lever, small

1шт.

20

751090R2

CAM

high range shifter

1шт.

142359

GROOVED PIN

PIN, groove, type 1, 3/16" x 1"

1шт.

21

751094R11

SHIFTER FORK

FORK, high speed shifter, cpte.

1шт.

22

705926R1

GUIDE

gear shifter rail, L.H.

1шт.

23

751100R11

SHIFTER FORK

FORK, 4th speed gear shifter, cpte.

1шт.

24

704038R1

GUIDE

gear shifter rail, inner

2шт.

25

751104R91

SHIFTER FORK

FORK, 2nd and 3rd speed gear shifter, cpte.

1шт.

26

751101R21

SHIFTER FORK

FORK, 1st and reverse speed gear shifter, cpte.

1шт.

27

751085R1

BRACKET

gear shifter fork and guide (Front)

1шт.

179837

BOLT,Hex, 3/8" - 16 x 3/4", Gr 5

2шт.

28

59473D

LOCK

bolt, gear shifter rail guide

4шт.

29

704039R2

GUIDE

gear shifter rail, R.H.

1шт.

30

751096R11

FORK, low speed shifter, cpte., Serial Range: Up-B275/15214

1шт.

30

3040867R11

SHIFTER FORK

FORK, low speed shifter, cpte., B-275/15215 up

1шт.

751762R1

PLATE, baffle

1шт.

31

751851R1

CAM

low speed gear shifter

1шт.

142359

GROOVED PIN

PIN, groove, type1, 3/16" x 1"

1шт.

32

3044010R1

GUIDE

BRACKET, gear shifter fork and guide (Rear)

1шт.

179837

BOLT,Hex, 3/8" - 16 x 3/4", Gr 5

2шт.

Выбрано товаров: 0