Запчасти Case IH B414 (145) - DRAWBARS AND HITCHES, ADJUSTABLE HORIZONTAL STABILIZER, TRACTORS W/ THREE POINT HITCH Drawbar & Hitches

Схема запчастей Case IH B414 - (145) - DRAWBARS AND HITCHES, ADJUSTABLE HORIZONTAL STABILIZER, TRACTORS W/ THREE POINT HITCH Drawbar & Hitches
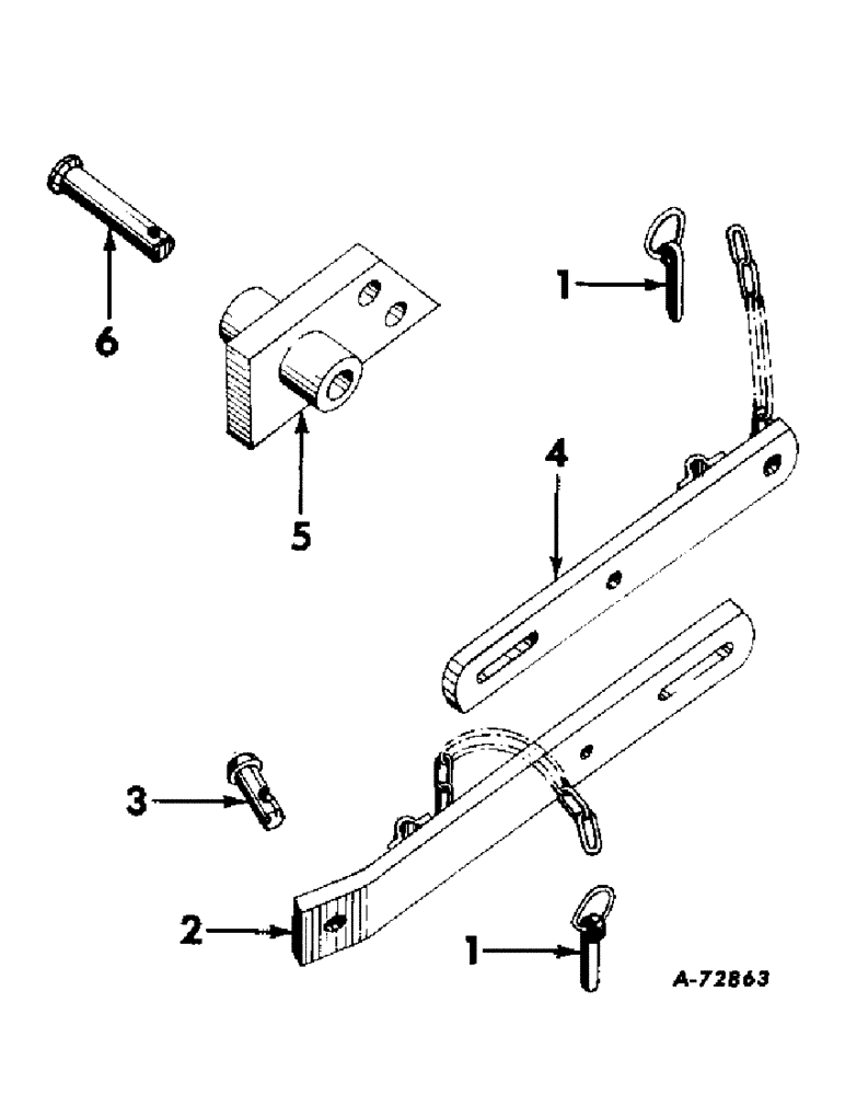
4
2
5
3
6
1
1
FIT
1:1
100%

Артикул

Название

Примечание

Количество

381213R91

PARTS ACCESSORY, ADJUSTABLE HORIZONTAL STABILIZER

1шт.

1

517758R91

SPLIT PIN/SAFETY PIN

PIN ASSY, IMPLEMENT

4шт.

2

707069R12

ADJUSTER

ASSY, CHECK LINK OUTER

2шт.

102637

NUT,1/2"-13, G5

4шт.

17473R1

BOLT,Hex, 1/2" - 13 x 1 1/2", Gr 2

SCREW, 1/2-13 x 1-1/2 HEX-HD CAP

4шт.

80679

LOCK WASHER,1/20.507 CST ZND

WASHER, LOCK, 1/2"

4шт.

395-11053

WASHER,0.53" ID x 1.06" OD x 0.1" Thk

17/32 x 1-1/16 x .095

4шт.

3

707072R1

PIN

CHECK LINK ATTACHING

2шт.

4

707068R12

ADJUSTER

ASSY, CHECK LINK INNER

2шт.

5

388452R91

BRACKET ASSY, RH CHECK LINK

1шт.

5

3044312R91

BRACKET

ASSY, LH CHECK LINK

1шт.

271560

PANEL,Hex, 5/8" - 11 x 1 3/4", Gr 5

4шт.

102639

NUT,5/8"-11, G5

4шт.

6

3044315R1

PIN

CHECK LINK BRACKET

2шт.

Выбрано товаров: 14