Запчасти Case IH B414 (034) - FUEL SYSTEM, FUEL FEED PUMP, DIESEL ENGINE TRACTORS (02) - FUEL SYSTEM

Схема запчастей Case IH B414 - (034) - FUEL SYSTEM, FUEL FEED PUMP, DIESEL ENGINE TRACTORS (02) - FUEL SYSTEM
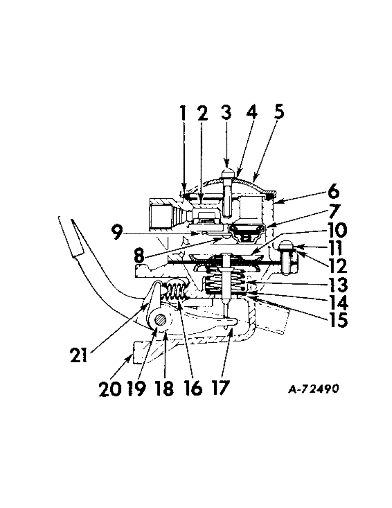
6
15
14
9
11
19
12
17
3
8
18
4
2
7
21
13
1
5
16
10
20
FIT
1:1
100%

Артикул

Название

Примечание

Количество

708294R92

FEED PUMP

PUMP ASSY, FUEL FEED

1шт.

3063872R1

BOLT

SCREW, FUEL FEED PUMP

2шт.

1

3044518R1

GASKET

1шт.

2

3044513R1

FILTER SCREEN

SCREEN

1шт.

3

702953R1

SCREW

FILTER COVER

1шт.

4

3044511R1

GASKET

FILTER COVER SCREW

1шт.

5

3044512R1

COVER

FILTER

1шт.

6

3044514R1

COVER

1шт.

7

702959R91

VALVE

ASSY

2шт.

8

702961R1

SCREW

2шт.

9

702960R1

RETAINER

VALVE

1шт.

10

3066607R91

DIAPHRAGM

ASSY

1шт.

11

132117

CLAMP

SCREW, NO. 10-32 x 1/2 SLT-FIL HD MACH

5шт.

12

114648

WASHER, SPRING

5шт.

13

708954R1

SPRING

DIAPHRAGM

1шт.

14

708958R1

WASHER

OIL SEAL

1шт.

15

708959R1

WASHER

1шт.

16

708956R1

SPRING

ROCKER ARM

1шт.

17

703963R1

LINK

1шт.

18

708957R1

WASHER

ROCKER ARM PIN

2шт.

19

3044515R1

PIN

ROCKER ARM

1шт.

20

3044519R91

COVER ASSY

BODY ASSY, PUMP

1шт.

21

3044517R1

ARM

ROCKER

1шт.

3043370R1

GASKET

FUEL FEED PUMP

1шт.

3061658R1

GASKET

FUEL FEED PUMP, USED IN CONJUNCTION WITH GASKET, 3043370R1 FOR MORE EFFECTIVE SEALING

1шт.

3044516R1

RETAINER

ROCKER ARM PIN

2шт.

3044458R1

PRIMER PAINT

SET, PRIMER PARTS

1шт.

3044520R1

SPRING

PRIMING LEVER

1шт.

3066610R91

REPAIR KIT

KIT, REPAIR, LESS ROCKER ARM

1шт.

Выбрано товаров: 29