Запчасти Case IH B414 (038) - FUEL SYSTEM, FUEL TANK AND SUPPORTS, DIESEL ENGINE TRACTORS (02) - FUEL SYSTEM

Схема запчастей Case IH B414 - (038) - FUEL SYSTEM, FUEL TANK AND SUPPORTS, DIESEL ENGINE TRACTORS (02) - FUEL SYSTEM
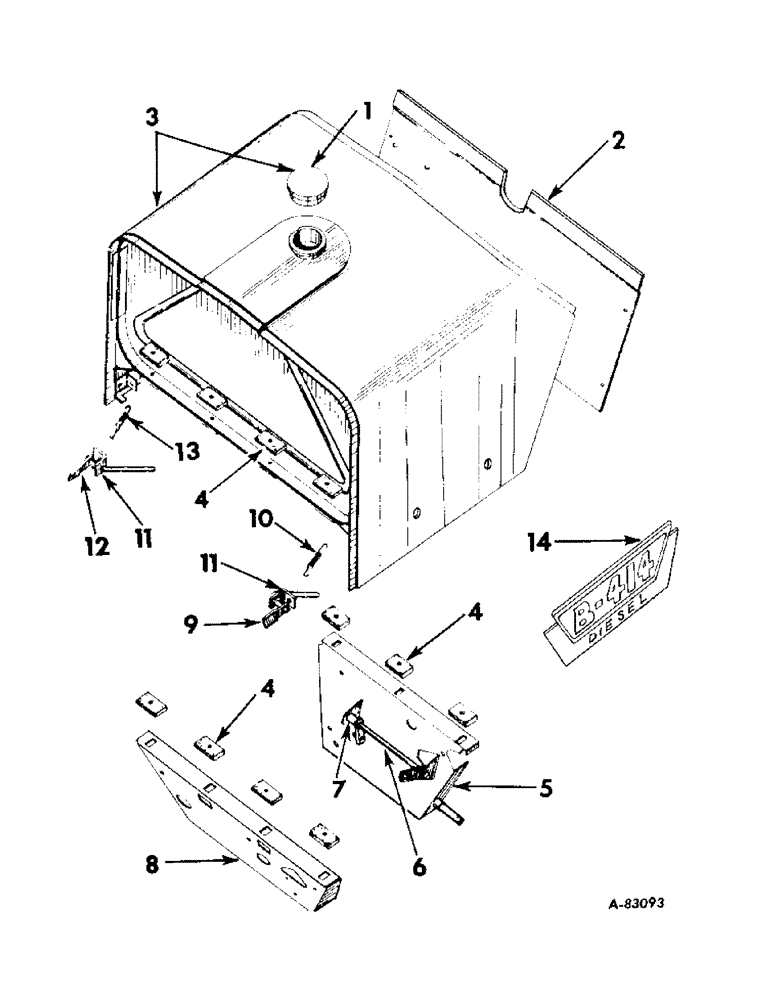
3
4
4
1
8
12
10
13
5
9
14
11
6
4
2
7
11
FIT
1:1
100%

Артикул

Название

Примечание

Количество

1

707822R93

FILLER CAP

CAP ASSY, FUEL TANK

1шт.

3041388R1

GASKET

FUEL TANK CAP

1шт.

2

3066668R11

PANEL ASSY, SCUTTLE

1шт.

704445R1

NUT

1/4 BSW SPIRE SPEED

4шт.

704444R2

SCREW

1/4 BSW x 1/2 RD-HD

4шт.

3

3049011R91

FUEL TANK W/CAP ASSY

1шт.

3044455R1

NUT

FUEL TANK

7шт.

179800

BOLT,Hex, 1/4" - 20 x 1 3/8", Gr 5

7шт.

706281R1

WASHER, HOLD DOWN BOLT LOCK

7шт.

4

704520R2

PAD

RUBBER SUPPORT FUEL TANK

14шт.

5

708319R41

SUPPORT ASSY, REAR SCUTTLE, Serial Range: -B-414/40440

1шт.

5

3066384R11

SUPPORT ASSY, REAR SCUTTLE, Start Serial: B-414/40441

1шт.

179857

BOLT,Hex, 7/16" - 14 x 7/8", Gr 5

SCREW, 7/16-14 x 7/8 HEX-HD CAP

2шт.

103322

LOCK WASHER,7/16"

WASHER, LOCK, 7/16"

2шт.

6

706207R93

SHAFT

CROSS CONTROL GOVERNOR, Serial Range: -B-414/40440

1шт.

6

3044060R92

SHAFT, CROSS CONTROL GOVERNOR, Start Serial: B-414/40441

1шт.

7

703952R2

SPACER

REAR SCUTTLE CROSS SHAFT

1шт.

8

3043887R93

SUPPORT ASSY, FRONT SCUTTLE

1шт.

179857

BOLT,Hex, 7/16" - 14 x 7/8", Gr 5

SCREW, 7/16-14 x 7/8 HEX-HD CAP

2шт.

103322

LOCK WASHER,7/16"

WASHER, LOCK, 7/16"

2шт.

9

704522R13

LATCH

ASSY, LH HOOD

1шт.

3069714R1

CLIP, SPRING SPACER, USE ONLY WITH 704523R13

1шт.

107761

COTTER PIN,1/16" x 5/8"

Pin, Split (Cotter), 1/16" x 5/8"

1шт.

Q397

WASHER

11/32 x 3/4 x 16 GA

1шт.

10

704526R1

SPRING

LH HOOD LATCH

1шт.

11

704525R1

BRACKET, HOOD LATCH

2шт.

109084

NUT,1/4"-20, G5

2шт.

113956

WASHER,Slotted Rd Hd, 1/4"-20 x 5/8"

1/4-20 x 5/8 SLT-HD MACH

2шт.

103319

LOCK WASHER,1/4"

WASHER, LOCK, 1/4"

2шт.

12

704523R13

LATCH

ASSY, RH HOOD

1шт.

3069714R1

CLIP, SPRING SPACER, USE ONLY WITH 704523R13

1шт.

107761

COTTER PIN,1/16" x 5/8"

Pin, Split (Cotter), 1/16" x 5/8"

1шт.

Q397

WASHER

11/32 x 3/4 x 16 GA

1шт.

13

705591R1

SPRING

RH HOOD LATCH

1шт.

14

379592R1

PLATE, MODEL SYMBOL

2шт.

370786R1

FASTENER

TUBULAR CLIP

4шт.

Выбрано товаров: 36