Запчасти Case IH B414 (063) - ELECTRICAL SYSTEM, STARTING AND LIGHTING, DIESEL ENGINE TRACTORS (06) - ELECTRICAL SYSTEMS

Схема запчастей Case IH B414 - (063) - ELECTRICAL SYSTEM, STARTING AND LIGHTING, DIESEL ENGINE TRACTORS (06) - ELECTRICAL SYSTEMS
6
4
23
39
14
22
20
40
31
9
47
38
30
5
36
10
3
46
3
24
25
2
32
12
43
27
45
16
11
15
21
26
17
42
36
1
41
29
19
33
44
28
8
2
18
7
26
13
4
37
34
35
FIT
1:1
100%

Артикул

Название

Примечание

Количество

3043900R92

HARNESS

MAIN CABLE, CONSISTS OF REF. NOS. 1 - 18, Serial Range: -B-414/43959

1шт.

3063982R91

HARNESS

MAIN CABLE, CONSISTS OF REF. NOS. 1 - 18, Start Serial: B-414/43960

1шт.

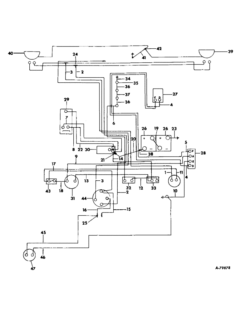
1

CABLE, FOR PUSH BUTTON TO HORN, BROWN/BLACK

1шт.

2

CABLE, LIGHT SWITCH TERMINAL, 3 TO HEADLIGHT, BLUE/WHITE

1шт.

3

CABLE, LIGHT SWITCH TERMINAL, 4 TO HEADLIGHT, BLUE/YELLOW

1шт.

4

CABLE, REGULATOR D-TERMINAL TO GENERATOR D-TERMINAL, YELLOW

1шт.

5

CABLE, REGULATOR F-TERMINAL TO GENERATOR F-TERMINAL, YELLOW/GREEN

1шт.

6

CABLE, GLOW PLUG INDICATOR TO NO. 4 GLOW PLUG, BROWN/GREEN SLEEVE

1шт.

7

CABLE, SOLENOID SWITCH TO MANUAL STARTING SWITCH, RED/GREEN SLEEVE

1шт.

8

CABLE, SOLENOID SWITCH COIL TERMINAL TO MANUAL STARTING, RED/BLACK

1шт.

9

CABLE, REGULATOR A-TERMINAL TO AMMETER TERMINAL, BROWN/WHITE

1шт.

10

CABLE, REGULATOR E-TERMINAL TO GROUND, BLACK

1шт.

11

CABLE, FUSE HOUSING TO HORN PUSH BUTTON TERMINAL, BROWN/BLACK

1шт.

12

CABLE, GLOW PLUG SWITCH TO GLOW PLUG INDICATOR, BROWN/YELLOW SLEEVE

1шт.

13

CABLE, GLOW PLUG SWITCH TO AMMETER TERMINAL, BROWN/GREEN

1шт.

14

CABLE, SOLENOID SWITCH TO GLOW PLUG SWITCH, BROWN/RED SLEEVE

1шт.

15

CABLE, LIGHT SWITCH TERMINAL-1 TO PLOW LIGHT, RED/WHITE

1шт.

16

CABLE, LIGHT SWITCH TERMINAL-2 TO SIDE LIGHT AND TAIL LIGHT, RED

1шт.

17

CABLE, LIGHT SWITCH TERMINAL-1 TO FUSE HOUSING, WHITE

1шт.

18

CABLE, AMMETER TO FUSE HOUSING, BROWN/BLUE

1шт.

19

3043901R91

CABLE

BATTERY TO BATTERY, BLACK, Serial Range: -B-414/10597

1шт.

20

3043902R91

CABLE

BATTERY TO SOLENOID, BLACK

1шт.

21

706610R1

COVER, BATTERY TO SOLENOID SWITCH CABLE

1шт.

22

3043904R91

CABLE

SOLENOID SWITCH TO CRANKING MOTOR, BLACK

1шт.

23

702399R2

STRAP, BATTERY TO GROUND, COPPER

1шт.

24

705896R1

CONNECTOR, ELEC

CONNECTOR, TWO-WAY

1шт.

25

705897R1

CONNECTOR, ELEC

CONNECTOR, ONE-WAY

1шт.

26

370405R91

DRY BATTERY

AUTO-LITE 1HR-115R2, 6 VOLT, Serial Range: -B-414/10596

2шт.

26

380506R91

BATTERY, AUTO-LITE 14H-96, 12 VOLT, Start Serial: B-414/10597

1шт.

27

700725R92

GENERATOR

ASSY, 12 VOLT, FOR COMPONENTS SEE LIST OF PARTS UNDER DETAILS OF GENERATOR, Serial Range: -B-414/13736

1шт.

27

3049871R91

GENERATOR

ASSY, 12 VOLT, FOR COMPONENTS SEE LIST OF PARTS UNDER DETAILS OF GENERATOR, Start Serial: B-414/13737

1шт.

3040295R1

BOOT, D-TERMINAL

1шт.

3040296R1

BOOT, F-TERMINAL

1шт.

28

708969R92

REGULATOR

ASSY, VOLTAGE, 12 VOLT, FOR COMPONENTS SEE LIST OF PARTS UNDER DETAILS OF VOLTAGE REGULATOR, Serial Range: -B-414/19473

1шт.

28

3064234R91

GOVERNOR

REGULATOR ASSY, VOLTAGE, 12 VOLT, FOR COMPONENTS SEE LIST OF PARTS UNDER DETAILS OF VOLTAGE REGULATOR, Start Serial: B-414/19474

1шт.

29

704447R94

MOTOR

CRANKING, 12 VOLT, FOR COMPONENTS SEE LIST OF PARTS UNDER DETAILS OF CRANKING MOTOR

1шт.

30

704668R94

SWITCH

CRANKING MOTOR SOLENOID, 12 VOLT, REFER TO ENGINE CONTROLS, INSTRUMENTS, AND INSTRUMENT PANEL

1шт.

31

708109R92

NO LONGER SERVICED

AMMETER ASSY, REFER TO ENGINE CONTROLS, INSTRUMENTS AND INSTRUMENT PANEL

1шт.

32

706685R92

RESISTOR

ASSY, REFER TO ENGINE CONTROLS, INSTRUMENTS, AND INSTRUMENT PANEL

1шт.

33

3063978R91

SWITCH

ASSY, GLOW PLUG, REFER TO ENGINE CONTROLS, INSTRUMENTS AND INSTRUMENT PANEL

1шт.

34

3065071R2

FASTENER

WIRE, CONNECTING, GLOW PLUG NO. 1 TO GROUND

1шт.

35

AG28

GLOW PLUG

PLUG, GLOW

4шт.

36

703898R1

ELECTRICAL WIRE

WIRE, CONNECTING, GLOW PLUG NO. 1 TO NO. 2 AND GLOW PLUG NO. 3 TO NO. 4

2шт.

37

703899R1

SPRING

WIRE, CONNECTING, GLOW PLUG NO. 2 TO NO. 3

1шт.

38

3043903R1

GROMMET, BATTERY CABLE

1шт.

39

707891R91

LAMP BASE

HEADLIGHT, RH, 12 VOLT, FOR COMPONENTS SEE LIST OF PARTS UNDER DETAILS OF HEADLIGHT, Serial Range: -B-414/25082

1шт.

39

3065300R91

LAMP BASE

HEADLIGHT, RH, 12 VOLT, FOR COMPONENTS SEE LIST OF PARTS UNDER DETAILS OF HEADLIGHT, Start Serial: B-414/25083

1шт.

114498

JAM NUT,Jam, 5/8"-18, G5

1шт.

115553

LOCK WASHER,Int Tooth, 5/8"

WASHER, LOCK, Int Tooth, 5/8"

1шт.

40

707890R91

HEADLAMP

HEAD LIGHT, LH, 12 VOLT, FOR COMPONENTS SEE LIST OF PARTS UNDER DETAILS OF HEADLIGHT, Serial Range: -B-414/25082

1шт.

40

3065302R91

LAMP

HEADLIGHT, LH, 12 VOLT, FOR COMPONENTS SEE LIST OF PARTS UNDER DETAILS OF HEADLIGHT, Start Serial: B-414/25083

1шт.

114498

JAM NUT,Jam, 5/8"-18, G5

1шт.

115553

LOCK WASHER,Int Tooth, 5/8"

WASHER, LOCK, Int Tooth, 5/8"

1шт.

41

706130R1

CABLE, HEADLIGHT TO GROUND

1шт.

42

705896R1

CONNECTOR, ELEC

CONNECTOR, TWO-WAY

1шт.

43

707481R92

HOLDER

HOUSING, FUSE, REFER TO ENGINE CONTROLS, INSTRUMENTS AND INSTRUMENT PANEL

1шт.

455844

FUSE,25 Amp, Type 3AG

25 AMP

1шт.

44

709489R92

LIGHT SWITCH

SWITCH, LIGHTING, REFER TO ENGINE CONTROLS, INSTRUMENTS AND INSTRUMENT PANEL

1шт.

3068246R91

CABLE, MAIN HARNESS LH SIDE AND REAR LIGHT, CONSISTS OF REF 45 AND 46

1шт.

45

CABLE, LIGHT SWITCH TO SIDE LIGHT AND TAIL LIGHT, RED

1шт.

46

CABLE, TAIL LIGHT TO GROUND, BLACK

1шт.

47

708348R91

LIGHT ASSY.

LIGHT, COMBINATION SIDE LIGHT AND TAIL, 12 VOLT, FOR COMPONENTS SEE LIST OF PARTS UNDER DETAILS OF SIDE AND REAR LIGHT, BUTLERS

1шт.

47

705267R92

INTERIOR LIGHT

LIGHT, COMBINATION SIDE LIGHT AND TAIL, 12 VOLT, FOR COMPONENTS SEE LIST OF PARTS UNDER DETAILS OF SIDE AND REAR LIGHT, LUCAS

1шт.

Выбрано товаров: 63