Запчасти Case IH C55 (05-03[02]) - STEERING + PIPES SCREWED - PIPE UNION / 4WD (05) - STEERING

Схема запчастей Case IH C55 - (05-03[02]) - STEERING + PIPES SCREWED - PIPE UNION / 4WD (05) - STEERING
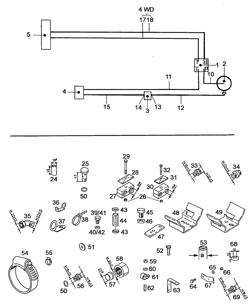
54
49
30
4
61
11
68
41
48
67
36
38
51
50
65
5
47
18
14
34
12
26
17
1
43
46
27
2
40
25
58
57
63
64
55
53
31
62
10
66
42
3
43
33
44
15
29
45
69
13
37
32
60
39
35
28
59
24
50
52
56
FIT
1:1
100%

Артикул

Название

Примечание

Количество

1

LENKUNG KPL/STEERING ASSY/DIRECTION ASSY/STYRING KOMPLET/STERZO COMPLETA - Siehe nächste Seite(n)/See next page(s)/Voir page(s) suivante(s)/Se næste side(r)/Vedere pagin(a/e) seguent(e/i)

1шт.

2

1-33-147-204

OIL RESERVOIR

Ersetzt/Replaces/Remplace/Udskiftet/Sostituisce 1-33-147-062

1шт.

3

PUMPE, HYDRAULIK/PUMP, HYDRAULIC/POMPE HYDRAULIQUE/HYDRAULIKPUMPE/POMPA IDRAULICA - Siehe Kapitel 02/See chapter 02/Voir chapitre 02/Se kapitel 02/Vedere capitolo 02

1шт.

4

169100470033

OIL RESERVOIR

Siehe nächste Seite(n)/See next page(s)/Voir page(s) suivante(s)/Se næste side(r)/Vedere pagin(a/e) seguent(e/i)

1шт.

5

1-33-747-002

STEERING CYLINDER

Siehe nächste Seite(n)/See next page(s)/Voir page(s) suivante(s)/Se næste side(r)/Vedere pagin(a/e) seguent(e/i)

1шт.

10

1-33-147-075

HYDRAULIC HOSE

Länge/Length/Longuer/Længde/Lunghezza 1450mm

1шт.

11

1-33-147-040

HOSE

Länge/Length/Longuer/Længde/Lunghezza 1300mm

1шт.

12

1-33-147-134

PRESSURE PIPE

Für/For/Pour/Til/Per C55A

1шт.

12

1-33-147-133

PRESSURE PIPE

Für/For/Pour/Til/Per C64A, C70A

1шт.

13

FLANSCH/FLANGE/FLASQUE/FLANGE/FLANGIA - Siehe Kapitel 02/See chapter 02/Voir chapitre 02/Se kapitel 02/Vedere capitolo 02

1шт.

14

FLANSCH/FLANGE/FLASQUE/FLANGE/FLANGIA - Siehe Kapitel 02/See chapter 02/Voir chapitre 02/Se kapitel 02/Vedere capitolo 02

1шт.

15

1-33-147-067

HYD TUBE

1шт.

17

1-33-147-038

HYDRAULIC HOSE

Länge/Length/Longuer/Længde/Lunghezza 1450mm

1шт.

18

1-33-147-037

HYDRAULIC HOSE

Länge/Length/Longuer/Længde/Lunghezza 2030mm

1шт.

24

1-99-942-021

TUBE SPACER

1шт.

25

190003962633

BANJO BOLT

15-S

1шт.

26

43362

NUT,M8 x 1.25, Cl 10

2шт.

27

1-33-147-035

CLAMP

2шт.

28

1-33-147-036

COVER

1шт.

29

190003800458

SCREW,Hex, M8 x 70mm, Cl 8.8

M8x70-8.8

1шт.

30

1-33-147-033

CLAMP

2шт.

31

1-33-147-034

COVER

2шт.

32

190003800459

SCREW,Hex, M8 x 50mm, Cl 8.8

M8x50-8.8

1шт.

33

190003551203

HYD CONNECTOR

L15

1шт.

34

190003559968

HYD CONNECTOR

L15-ST-A3C

1шт.

35

190003559493

HYD CONNECTOR

L15

2шт.

36

133700272125

HOLDER

1шт.

37

135700730034

SUPPORT

2шт.

38

190003170283

HOSE CLIP

A8x280 / K04

1шт.

38

190003171697

COLLAR

A5x180 / K02

3шт.

39

190003802506

SCREW,Hex, M10 x 16mm, Cl 8.8

M10x16-8.8

1шт.

40

190003937285

DISC

1шт.

41

43151

BOLT,Hex, M12 x 20mm, Cl 8.8, Full Thd

1шт.

42

190003930282

DISC

A13

1шт.

43

190003989340

CLAMP

22/29

2шт.

44

161460110063

LARGE HOSE

HOSE,LARGE

1шт.

45

190003802709

SCREW,Hex, M14 x 20mm, Cl 8.8

M14x20-8.8

1шт.

46

190003871532

NUT

M14-05-A3C

1шт.

47

1-33-147-031

BRACKET

2шт.

48

1-33-147-029

BAIL

----> .....

1шт.

49

1-33-147-086

BAIL

..... ---->

1шт.

50

190003098021

SEAL

A18x24-CU - ----> .....

4шт.

51

190003936103

WASHER

8,4-140HV-A3C-DIN9021

1шт.

52

43128

BOLT,M8 x 1.25 x 30mm, Cl 8.8

2шт.

52

190003802451

SCREW,Hex, M8 x 50mm, Cl 8.8

M8x50-8.8

2шт.

53

133700470139

O-RING

a = 23

1шт.

53

133700472001

BACK-UP RING

18x25; 7

1шт.

54

190003989318

HOSE CLAMP

105/127

1шт.

55

190003989336

HOSE CLIP

16/22

1шт.

56

1-33-147-054

FITTING

----> .....

1шт.

57

190003559567

OLIVE

L22

1шт.

58

190003559510

TUBE NUT

A L22

1шт.

59

43362

NUT,M8 x 1.25, Cl 10

1шт.

60

190003930261

WASHER

A8,4

1шт.

61

1609E110049

CLAMP

1шт.

62

190003812420

STUD

M8x20-8.8-A2C

1шт.

63

159000360158

ANGLE

1шт.

64

86508568

BOLT,Hex, M6 x 1 x 16mm, Cl 8.8

1шт.

65

190003937276

WASHER

1шт.

66

15896221

NUT,Hex, M6, 5.20mm High, Cl 10

1шт.

67

138091360181

CLAMP

1шт.

68

1586230019

ROLLER

3шт.

69

1-33-147-207

HYD CONNECTOR

..... ---->

1шт.

Выбрано товаров: 63