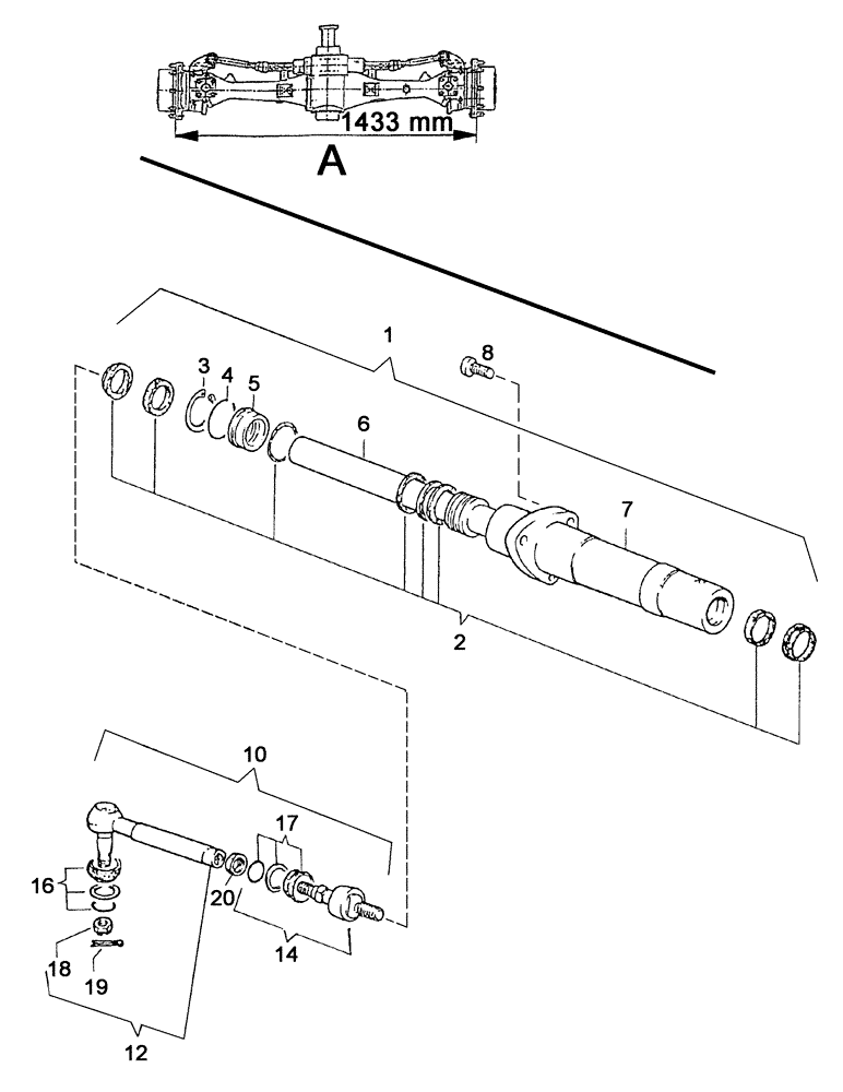
Запчасти Case IH C55 (05-14[01]) - STEERING TIE ROD/STEERING CYLINDER - M.F.D. (05) - STEERING

Схема запчастей Case IH C55 - (05-14[01]) - STEERING TIE ROD/STEERING CYLINDER - M.F.D. (05) - STEERING
1
6
18
7
8
19
16
20
2
4
17
10
5
3
12
14
FIT
1:1
100%

Артикул

Название

Примечание

Количество

1

1-33-747-002

STEERING CYLINDER

Besteht aus/Consists of/Compose de/Bestående af/È composto da 2 - 7

1шт.

2

1-33-747-001

GASKET KIT

1шт.

3

1-33-747-005

CIRCLIP

1шт.

4

1-33-747-006

LOCKING RING

1шт.

5

1-33-747-007

SLEEVE

1шт.

6

1-33-747-003

PISTON ROD

1шт.

7

1-33-747-004

CYLINDER

1шт.

8

135700421064

SCREW

3шт.

10

1-33-743-001

TIE-ROD

TIE ROD , Besteht aus/Consists of/Compose de/Bestående af/È composto da 12, 14

2шт.

12

1-33-743-002

BALL JOINT

Einschließlich/Includes/Avec/Inklusive/Compreso 16, 18, 19

2шт.

14

1-33-743-003

JOINT

Einschließlich/Includes/Avec/Inklusive/Compreso 17

2шт.

16

1-33-743-007

GASKET KIT

2шт.

17

1-33-743-008

BELLOWS

2шт.

18

190003872359

NUT

M20x1,5

2шт.

19

190003920361

PIN, SPLIT (COTTER)

PIN, COTTER , 4x40

2шт.

20

1-33-743-004

NUT

2шт.

Выбрано товаров: 16