Запчасти Case IH C55 (06-05[01]) - P.T.O. CONTROL, ECO (06) - POWER TRAIN

Схема запчастей Case IH C55 - (06-05[01]) - P.T.O. CONTROL, ECO (06) - POWER TRAIN
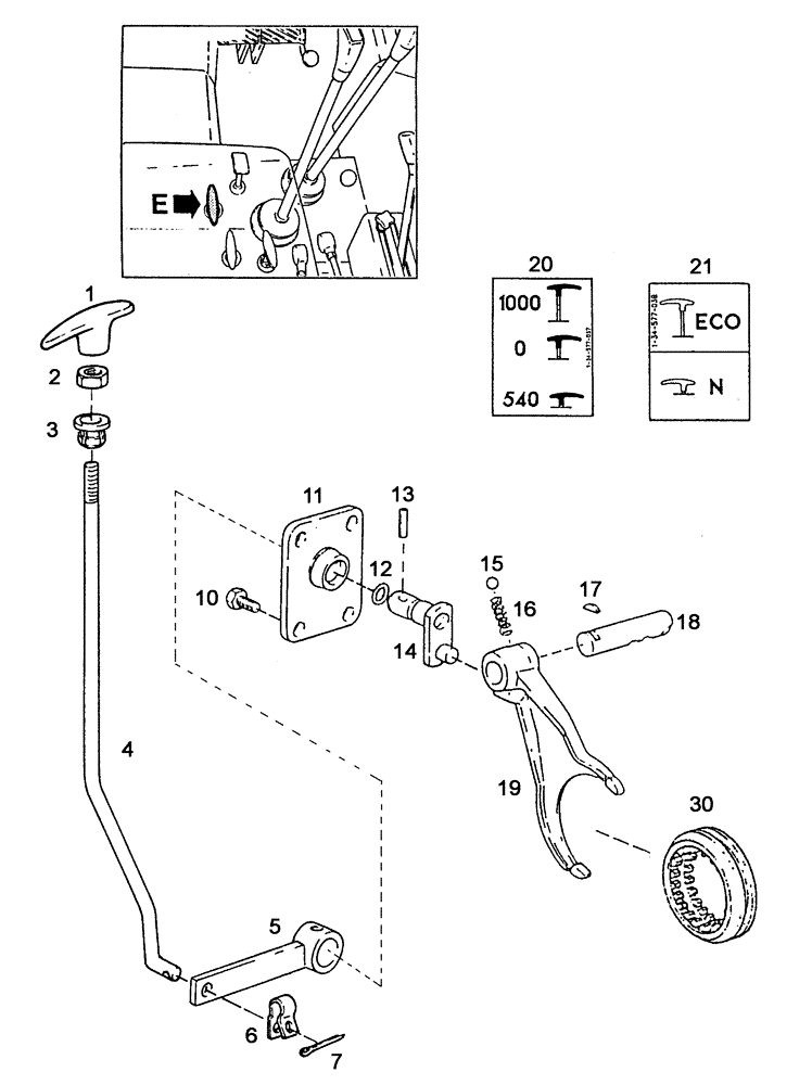
1
6
17
16
2
3
14
11
4
10
5
30
21
12
7
15
20
13
18
19
FIT
1:1
100%

Артикул

Название

Примечание

Количество

1

133700272054

HANDLE

M8

1шт.

2

43362

NUT,M8 x 1.25, Cl 10

1шт.

3

137700750100

BUSHING

1шт.

4

1-34-544-231

DRAWBAR

1шт.

5

1-34-544-517

LEVER

1шт.

6

1397750128

SPRING

1шт.

7

190003920211

PIN, SPLIT (COTTER)

PIN, COTTER , 3,2x14

1шт.

10

9706687

BOLT,M12 x 1.75 x 30mm, Cl 8.8

2шт.

11

133700210037

COVER

1шт.

12

1406070015

O-RING

1шт.

13

190003909653

COTTER PIN

8x36

1шт.

14

133700280008

FINGER

1шт.

15

190003330148

BALL

Ø 8,0mm

1шт.

16

1206240018

COMPRESSION SPRING

1шт.

17

190003960802

WOODRUFF KEY

3x6,5

1шт.

18

133700270320

SHAFT

1шт.

19

133700270319

SHIFTER FORK

1шт.

20

1-34-577-037

DECAL

1шт.

21

1-34-577-038

DECAL

1шт.

30

MUFFE/SLEEVE, TRANSMISSION/MANCHON/MUFFE/MANICOTTO - Siehe Zapfwelle/See power-take-off/Voir prise de force/Se kraftudtag/Vedere presa di forza

1шт.

Выбрано товаров: 20