Запчасти Case IH C55 (06-23[01]) - PRESELECTION GROUP, SYNCHRONIZED (06) - POWER TRAIN

Схема запчастей Case IH C55 - (06-23[01]) - PRESELECTION GROUP, SYNCHRONIZED (06) - POWER TRAIN
4
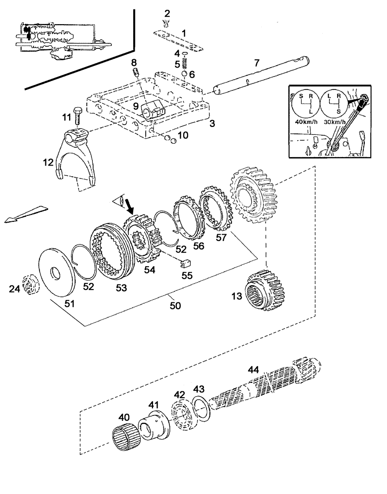
11
1
56
13
57
7
41
6
9
42
51
55
5
12
44
50
2
10
53
54
24
8
52
52
43
40
3
FIT
1:1
100%

Артикул

Название

Примечание

Количество

1

1292240041

PANEL

Siehe nächste Seite(n)/See next page(s)/Voir page(s) suivante(s)/Se næste side(r)/Vedere pagin(a/e) seguent(e/i)

1шт.

2

190003862016

SCREW,M8 x 16mm, Cl 10.9

M8x16-10.9

2шт.

3

133700240048

FRAME

Siehe nächste Seite(n)/See next page(s)/Voir page(s) suivante(s)/Se næste side(r)/Vedere pagin(a/e) seguent(e/i)

1шт.

4

11800240023

SPRING

1шт.

5

11800240023

SPRING

1шт.

6

190003330183

BALL

Ø10mm

3шт.

7

133700240118

ROD

1шт.

8

190003902746

SCREW,Set, M10 x 16mm

M10x16

2шт.

9

133700240053

DRIVE DOG

1шт.

10

190003330183

BALL

Ø10mm

3шт.

11

43127

BOLT,Hex, M8 x 1.25 x 25mm, Cl 8.8

2шт.

12

133700240115

SHIFTER FORK

1шт.

13

133700220110

GEAR

31T, Ausführung/Version/Version/Type/Versione 30km/h

1шт.

13

133700220330

GEAR

37T, Ausführung/Version/Version/Type/Versione 40km/h

1шт.

24

1192220050

NUT

Siehe Seite(n) vorne/See page(s) before/Voir page(s) avant(es)/Se side(r) forrest/Vedere pagin(a/e) precedent(e/i)

1шт.

33

133700220304

GEAR

37T, Ausführung/Version/Version/Type/Versione 30km/h

1шт.

33

133700220333

GEAR

31T, Ausführung/Version/Version/Type/Versione 40km/h

1шт.

40

1188220038

BEARING, NEEDLE

1шт.

41

133700220232

SLEEVE ASSY

1шт.

42

190003320028

BALL BEARING

Siehe Seite(n) vorne/See page(s) before/Voir page(s) avant(es)/Se side(r) forrest/Vedere pagin(a/e) precedent(e/i)

1шт.

43

180410033

WASHER

0,5mm

1шт.

43

180410034

WASHER

1,0mm

1шт.

44

133700220433

COUNTERSHAFT

13T, Siehe Seite(n) vorne/See page(s) before/Voir page(s) avant(es)/Se side(r) forrest/Vedere pagin(a/e) precedent(e/i)

1шт.

50

153700220048

SYNCHRONIZER

Besteht aus/Consists of/Compose de/Bestående af/È composto da 51 - 57 - Ersetzt/Replaces/Remplace/Udskiftet/Sostituisce 153700220004

1шт.

51

153700220711

DISC

1шт.

52

153700220704

SPRING

2шт.

53

NSS

NOT SOLD SEPARAT

1шт.

54

NSS

NOT SOLD SEPARAT

1шт.

55

153700220703

WEAR PAD

3шт.

56

153700220709

SYNCHRO RING

1шт.

57

153700220710

SYNCHRO RING

1шт.

Выбрано товаров: 31