Запчасти Case IH C55 (09A-04[01]) - MUDGUARD, REAR + SILENCING PARCEL (09) - CHASSIS

Схема запчастей Case IH C55 - (09A-04[01]) - MUDGUARD, REAR + SILENCING PARCEL (09) - CHASSIS
17
3
12
2a
9
16
20
22
7
4
11
4b
1
14
6
3a
2
5
3b
18
21
19
8
15
10
13
FIT
1:1
100%

Артикул

Название

Примечание

Количество

a

1-34-569-015

NOISE PROTECTION

Schwarz/Black/Noir/Sort/Nero, Besteht aus/Consists of/Compose de/Bestående af/È composto da 2 - 4 - ----> .....

1шт.

b

1-34-569-025

Schwarz/Black/Noir/Sort/Nero, Besteht aus/Consists of/Compose de/Bestående af/È composto da 2A, 3A, 4 - ..... ----> / ----> .....

1шт.

c

1-34-569-050

FOAM INSULATION

Grau/Grey/Gris/Grå/Grigio, Besteht aus/Consists of/Compose de/Bestående af/È composto da 1, 3B, 4B - ..... ---->

1шт.

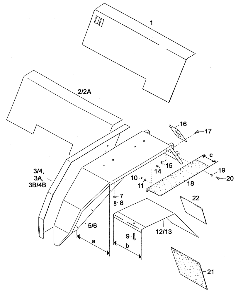
1

1-34-569-053

DOOR COVER

Hinten/Rear/Derriére/Bagest/Posteriore

1шт.

2

1-34-569-012

PROTECTIVE COVER

Hinten/Rear/Derriére/Bagest/Posteriore

1шт.

2a

1-34-569-027

REAR COVER

Hinten/Rear/Derriére/Bagest/Posteriore

1шт.

3

1-34-569-016

PROTECTIVE COVER

Rechts/Right/Droite/Højre/Destra

1шт.

3a

1-34-569-026

PROTECTIVE COVER

Rechts/Right/Droite/Højre/Destra

1шт.

3b

1-34-569-051

PADDING

Rechts/Right/Droite/Højre/Destra

1шт.

4

1-34-569-007

LINING

Links/Left/Gauche/Venstre/Sinistro

1шт.

4b

1-34-569-052

LINING

Links/Left/Gauche/Venstre/Sinistro

1шт.

5

1-34-525-206

FENDER ASSY.

Rechts/Right/Droite/Højre/Destra, Breit/Broad/Large/Bred/Largo a=440mm

1шт.

6

1-34-525-207

FENDER ASSY.

Links/Left/Gauche/Venstre/Sinistro, Breit/Broad/Large/Bred/Largo a=440mm

1шт.

7

190003930271

DISC

A10,5-140HV-A3C

8шт.

8

43138

BOLT,Hex, M10 x 1.5 x 20mm, Cl 8.8

8шт.

9

190003840014

SCREW,M4.2 x 13mm

ST4,2X13-K-A3C

2шт.

10

825-1408

NUT,M8, Cl 8

10шт.

11

190003931102

WASHER, LOCK

A8

10шт.

12

1-34-525-203

PROTECTION PLATE

Rechts/Right/Droite/Højre/Destra, Breit/Broad/Large/Bred/Largo b=200mm

1шт.

13

1-34-525-204

PROTECTION PLATE

Links/Left/Gauche/Venstre/Sinistro, Breit/Broad/Large/Bred/Largo b=280mm

1шт.

14

15896221

NUT,Hex, M6, 5.20mm High, Cl 10

4шт.

15

190003930271

DISC

A10,5-140HV-A3C

8шт.

16

1-34-525-105

PROTECTIVE COVER

1шт.

17

190003834310

SCREW

M6x16-MU

4шт.

18

1-34-325-033

REAR FENDER SPLASH G

Breit/Broad/Large/Bred/Largo c=87mm

2шт.

18

1-34-325-028

ORIFICE

Breit/Broad/Large/Bred/Largo c=45mm

2шт.

19

896-11008

WASHER,9mm ID x 17mm OD x 2mm Thk

A8,4

10шт.

20

120104

BOLT,Hex, M8 x 1.25 x 20mm, Cl 8.8

10шт.

21

116100232061

MUDFLAP

2шт.

22

1-34-577-334

DECAL

Für Frankreich/France only/Pour France

1шт.

Выбрано товаров: 30