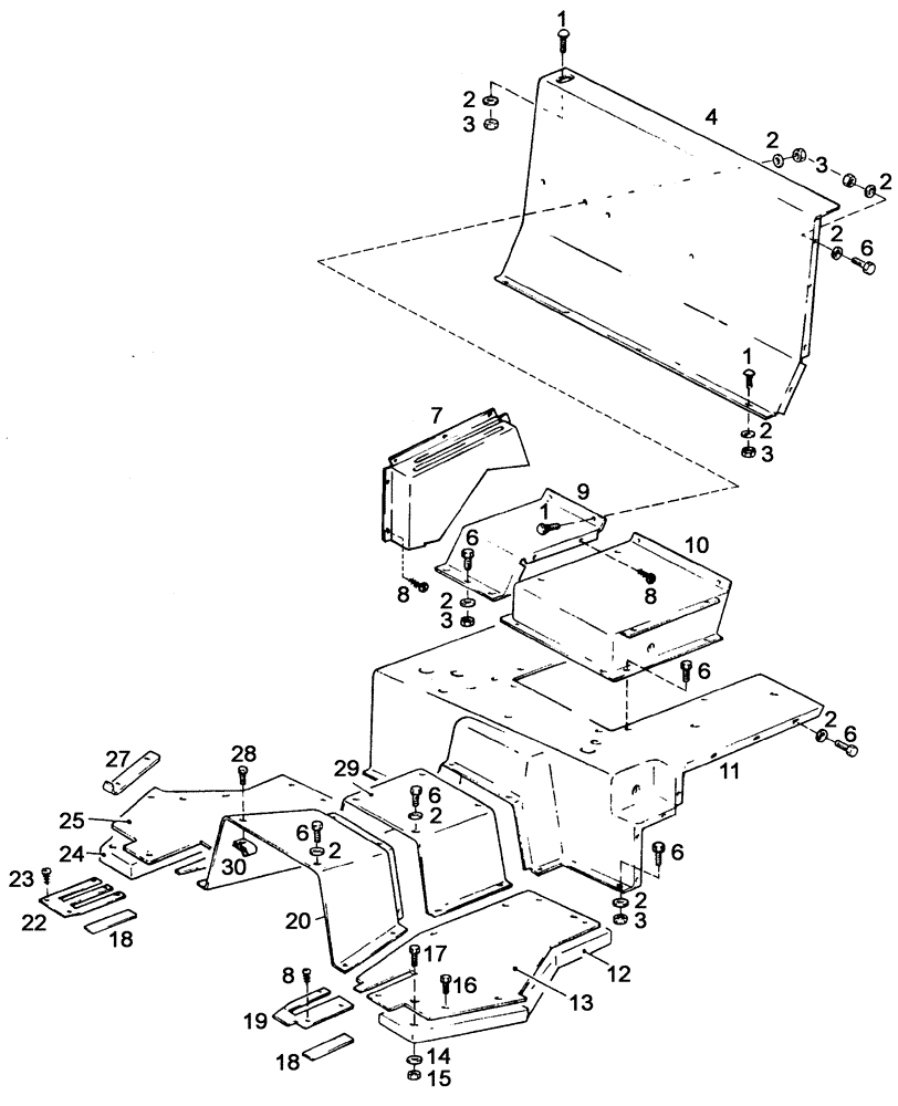
Запчасти Case IH C55 (09B-02[01]) - CAB FLOOR (09) - CHASSIS

Схема запчастей Case IH C55 - (09B-02[01]) - CAB FLOOR (09) - CHASSIS
3
6
16
2
22
8
20
18
6
11
14
2
25
30
1
2
24
2
15
2
6
6
29
6
3
2
12
3
6
27
4
13
6
7
2
1
9
28
8
2
17
2
3
3
8
18
1
10
19
2
23
FIT
1:1
100%

Артикул

Название

Примечание

Количество

1

190003834310

SCREW

M6x16-MU-A2C

3шт.

2

190003936103

WASHER

8,4-140HV-A3C-DIN9021

1шт.

3

15896221

NUT,Hex, M6, 5.20mm High, Cl 10

6шт.

4

1-34-518-202

REAR COVER

Siehe nächste Seite(n)/See next page(s)/Voir page(s) suivante(s)/Se næste side(r)/Vedere pagin(a/e) seguent(e/i)

1шт.

6

86508568

BOLT,Hex, M6 x 1 x 16mm, Cl 8.8

1шт.

7

1-34-518-205

LEVER GUIDE

Ersetzt/Replaces/Remplace/Udskiftet/Sostituisce 1-34-518-203

1шт.

8

190003840014

SCREW,M4.2 x 13mm

ST4,2x13-K-A3C

1шт.

9

1-34-518-204

SHEET

1шт.

10

1-34-551-201

SEAT SUPPORT

1шт.

11

1-34-527-201

PROTECTIVE COVER

1шт.

12

1-34-527-214

WASHER

Links/Left/Gauche/Venstre/Sinistro

1шт.

13

1-34-527-207

FOOT

Links/Left/Gauche/Venstre/Sinistro

1шт.

14

896-11008

WASHER,9mm ID x 17mm OD x 2mm Thk

A8,4-140HV-A3C

2шт.

15

825-1408

NUT,M8, Cl 8

2шт.

16

43138

BOLT,Hex, M10 x 1.5 x 20mm, Cl 8.8

2шт.

17

16043224

BOLT,Hex, M8 x 16mm, Cl 8.8

1шт.

18

1-34-527-042

RUBBER SEAL

2/4шт.

19

1-34-527-040

LARGE PLATE

PLATE, LARGE , Links/Left/Gauche/Venstre/Sinistro - Einschließlich/Includes/Avec/Inklusive/Compreso 18 - Ersetzt/Replaces/Remplace/Udskiftet/Sostituisce 1-34-577-040

1шт.

20

1-34-527-204

PROTECTION PLATE

Vorne/Front/Avant/Forrest/Anteriore

1шт.

22

1-34-527-041

LARGE PLATE

PLATE, LARGE , Rechts/Right/Droite/Højre/Destra - Einschließlich/Includes/Avec/Inklusive/Compreso 18

1шт.

23

190003840009

SCREW,M3.9 x 16mm

ST3,9x16-Q-H-A3C

5шт.

24

1-34-527-213

WASHER

Rechts/Right/Droite/Højre/Destra

1шт.

25

1-34-527-206

FOOT

Rechts/Right/Droite/Højre/Destra

1шт.

27

1-34-527-109

BRACKET, SUPPORTING

2шт.

28

190003800226

SCREW,Hex, M5 x 25mm, Cl 8.8

M5x25-8.8-A2C

1шт.

29

1-34-527-205

PROTECTION PLATE

Mitte/Centre/Centre/Midtfor/Centro

1шт.

30

1609E110049

CLAMP

1шт.

Выбрано товаров: 27