Запчасти Case IH C55 (09B-17[02]) - REAR WINDOW ASSY. / ..... ----> (09) - CHASSIS

Схема запчастей Case IH C55 - (09B-17[02]) - REAR WINDOW ASSY. / ..... ----> (09) - CHASSIS
20
24
26
10
4
16
32
14
31
27
19
12
8
2
25
21
9
28
17
23
22
7
11
15
30
13
3
6
18
1
29
5
FIT
1:1
100%

Артикул

Название

Примечание

Количество

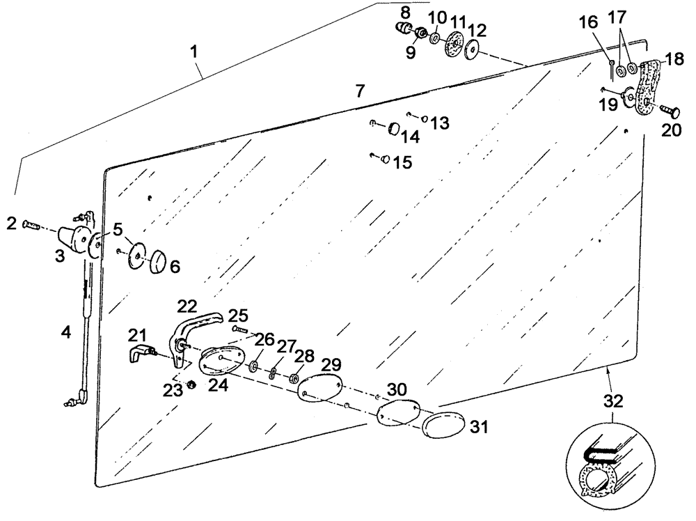
1

1-34-703-140

CAB GLASS

Besteht aus/Consists of/Compose de/Bestående af/È composto da 2 - 32

1шт.

2

190003862514

SCREW,M8 x 25mm, Cl 8.8

M8x25-8.8

2шт.

3

1-34-135-110

RETAINER

Ersetzt/Replaces/Remplace/Udskiftet/Sostituisce 1-34-135-097

2шт.

4

1-34-671-103

GAS STRUT,500mm Extended, 300mm Compressed

Ersetzt/Replaces/Remplace/Udskiftet/Sostituisce 1-34-703-139, 1-99-976-071

2шт.

5

1-99-968-016

RUBBER RING

4шт.

6

1-34-135-096

RUBBER BUTTON

2шт.

7

1-34-568-074

CAB GLASS

Ersetzt/Replaces/Remplace/Udskiftet/Sostituisce 1-34-703-121, 354559A1

1шт.

8

190003179544

CAP COVER

M8

2шт.

9

190003888451

NUT

VM8-8

1шт.

10

190003930042

WASHER

8,4-140HV-A3R

2шт.

11

1-34-635-011

WASHER

Ersetzt/Replaces/Remplace/Udskiftet/Sostituisce 1-34-701-0141

2шт.

12

1-34-135-064

SEALING WASHER,8.5mm ID x 37mm OD x 1mm Thk

Ersetzt/Replaces/Remplace/Udskiftet/Sostituisce 1-34-701-016

4шт.

13

1-34-671-104

GROMMET

Ø 8mm

1шт.

14

1-34-671-106

GROMMET

Ø 20mm

1шт.

15

1-34-671-105

GROMMET

Ø 18mm

1шт.

16

190003920221

PIN, SPLIT (COTTER)

PIN, COTTER , 3,2x18

1шт.

17

896-11008

WASHER,9mm ID x 17mm OD x 2mm Thk

A8,4

4шт.

18

1-34-135-108

HINGE

2шт.

19

1-34-135-064

SEALING WASHER,8.5mm ID x 37mm OD x 1mm Thk

Ersetzt/Replaces/Remplace/Udskiftet/Sostituisce 1-34-701-015

2шт.

20

190003834436

SCREW,M8 x 35mm

M8x35-MU-A2C

2шт.

21

1-34-571-203

BAIL

Ersetzt/Replaces/Remplace/Udskiftet/Sostituisce 1-34-701-433

1шт.

22

1-34-571-204

HANDLE GRIP

Ersetzt/Replaces/Remplace/Udskiftet/Sostituisce 1-34-135-101

1шт.

23

15896221

NUT,Hex, M6, 5.20mm High, Cl 10

1шт.

24

1-34-135-102

SUPPORT

1шт.

25

190003862017

SCREW,Cross Csk Hd, M8 x 20mm, Cl 8.8

2шт.

26

896-11008

WASHER,9mm ID x 17mm OD x 2mm Thk

1шт.

27

190003932030

SPRING-DISC

A8-FST-A3C

1шт.

28

190003888451

NUT

VM-8-8

1шт.

29

1-34-135-115

RUBBER PAD

1шт.

30

1-34-135-116

RUBBER RING

1шт.

31

1-34-135-103

LINK BLOCK

1шт.

32

1-34-701-746

SEAL, GLASS

l=3700mm - Ersetzt/Replaces/Remplace/Udskiftet/Sostituisce 1-34-701-822

1шт.

Выбрано товаров: 32