Запчасти Case IH C55 (02-12[01]) - CRANKCASE (02) - ENGINE

Схема запчастей Case IH C55 - (02-12[01]) - CRANKCASE (02) - ENGINE
11
16
48
37
26
38
5
9
46
21
17
10
31
20
8
42
3
25
24
37
35
3
4
40
43
54
5
2
32
36
38
1
18
37
47
19
4
4
41
37
39
44
45
7
3
30
6
38
FIT
1:1
100%

Артикул

Название

Примечание

Количество

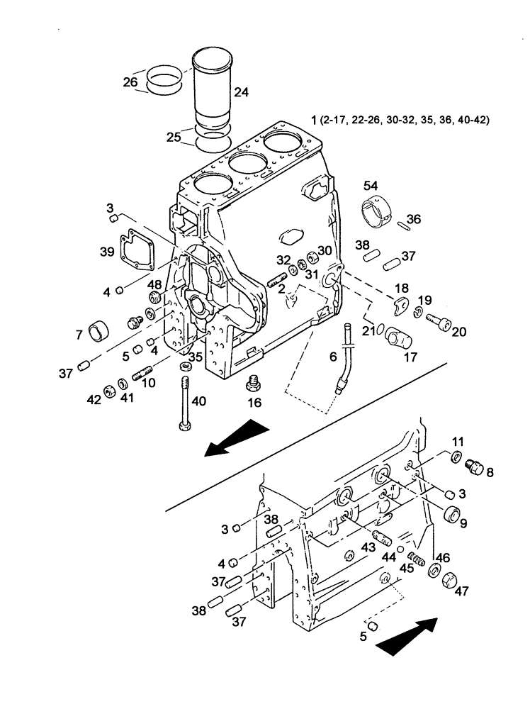
1

130142010701

CYLINDER BLOCK

Einschließlich/Includes/Avec/Inklusive/Compreso 2 - 17, 22 - 26, 30 - 32, 35, 36, 40 - 42

1шт.

2

190003813537

STUD

M10x35-8.8

4шт.

3

130100010723

BLANK-OFF PLUG

7шт.

4

130100010724

BLANK-OFF PLUG

3шт.

5

130100010718

BLANK-OFF PLUG

2шт.

6

130100010729

PIPE

6шт.

7

130100010714

DRIVE BUSHING

1шт.

8

190003962038

PLUG,Hex Wash Hd, M22 x 1.5

A-M22x1,5

1шт.

9

130100010741

COVER

2шт.

10

190003813434

STUD

M8x25-8.8

1шт.

11

190003098026

SEAL

A22x27-CU

1шт.

16

130100070714

SCREW,M16 x 1.5

1шт.

17

130182010704

ELBOW

1шт.

18

130182010705

SHEET

1шт.

19

130100010705

RING

1шт.

20

190003862420

SCREW,M8 x 16mm, Cl 10.9

M8x16-10.9

1шт.

21

130182010701

SEAL

1шт.

22

190003962014

PLUG,Hex Wshr Hd, M10 x 1

A-M10x1

1шт.

23

190003098010

SEAL

A10x13,5-CU

1шт.

24

130100040723

LINER, ENGINE CYLIND

3шт.

25

130100041001

SEAL

6шт.

26

130100041002

SEAL

6шт.

30

130182010712

NUT

1шт.

31

130100020701

RING

4шт.

32

130182010708

DISC

4шт.

35

130100010721

WASHER

8шт.

36

190003909588

PIN, ROLL

4x8

4шт.

37

190003901418

PIN

8m6x18

4шт.

38

190003901528

PIN

10m6x28

2шт.

39

130100010710

GASKET

1шт.

40

130100010719

SCREW

8шт.

41

130100010713

DISC

1шт.

42

130100010708

NUT

1шт.

43

130182010709

STUD

1шт.

44

190003330165

BALL,9mm OD

9,0mm

1шт.

45

130182010703

COMPRESSION SPRING

1шт.

46

190003098016

SEAL

A16x20-CU

1шт.

47

130182010710

NUT

1шт.

48

130100010712

BLANK-OFF PLUG

1шт.

54

KURBELWELLENLAGER/BEARING, CRANKSHAFT/COUSSINET VILEBREQUIN/KRUMTAPAKSELLEJE/CUSCINETTO DELL'ALBERO MOTORE - Siehe Kurbelwelle/See crankshaft/Voir vilebrequin/Se krumtapaksel/Vedere albero motore

4шт.

Выбрано товаров: 40