Запчасти Case IH C55 (02-19[01]) - VALVE MECHANISM - CAMSHAFT (02) - ENGINE

Схема запчастей Case IH C55 - (02-19[01]) - VALVE MECHANISM - CAMSHAFT (02) - ENGINE
9a
17
22
3
21
14
5
10
8
11
18
1
12
16
13
19
2
4
15
9
7
6
20
22
21
FIT
1:1
100%

Артикул

Название

Примечание

Количество

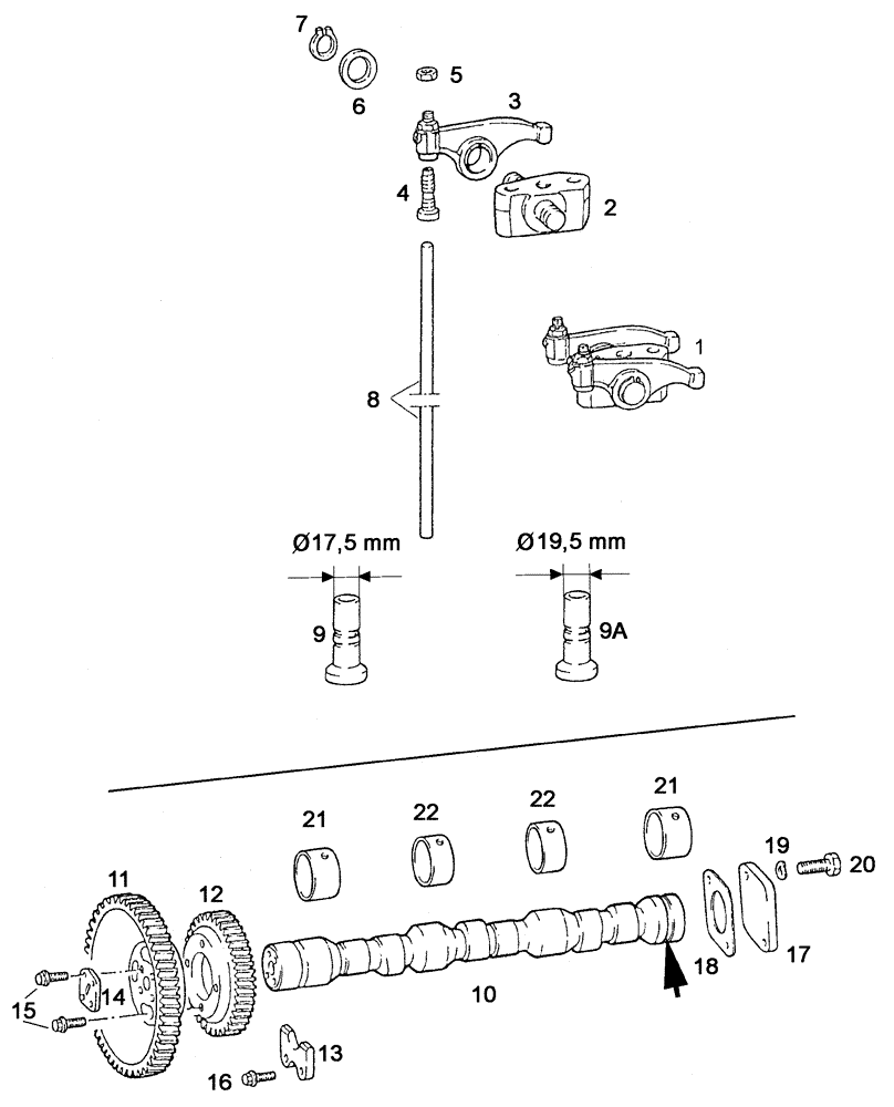
1

130100050709

LEVER

Besteht aus/Consists of/Compose de/Bestående af/È composto da 2 - 7

3шт.

2

130100050708

LEVER

3шт.

3

130100050710

ROCKER

Einschließlich/Includes/Avec/Inklusive/Compreso 4, 5

6шт.

4

130100050704

SCREW

3шт.

5

130100050705

NUT

3шт.

6

130100050713

DISC

12шт.

7

190003933067

PLATE, LOCKING

16x1

6шт.

8

130100050702

PUSH ROD

6шт.

9

130100050703

TAPPET

----> .....

6шт.

9a

130100050721

TAPPET

..... ----> / Reparatursatz/Repair kit/Colis de reparation/Reparatursæt/Set di riparazione

6шт.

10

130100050717

CAMSHAFT

Ersetzt/Replaces/Remplace/Udskiftet/Sostituisce 130100050720

1шт.

11

130100050706

PINION

1шт.

12

130100050707

PINION

1шт.

13

130100050711

SEGMENT

1шт.

14

130100050714

FLANGE

1шт.

15

130100050701

SCREW,M8 x 22mm, Cl 12.9

AM8x22-12.9

8шт.

16

130100070703

SCREW,M8 x 16mm

2шт.

17

130100050712

FLANGE

1шт.

18

130100050718

GASKET

1шт.

19

130100010705

RING

2шт.

20

190003802443

SCREW,Hex, M8 x 20mm, Cl 10.9

M8x20-10.9

2шт.

21

130100050715

CAMSHAFT BEARING

Reparatursatz/Repair kit/Colis de reparation/Reparatursæt/Set di riparazione

2шт.

22

130100050716

CAMSHAFT BEARING

Reparatursatz/Repair kit/Colis de reparation/Reparatursæt/Set di riparazione

2шт.

Выбрано товаров: 23