Запчасти Case IH C55 (02-27[01]) - HYDRAULIC PUMP - BUILT-IN LEFT (02) - ENGINE

Схема запчастей Case IH C55 - (02-27[01]) - HYDRAULIC PUMP - BUILT-IN LEFT (02) - ENGINE
26
2
36
14
32
10
4
12
29
16
15
14
17
24
7
33
6
14
21
7
13
30
19
1
9
28
22
28
23
26
35
25
34
8
38
13
18
25
3
27
14
29
16
20
31
5
FIT
1:1
100%

Артикул

Название

Примечание

Количество

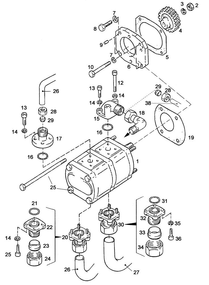
1

155700750003

PUMP, HYDRAULIC

16/11ccm-LI, Siehe nächste Seite(n)/See next page(s)/Voir page(s) suivante(s)/Se næste side(r)/Vedere pagin(a/e) seguent(e/i))

1шт.

2

190003871526

NUT

M12x1,5

1шт.

3

190003931142

WASHER, LOCK

A12

1шт.

4

130100130036

PINION

25T

1шт.

5

130100130703

GASKET

1шт.

6

130100130704

PLATE

1шт.

7

130100010705

RING

3шт.

8

43127

BOLT,Hex, M8 x 1.25 x 25mm, Cl 8.8

2шт.

9

190003901316

PIN

6m6x16

2шт.

10

190003800471

SCREW,Hex, M8 x 90mm, Cl 8.8

M8x90-8.8

2шт.

12

190003862346

SCREW,M6 x 45mm, Cl 8.8

M6x45-8.8

2шт.

13

86531615

HEX SOC SCREW,M6 x 20mm, Cl 8.8

6шт.

14

190003931082

WASHER

A6

4шт.

15

1-32-275-005

FLANGE

2шт.

16

1209130084

PACKING RING

18x2,5

2шт.

17

131100130035

FLANGE

1шт.

18

190003559493

HYD CONNECTOR

L15, Siehe Kapitel 08/See chapter 08/Voir chapitre 08/Se kapitel 08/Vedere capitolo 08

1шт.

19

130100130702

GASKET

1шт.

20

1409130016

BATTERY TRAY

Besteht aus/Consists of/Compose de/Bestående af/È composto da 14, 21 - 25

1шт.

21

1209130074

SEAL ASSY.

24x29

1шт.

22

1409130017

FLANGE

1шт.

23

190003559567

OLIVE

L22

1шт.

24

190003559510

TUBE NUT

A L22

1шт.

25

86531615

HEX SOC SCREW,M6 x 20mm, Cl 8.8

4шт.

25

190003860293

SCREW,M10 x 205mm, Cl 10.9

M10x205-10.9

2шт.

26

,

HYDRAULIKKREISLAUF/CIRCUIT, HYDRAULIC/CIRCUIT HYDRAULIQUE, HYRAULIKKREDSLØB, CIRCUITO IDRAULICO - Siehe Kapitel 05/See chapter 05/Voir chapitre 05/Se kapitel 05/Vedere capitolo 01 5

1шт.

27

HYDRAULIKKREISLAUF/CIRCUIT, HYDRAULIC/CIRCUIT HYDRAULIQUE, HYRAULIKKREDSLØB, CIRCUITO IDRAULICO - Siehe Kapitel 08/See chapter 08/Voir chapitre 08/Se kapitel 08/Vedere capitolo 01 8

1шт.

28

190003559515

NUT

AL15

2шт.

29

190003559562

OLIVE

L15

2шт.

30

133700750003

FLANGE

Besteht aus/Consists of/Compose de/Bestående af/È composto da 31 - 36

1шт.

31

155700730776

O-RING

2шт.

32

NSS

NOT SOLD SEPARAT

2шт.

33

190003559566

OLIVE

L28

2шт.

34

190003559505

TUBE NUT

AL28

2шт.

35

155700730741

WASHER, LOCK

8шт.

36

155700730777

SCREW

8шт.

Выбрано товаров: 36