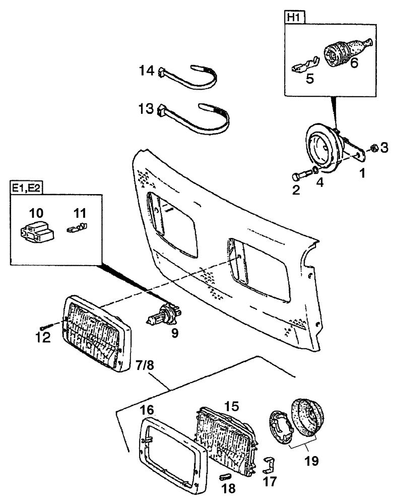
Запчасти Case IH C55 (04-21[01]) - HEADLAMP FRONT SIGNALHORN (04) - ELECTRICAL SYSTEMS

Схема запчастей Case IH C55 - (04-21[01]) - HEADLAMP FRONT SIGNALHORN (04) - ELECTRICAL SYSTEMS
11
10
13
9
1
12
17
2
3
15
7
19
8
4
14
18
6
16
5
FIT
1:1
100%

Артикул

Название

Примечание

Количество

1

1-40-171-040

HORN

1шт.

2

43128

BOLT,M8 x 1.25 x 30mm, Cl 8.8

1шт.

3

190003888451

NUT

VM8-8

1шт.

4

896-11008

WASHER,9mm ID x 17mm OD x 2mm Thk

9x17x2mm, Ersetzt / Replaces / Remplace / Udskiftet / Sostituisce 190003930261

1шт.

5

190003499650

CABLE TERMINAL

G01

2шт.

6

1407090013

PROTECTION CAP

W03

2шт.

7

1-34-172-045

HEADLAMP

Für Rechtsverkehr besteht aus / For right hand traffic consists of / Pour circulation a droite compose de / Til højrestyring bestående af / Anche per guida a destra é composto da 16 - 19

2шт.

8

1-34-172-145

HEADLIGHT

Für Linksverkehr / Gor left hand traffic / Pour circulation a gauche / Til venstrestyring / Anche per guida a sinistra

2шт.

9

190003450013

BULB

H4-12V60/55W

2шт.

10

199000720006

ELEC CONNECTOR

M21 ; 3-Polig / 3-pole / À 3 pôle / 3-polet / 3 polo

2шт.

11

179000770080

CABLE TERMINAL

G10

6шт.

12

190003844618

SCREW,M4.2 x 32mm

St4,2x32-C-H-A3R

4шт.

13

190003170283

HOSE CLIP

A8x280 / K04

2шт.

14

190003171697

COLLAR

A5x180 / K02

5шт.

15

1-34-772-042

SEALED BEAM UNIT

Für Rechtsverkehr ersetzt / For right hand traffic replace(s) / Pour circulation a droite remplace / Til højrestyring udskiftet / Anche per guida a destra sostituisce 1-34-772-026 + 1-34-772-027 + 1-34-772-063

1шт.

16

1-34-772-028

CAPPING

1шт.

17

1-34-772-029

SPRING

2шт.

18

1-34-772-030

SCREW

2шт.

19

1-34-772-011

DUST CAP

1шт.

Выбрано товаров: 19