Запчасти Case IH 757C (31) - STREET PAD KIT, 716410001 & 716410016 - 757C & 758C

Схема запчастей Case IH 757C - (31) - STREET PAD KIT, 716410001 & 716410016 - 757C & 758C
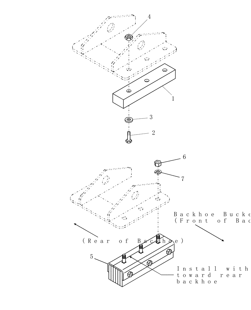
2
7
3
backhoe bucket
5
4
backhoe
6
toward rear of
(rear of backhoe)
install with seam
(front of backhoe)
1
FIT
1:1
100%

Артикул

Название

Примечание

Количество

1

SML44761

RUBBER PAD

Pad

2шт.

716410001

1шт.

2

413-620

BOLT,Hex, 3/8" - 16 x 1-1/4", Gr 5

12шт.

716410001

1шт.

3

495-11041

WASHER,0.406" ID x 0.812" OD x 0.065" W

12шт.

716410001

1шт.

4

232-4246

NUT,3/8"-16, GC

12шт.

716410001

1шт.

5

SML50032

RUBBER PAD

Pad, Rubber

4шт.

716410016

1шт.

6

425-106

NUT,3/8"-16, Cl 5

12шт.

716410016

1шт.

7

492-11038

LOCK WASHER,3/8"

12шт.

716410016

1шт.

Выбрано товаров: 14