Запчасти Case IH 20 (9-14) - SIDE PLATES AND SKID SHOE ATTACHMENTS, MODEL 20, 30 AND 40 BLADE (09) - CHASSIS/ATTACHMENTS

Схема запчастей Case IH 20 - (9-14) - SIDE PLATES AND SKID SHOE ATTACHMENTS, MODEL 20, 30 AND 40 BLADE (09) - CHASSIS/ATTACHMENTS
FIT
1:1
100%

Артикул

Название

Примечание

Количество

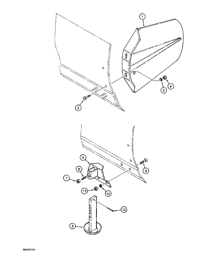
1

74366C1

PLATE

- blade side

2шт.

2

413-824

BOLT,Hex, 1/2" - 13 x 1-1/2", Gr 5

4шт.

3

80679

LOCK WASHER,1/20.507 CST ZND

WASHER, LOCK, 1/2"

4шт.

4

425-108

NUT,1/2" - 13, Gr 5

NUT, , Hex 1/2"-13, G5

4шт.

5

74368C1

BRACKET

- mounting, skid shoe

2шт.

6

22216R1

SCREW

- set, square head, 1/2 NC x 1-1/2 inch

2шт.

7

425-148

JAM NUT,Jam, 1/2"-13, G5

- hex, jam, 1/2 inch NC

2шт.

8

74369C1

SKID/SHOE

SHOE - blade skid

2шт.

9

19081R1

BOLT,5/8"-11 x 2", G2, Full Thd

- plow head, 5/8 NC x 2 inch

4шт.

10

492-11062

BEARING WASHER,5/8"

WASHER, LOCK, 5/8"

4шт.

11

425-1010

NUT,5/8"-11, G5

4шт.

12

432-1616

COTTER PIN,1/4" x 1"

Pin, Split (Cotter), 1/4" x 1"

2шт.

Выбрано товаров: 12