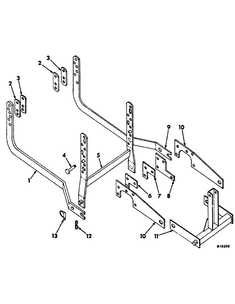
Запчасти Case IH 420 (B-05) - SUBFRAME AND SUPPORT 420 BLADE

Схема запчастей Case IH 420 - (B-05) - SUBFRAME AND SUPPORT 420 BLADE
FIT
1:1
100%

Артикул

Название

Примечание

Количество

SERVICE PARTS FOR 420 BLADE MOUNTED ON I-240, I-404, I-424, I-2424, I-2404, I-444 AND I-2444 TRACTORS, Consist of all unmarked parts and those marked unit A.

1шт.

SERVICE PARTS FOR 420 BLADE MOUNTED ON B-275 AND B-414 TRACTORS, Consist of all parts marked unit B.

1шт.

SERVICE PARTS FOR 420 BLADE MOUNTED ON F-240 AND F-404 TRACTORS, Consist of all parts marked unit C.

1шт.

1

477915R2

FRAME, basic sub RH, For units A, B and C

1шт.

413-1048

BOLT,Hex, 5/8" - 11 x 3", Gr 5

SCREW, 5/8-11 x 3 C-Z hex-hd cap, 1 for unit B

1шт.

271730

SWASH PLATE,Hex, 5/8" - 11 x 3 3/4", Gr 5

SCREW, 5/8-11 x 3-3/4 C-Z hex-hd cap, 1 for unit B

1шт.

413-1044

BOLT,Hex, 5/8" - 11 x 2-3/4", Gr 5

SCREW, 5/8-11 x 2-3/4 C-Z hex-hd cap, 2 for unit A, 2 for unit C

1шт.

426-1040

BOLT,Hex, 5/8" - 11 x 2-1/2", Gr 8

SCREW, 5/8-11 x 2-1/2 C-Z hex-hd cap, 2 for unit A

1шт.

608801R1

WASHER, 21/32 x 1-1/4 x 16 ga C-Z, 2 for unit A, 2 for unit C

1шт.

2

477922R1

BAR, subframe spacer, 3 for unit A, 4 for unit B, 2 for unit C

1шт.

3

477923R2

BAR, subframe spacer, 3 for unit A, 2 for units B and C

1шт.

4

519726R1

PIN, 3/4 x 2-1/4 std hd pointed, 2 for unit B

1шт.

5

477924R91

SUPPORT ASSY, subframe, For units A, B and C

1шт.

280374

NUT,Hex, 5/8" - 11, Gr 5

5/8-11 C-Z hex., For unit B

1шт.

280954

NUT,3/4"-10, G5

2 for unit A 3/4"-10, G5

1шт.

413-1032

BOLT,Hex, 5/8" - 11 x 2", Gr 5

SCREW, 5/8-11 x 2 C-Z hex-hd cap, 2 for unit B

1шт.

413-1280

BOLT,Hex, 3/4" - 10 x 5", Gr 5

SCREW, 3/4-10 x 5 C-Z hex-hd cap, 2 for unit A , Course threads

1шт.

NLS

NO LONGER SERVICED

SCREW, 3/4-10 x 4-1/2 C-Z hex-hd cap, 4 for unit C

1шт.

87403

BOLT,Hex, 3/4" - 10 x 2 1/4", Gr 5

2 for unit A Hex, 3/4"-10 x 2 1/4", G5

1шт.

495-11081

WASHER,3/4", SAE

13/16 x 1-1/2 x .134 C-Z, 4 for units A and C

1шт.

178375R1

WASHER

25/32 x 1-3/4 x 16 ga C-Z, 2 for unit B

1шт.

6

477941R1

PLATE, bolster spacer, 2 for unit B

1шт.

7

477940R1

PLATE, bolster spacer, 8 for unit B

1шт.

8

477942R1

PLATE, bolster spacer, 8 for unit C

1шт.

8

480139R2

PLATE, bolster spacer, 8 for unit A

1шт.

9

477914R2

FRAME, basic sub LH, Units A, B and C

1шт.

413-1048

BOLT,Hex, 5/8" - 11 x 3", Gr 5

SCREW, 5/8-11 x 3 C-Z hex-hd cap, For unit B

1шт.

413-1060

BOLT,Hex, 5/8" - 11 x 3-3/4", Gr 5

SCREW, 5/8-11 x 3-3/4 C-Z hex-hd cap, For unit B

1шт.

413-1044

BOLT,Hex, 5/8" - 11 x 2-3/4", Gr 5

SCREW, 5/8-11 x 2-3/4 C-Z hex-hd cap, 2 for units A and C

1шт.

130999

WASHER,5/8"

11/16 x 1-3/4 x .134 C-Z, 3 for unit A, 2 for unit C

1шт.

413-1064

BOLT,Hex, 5/8" - 11 x 4", Gr 5

SCREW, 5/8-11 x 4 C-Z hex-hd cap, 2 for unit A

1шт.

426-1040

BOLT,Hex, 5/8" - 11 x 2-1/2", Gr 8

SCREW, 5/8-11 x 2-1/2 C-Z hex-hd cap, For unit C

1шт.

10

477939R1

PLATE, bolster bracket, 2 for unit B

1шт.

271781

BOLT (SPREADER),Hex, 3/4" - 10 x 4 1/2", Gr 5

SCREW, 3/4-10 x 4-1/2 C-Z hex-hd cap

3шт.

271779

STRIP,Hex, 3/4" - 10 x 4", Gr 5

SCREW, 3/4-10 x 4 C-Z hex-hd cap

3шт.

11

477946R91

PIVOT ASSY, bracket, For unit B

1шт.

137303

COTTER PIN,1/4" x 2 1/4"

PIN, SPLIT (COTTER), 1/4" x 2 1/4"

2шт.

F18476

WASHER

1-9/32 x 1-3/4 x 16 ga C-Z, 2 for unit B

1шт.

12

520175R1

CLIP

PIN, quick attachable cot.

2шт.

13

385159R91

PIN

ASSY, drawbar, Unit A and B

2шт.

Выбрано товаров: 40