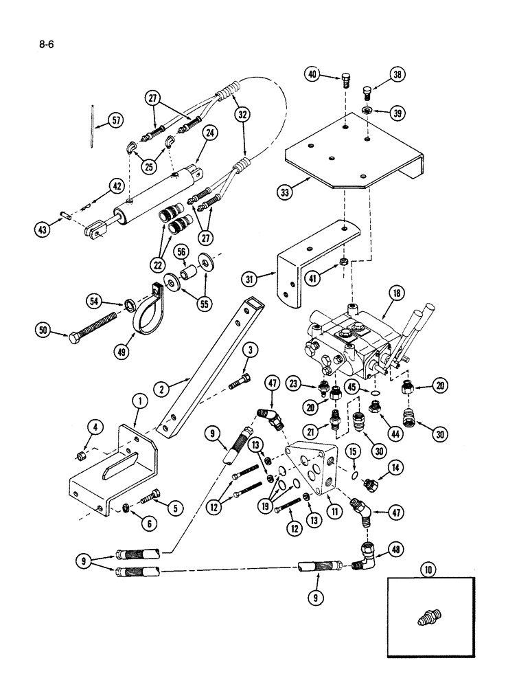
Запчасти Case IH 72F (8-06) - BLADE ANGLE HYDRAULIC SYSTEM, 72F BLADE, 245 AND 255 TRACTOR (08) - HYDRAULICS

Схема запчастей Case IH 72F - (8-06) - BLADE ANGLE HYDRAULIC SYSTEM, 72F BLADE, 245 AND 255 TRACTOR (08) - HYDRAULICS
FIT
1:1
100%

Артикул

Название

Примечание

Количество

1

1976524C1

SUPPORT

BRACKET - support, valve

1шт.

2

1978641C1

TUBE

- support, valve

1шт.

3

113-233

BOLT,Hex, 3/8" - 16 x 1-3/4", Gr 5

2шт.

4

9413979

LOCK NUT,3/8"-16, GC

NUT - hex lock, 3/8 inch NC

2шт.

5

1958424C1

BOLT,Hex, M12 x 1.25 x 35mm

- hex special, M12 x 1.25 x 35 mm

2шт.

6

192-23

LOCK WASHER,1/2"

WASHER, LOCK, 1/2"

2шт.

9

195504C2

HYDRAULIC HOSE

HOSE - hydraulic, Serial Range: cylinder-valve

2шт.

10

218-443

HYD CONNECTOR,9/16" - 18 Male JIC x 1/4" - 18 Male NPTF

CONNECTOR - straight, 3/8 inch tube

4шт.

11

1960659C1

VALVE

BLOCK - adapter, hydraulic

1шт.

12

30521R1

BOLT,Hex, M8 x 1.25 x 75mm, Cl 8.8

- hex, M8 x 75 mm

3шт.

13

934309R1

LOCK WASHER,M8

WASHER - lock, 8 mm

3шт.

14

76349

PLUG,9/16" - 18 ORB

Assy, 3/8 tube Hex Hd, 9/16"-18 ORB

1шт.

18

1976526C1

VALVE

ASSEMBLY - control, hydraulic

1шт.

20

1960272C1

FITTING

ADAPTER - male, straight

3шт.

21

443979

HYD CONNECTOR

NIPPLE - pipe, 1/4 inch PT

3шт.

22

166122C92

ASSEMBLY

COUPLER ASSEMBLY - female

2шт.

23

587639R1

HYD CONNECTOR,9/16"-18, 37 Degree x 3/4"-18, O-Ring

CONNECTOR - straight, 3/8 to 1/2 inch

2шт.

24

1958335C1

CYLINDER

ASSEMBLY - angle, blade

1шт.

25

444040

ELBOW,90 Degree, 1/4"-18 NPTF, Fem x 1/4"-18 NPTF Male

- 90 degree street, 1/4 inch PT

2шт.

27

139517C1

HYDRAULIC HOSE

HOSE ASSEMBLY - hydraulic, 72 inch (Initial service requires 2 of Ref 10)

2шт.

30

166123C91

COUPLING

COUPLER ASSEMBLY - male

2шт.

31

1978648C1

BRACKET

- valve

1шт.

32

436897C1

CONDUIT - hose, 24 inch

1шт.

33

1978643C1

PLATE

- mounting,valve

1шт.

38

113-206

BOLT,Hex, 3/8" - 16 x 3/4", Gr 5, Full Thd

3шт.

39

120382

LOCK WASHER,Helical Spring, 3/8"

WASHER, LOCK, 3/8"

3шт.

40

113-207

BOLT,Hex, 3/8" - 16 x 1", Gr 5

2шт.

41

9411655

LOCK NUT,3/8"-16, GB

NUT - hex lock, 3/8 inch NC

2шт.

42

480523R1

HAIR PIN COTTER

2шт.

43

1958393C1

PIN

- clevis

2шт.

44

214389

PLUG,3/4" - 16 ORB

Assy, 1/2" tube Hex Hd, 3/4"-16 ORB

1шт.

45

237-6008

O-RING,0.087" Thk x 0.644" ID, -908, Cl 6, 90 Duro

8-1, 90 Duro, .644" ID x .087" Thk

1шт.

47

9411104

ELBOW,45 Degree, 9/16"-18, 37 Degree x 9/16"-18, O-Ring

ASSEMBLY - 45 degree adjustable, 3/8 inch thread

2шт.

48

9410280

ELBOW,90 Degree, 9/16"-18, 37 Degree x 9/16"-18, 37 Degree Fem Sw

- 37 degree, 9/16 - 18 inch thread

1шт.

49

1300542C1

CLAMP,1 3/8", 5/16" Bolt

CLIP - hose

1шт.

50

934942R1

BOLT,Hex, M8 x 1.25 x 40mm, Cl 8.8, Full Thd

Hex, M8 x 40, 8.8, Full Thd

1шт.

54

192-20

LOCK WASHER,Helical Spring, 0.318" ID, CST, ZND

WASHER, LOCK, 5/16"

1шт.

55

446363

WASHER,5/16"

- flat, 3/8 x 7/8 x 1/16 inch

2шт.

56

27825R1

SPACER,8.5mm ID x 12.7mm OD x 12.7mm L

Clip 1/2" Tube x 1/2"

1шт.

57

289862C1

CABLE TIE,3/16" x 7"

STRAP - tie, hose

6шт.

15

237-6006

O-RING,0.078" Thk x 0.468" ID, -906, Cl 6, 90 Duro

6-1, 90 Duro, .468" ID x .078" Thk, Seal

1шт.

19

237-6006

O-RING,0.078" Thk x 0.468" ID, -906, Cl 6, 90 Duro

6-1, 90 Duro, .468" ID x .078" Thk, Seal

3шт.

Выбрано товаров: 42