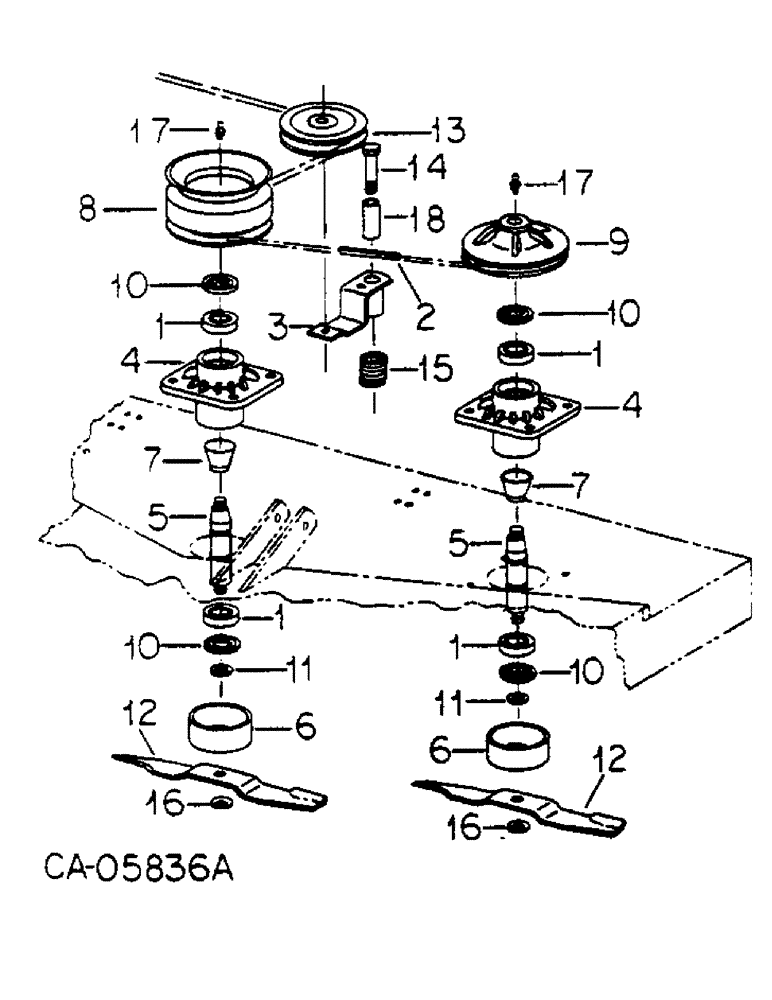
Запчасти Case IH 3160A (E-23) - 3160 SERIES A ROTARY MOWER, DRIVE DECK

Схема запчастей Case IH 3160A - (E-23) - 3160 SERIES A ROTARY MOWER, DRIVE DECK
FIT
1:1
100%

Артикул

Название

Примечание

Количество

1

ST213

BALL BEARING,30 mm ID x 62 mm OD x 16 mm

BEARING, spindle

6шт.

2

72896C1

BELT,24415.78 mm L

Spindle Drive 109.15" Long

1шт.

3

72897C1

ARM

1шт.

120384

WASHER,1/2"

LOCK, 1/2"

1шт.

120378

NUT,Hex, 1/2" - 13, Gr 5

NUT, 1/2"-13, G5

2шт.

390311C1

WASHER,15/16" x 1 3/4" x .134", HDN

.938 x 1.750 x .134 hdn

1шт.

4

106653C1

HOUSING

spindle

3шт.

19019R1

CARRIAGE BOLT,#3, 3/8" - 16 x 1", Gr 2

BOLT, 3/8 x 1 plow type 1

12шт.

120382

LOCK WASHER,Helical Spring, 3/8"

WASHER, LOCK, 3/8"

12шт.

120377

NUT,3/8" - 16, Gr 5

12шт.

641207R1

SNAP RING,2.44", Int, #244

Ring, Snap, 2.44", Int, #244

6шт.

5

73968C2

SHAFT

spindle, on orders for 73968C1, furnish shaft 73968C2 and two spring washers 144387C1, on orders for 106654C1, furnish shaft 73968C2, nut 426897, and two spring washers 144387C1

1шт.

426897

JAM NUT,Jam, 3/4"-10, G5

3/4 jam type 5

3шт.

26070R1

WASHER,15/16" x 1 3/4" x .179", HDN

.938 x 1.750 x .179 hdn

3шт.

426767

NUT,7/8"-14, G5

7/8-NF type 5

3шт.

21745R1

SNAP RING,#118, Ext

Ring, Snap, #118, Ext

6шт.

6

106657C1

RETAINER

anti-wrap cup

3шт.

131017

WASHER

.812 x 1.469 x .108

3шт.

7

106674C1

SLINGER

lubricant

3шт.

8

106796C2

PULLEY

center

1шт.

9

106797C1

PULLEY

outer

2шт.

10

117275C1

OIL SEAL

grease

6шт.

11

117437C1

WASHER

support disk

3шт.

12

117453C1

BLADE

60 in. mower

3шт.

13

470716R1

PULLEY ASSY.

PULLEY, flat idler

1шт.

14

BOLT, shoulder, on orders for shoulder bolt 541554R1, furnish bolt 271733, spacer 135601C, and washer 131016

1шт.

492-11062

BEARING WASHER,5/8"

WASHER, LOCK, 5/8"

1шт.

124589

BALL STUD,Hex, 5/8" - 11 x 2", Gr 5

5/8 type 5

1шт.

14

413-1072

BOLT,Hex, 5/8" - 11 x 4-1/2", Gr 5

5/8 x 4-1/2 type

5шт.

NLS

NO LONGER SERVICED

.656 x 1.312 x .074

2шт.

492-11062

BEARING WASHER,5/8"

WASHER, LOCK, 5/8"

1шт.

280374

NUT,Hex, 5/8" - 11, Gr 5

5/8 type 5

1шт.

15

541549R1

SPRING

idler arm

1шт.

16

144387C1

BELLEVILLE WASHER

Belleville speing

6шт.

17

66584D

FITTING

3/16 drive type str lub

3шт.

18

135601C1

SPACER

1шт.

Выбрано товаров: 36