Запчасти Case IH 914A (12) - SPINDLE COMPONENTS, 60" & 72"

Схема запчастей Case IH 914A - (12) - SPINDLE COMPONENTS, 60" & 72"
8
12
8
11
14
13
2
1
4
9
7
10
14
3
5
6
FIT
1:1
100%

Артикул

Название

Примечание

Количество

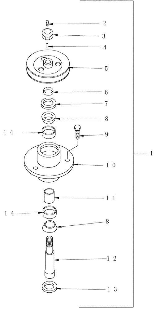
1

CSE162260

SPINDLE

3шт.

2

219-87

LUBE NIPPLE,1/4" - 28 NPTF

1шт.

Use straight grease fitting on outboard spindles.

1шт.

2

219-93

LUBE NIPPLE,90 Degree Elbow, 1/4" - 28 NPTF

1шт.

Use 90 Degree grease fitting in the center spindle only

1шт.

3

280724

LOCK NUT,3/4" - 16

1шт.

4

277124

KEY

Square, 1/4" x 7/8"

1шт.

5

CSE144579

PULLEY

Spindle

1шт.

6

AUB145557

SPACER

Seal

1шт.

7

AUB145551

SEAL,31.75mm ID x 54.08mm OD x 6.35mm Thk

Dust, Upper

1шт.

8

D29266

ROLLER BEARING,1" ID x 0.58"

2шт.

9

AUB145561

STUD

7/16"-20 x 1-7/32" Serrated

3шт.

10

AUB161851

HOUSING

Housing

1шт.

11

AUB162126

SPACER

Preload, .606

1шт.

12

AUB161852

SPINDLE

1шт.

13

AUB145552

SEAL,31.75mm ID x 54.08mm OD x 6.35mm Thk

Grease, Lower

1шт.

14

572564R1

BEARING CUP

2шт.

Выбрано товаров: 17