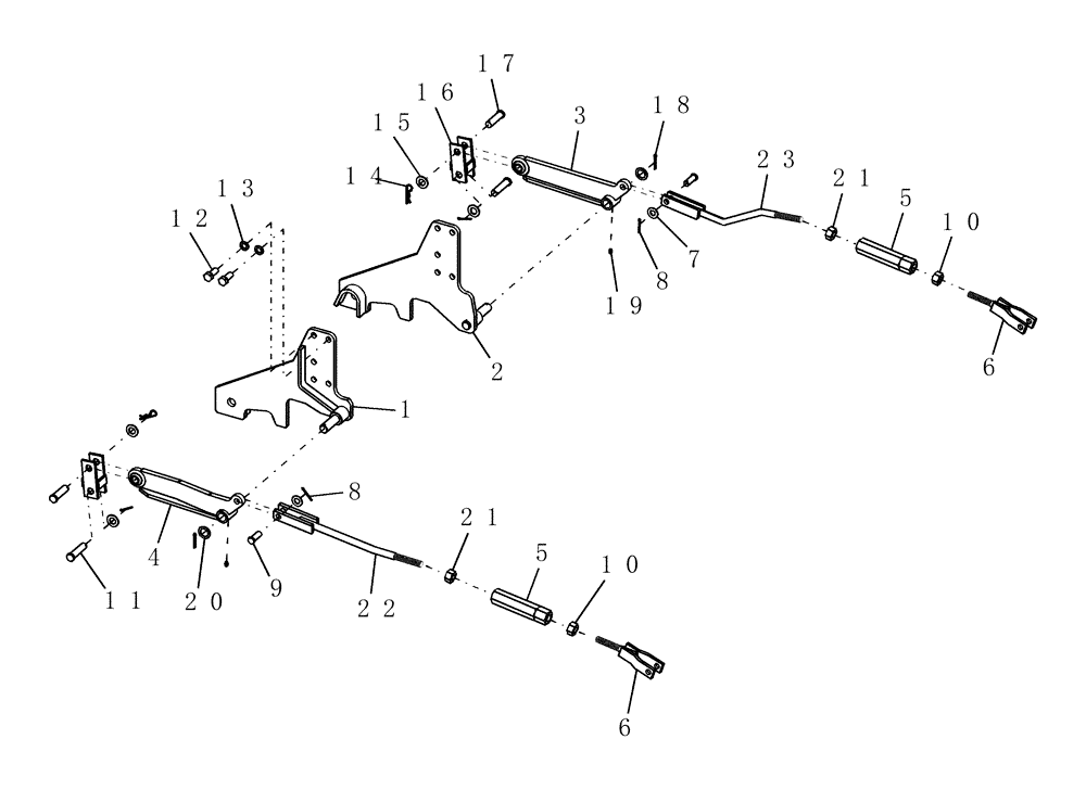
Запчасти Case IH 914A (08.01) - LIFT LINKAGE, FRONT, 84" ON & ASN DBC0004066

Схема запчастей Case IH 914A - (08.01) - LIFT LINKAGE, FRONT, 84" ON & ASN DBC0004066
20
18
8
15
12
21
22
7
1
23
8
11
3
6
5
16
13
9
14
4
6
5
17
21
2
10
19
10
FIT
1:1
100%

Артикул

Название

Примечание

Количество

1

CSE163175

BRACKET

Ear, LH, Front

1шт.

2

CSE163180

BRACKET

Ear, RH, Front

1шт.

3

CSE163135

ARM, LIFT

RH, Front

1шт.

4

CSE163274

ARM, LIFT

LH, Front

1шт.

5

AUB163723

TURNBUCKLE

3/4-16

2шт.

6

CSE163722

CONNECTING LINK

2шт.

7

495-11066

WASHER,5/8", SAE

2шт.

8

432-816

COTTER PIN,1/8" x 1"

4шт.

9

AUB968082

PIN,15.77mm OD x 49.78mm L

5/8 x 1-3/4"

2шт.

10

AUB964017

NUT

3/4"-16 LH Thread Hex

2шт.

11

AUB967126

PIN,18.95mm OD x 82.55mm L

3/4 x 3"

2шт.

12

614-16040

BOLT,Hex, M16 x 2 x 40mm, Cl 8.8, Full Thd

10шт.

13

E630176S71

LOCK WASHER

16 mm

10шт.

14

AUB967003

CLIP

Hairpin

2шт.

15

AUB964500

WASHER

3/4" SAE

4шт.

16

CSE163160

BRACKET

Weld Assy.

2шт.

17

CSE161367

CLEVIS PIN

3/4 x 2-3/4"

2шт.

18

432-1224

COTTER PIN,3/16" x 1-1/2"

2шт.

19

219-10

LUBE NIPPLE,1/4" - 28 NPTF

Fitting, Grease, 1/4"

2шт.

20

AUB314167

RING

1" I.D. x 1-1/2" O.D.

2шт.

21

429-1112

NUT,3/4"-16, G5

3/4-16

2шт.

22

CSE163724

CONNECTING LINK

LH Front

1шт.

23

CSE163720

CONNECTING LINK

RH Front

1шт.

Выбрано товаров: 23