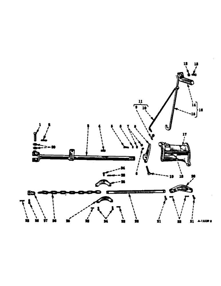
Запчасти Case IH CUB-22 (G-05) - COUPLING BAR, DRAG BAR, INNER SHOE HINGE, GAG LEVER AND CHAIN

Схема запчастей Case IH CUB-22 - (G-05) - COUPLING BAR, DRAG BAR, INNER SHOE HINGE, GAG LEVER AND CHAIN
FIT
1:1
100%

Артикул

Название

Примечание

Количество

1

22935R1

PIN, 3/4 x 4-7/8 C-Z std-hd

1шт.

2

20340R1

COTTER PIN,1/4" x 1 1/2"

Pin, Split (Cotter), 1/4" x 1-1/2"

1шт.

3

451375R95

BAR ASSY, coupling, Serial Range: 1947-1973

1шт.

3

56572C1

BAR ASSY, coupling, 1973 and since

1шт.

20859R1

BOLT,5/8" x 2 3/4", Gr 8

5/8-NF x 2-3/4 pln type 8

1шт.

103331

WASHER,5/8"

5/8"

2шт.

274468

HAMMER

NUT, 5/8 pln type 8

2шт.

608081R1

WASHER

.656 x 1.750 x .090

4шт.

21905R1

WASHER

.656 x 1.750 x .224

1шт.

4

Q63

KEY,3/8" Sq x 1 1/2", Par

3/8 x 3/8 x 1-1/2 straight, used only w/451375R95

1шт.

5

22875R1

BOLT, 1/2 x 1-3/4 C-Z step, used only w/451375R95

1шт.

6

120384

WASHER,1/2"

LOCK, , Used only w/451375R95 1/2"

2шт.

7

120378

NUT,Hex, 1/2" - 13, Gr 5

NUT, , Used only w/451375R95 1/2"-13, G5

1шт.

8

451385R2

CLAMP

tilting, Serial Range: 1974-1973

1шт.

180192

BOLT (SPREADER),Hex, 1/2" - 13 x 3 1/2", Gr 5

SCREW, 1/2-13 x 3-1/2 C-Z hex-hd cap

1шт.

9

MA487

NUT

CRANK, stay rod

1шт.

10

ROD, stay, order 451445R91

1шт.

11

451445R91

ROD

W/CRANK MA487 ASSY, stay

1шт.

12

425-1410

JAM NUT,Jam, 5/8"-11, G5

5/8-11 C-Z hex. jam

2шт.

13

23021R1

SCREW, 5/8-11 x 2 C-Z st-hd cup-pt set

2шт.

14

451382R94

SUPPORT, drag bar

1шт.

15

451381R1

BAR, drag, Serial Range: 1947-1948

1шт.

15

453029R1

ROD

BAR, drag, 1948 and since

1шт.

16

451398R91

BAR W/SUPPORT ASSY, drag, Serial Range: 1947-1948

1шт.

16

453028R92

BAR W/SUPPORT ASSY, drag, 1948 and since

1шт.

17

451386R3

HINGE, inner shoe, Serial Range: 1947-1973

1шт.

17

56575C1

HINGE, inner shoe, 1973 and since

1шт.

18

109461

LUBE NIPPLE,1/8"-27 x .66 lg

NIPPLE, LUBE, , Inner shoe hinge lub 1/8"-27 x .66 lg

1шт.

19

17664R1

BOLT

1/2-13NC x 3-3/8 hex-hd mach, used only w/451375R95

1шт.

20

MA1418

ARM

POST, gag lever

1шт.

21

21657R1

PIN, 7/16 x 1-3/8 znp std-hd

2шт.

22

18481R1

COTTER PIN,3/16" x 1"

PIN, SPLIT (COTTER), 3/16" x 1"

6шт.

23

451380R1

BAR

LINK, gag

1шт.

24

M906

HEADED PIN,7/16" x 1 1/8"

PIN, 7/16 x 1-1/8 dld std-hd

3шт.

25

451379R1

LEVER

gag

2шт.

26

M42552

CHAIN (AG)

CHAIN, lifting

1шт.

27

M42549

CLEVIS

lifting chain

1шт.

28

671034R1

PIN

1/2 x 1-1/2 C-Z std-hd

1шт.

29

(Not used this application)

1шт.

30

21757R1

WASHER

25/32 x 1-1/4 x 22 ga C-Z, 2 or as required

1шт.

Выбрано товаров: 40