Запчасти Case IH 211 (E-17) - JACK ATTACHMENT, FOR TRAILING TYPE, 1964 TO 1971

Схема запчастей Case IH 211 - (E-17) - JACK ATTACHMENT, FOR TRAILING TYPE, 1964 TO 1971
FIT
1:1
100%

Артикул

Название

Примечание

Количество

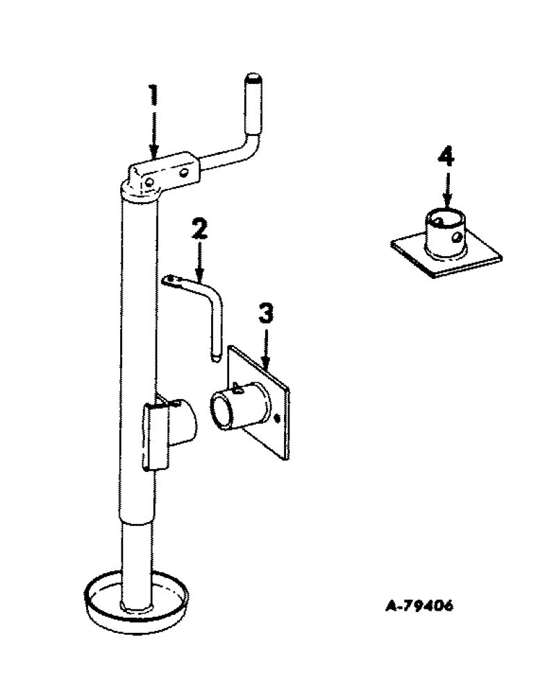
1

472051R91

JACK ASSY, cutter raising

1шт.

2

472054R2

PIN, mounting bracket retainer

1шт.

3

472053R2

BRACKET, jack mounting

1шт.

120378

NUT,Hex, 1/2" - 13, Gr 5

NUT, 1/2"-13, G5

2шт.

180175

BOLT,Hex, 1/2" - 13 x 1 1/4", Gr 5

SCREW, 1/2-13 x 1-1/4 C-Z hex-hd cap

2шт.

120384

WASHER,1/2"

LOCK, 1/2"

2шт.

4

472052R1

BRACKET, jack mounting

1шт.

120378

NUT,Hex, 1/2" - 13, Gr 5

NUT, 1/2"-13, G5

1шт.

180173

BOLT,Hex, 1/2" - 13 x 1", Gr 5

1/2-13 x 1 C-Z hex-hd cap

1шт.

120384

WASHER,1/2"

LOCK, 1/2"

1шт.

Выбрано товаров: 10