Запчасти Case IH 26 (B-23) - SAFETY LIGHTING ATTACHMENT (SPECIAL), (FOR NO. 26 ROTARY CUTTER)

Схема запчастей Case IH 26 - (B-23) - SAFETY LIGHTING ATTACHMENT (SPECIAL), (FOR NO. 26 ROTARY CUTTER)
FIT
1:1
100%

Артикул

Название

Примечание

Количество

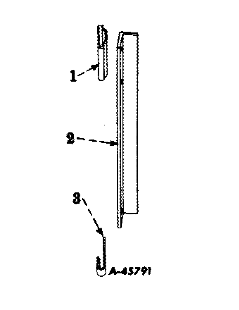
SAFETY LIGHTING ATTACHMENT 661403R91 (FOR NO. 26 ROTARY CUTTER) CONSISTS OF ALL THE PARTS LISTED BELOW

1шт.

1

624341R1

SOCKET

mounting bracket

1шт.

14994R1

CARRIAGE BOLT,Sq Nk, 5/16" - 18 x 3/4", Gr 2

BOLT, CARRIAGE, Short NK, 5/16"-18 x 3/4", G2

2шт.

9635082

NUT,5/16" - 18, Gr 5

hex., 3/16-18 NC

2шт.

103320

LOCK WASHER,5/16"

WASHER, LOCK, 5/16"

2шт.

Q397

WASHER

plain, 11/32" ID x 3/4" OD x no. 16 ga.

2шт.

2

661404R1

POST, safety light

1шт.

3

660508R1

CLIP, cable

3шт.

17412R1

BOLT,Hex, 3/8" - 16 x 3/4", Gr 2

machine, hex-hd., 3/8-16 NC x 3/4"

1шт.

102635

NUT,3/8"-16, G5

1шт.

103321

LOCK WASHER,3/8"

WASHER, LOCK, 3/8"

1шт.

Выбрано товаров: 11