Запчасти Case IH H-1 (M-6) - GEAR BOX & BLADES

Схема запчастей Case IH H-1 - (M-6) - GEAR BOX & BLADES
FIT
1:1
100%

Артикул

Название

Примечание

Количество

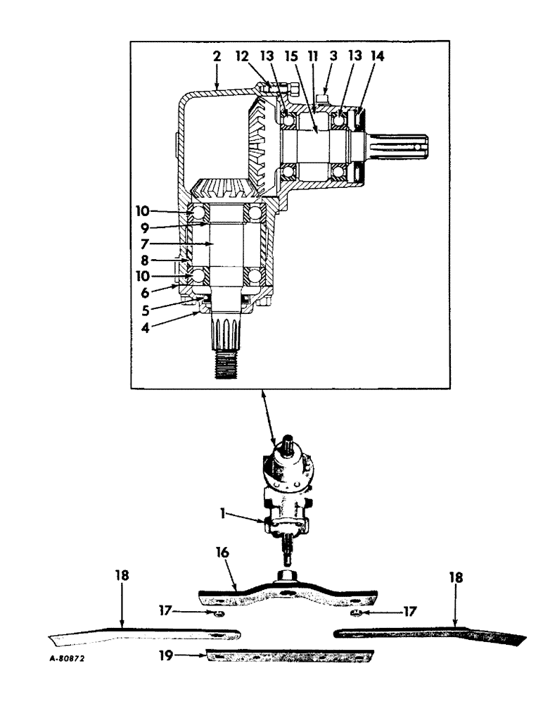
1

474749R91

BOX ASSY, gear

1шт.

2

474750R1

HOUSING, gear

1шт.

3

217-430

PLUG,Hex Soc, 1/8" - 27 NPTF

1/8-27 automotive

1шт.

4

474751R1

CAP, brg retainer

1шт.

180124

BOLT,Hex, 3/8" - 16 x 1 1/4", Gr 5

SCREW, 3/8-16 x 1-1/4 cd or zn-pltd hex-hd cap

4шт.

120382

LOCK WASHER,Helical Spring, 3/8"

WASHER, LOCK, 3/8"

4шт.

5

474753R91

SEAL, brg retainer oil

1шт.

6

474754R1

GASKET, brg retainer

1шт.

7

474755R1

SHAFT WITH GEAR, driven

1шт.

427652

SLOTTED NUT,1"-14, G5

NUT, 1-14 cd or zn-pltd slt hex.

1шт.

87395

COTTER PIN,1/8" OD x 1-1/4" OAL

PIN, SPLIT (COTTER), 1/8" x 1-1/4"

1шт.

461954R1

WASHER, 1-1/32 x 2 x 1/4

1шт.

8

474756R1

SPACER, driven shaft brg

1шт.

9

555570R1

SNAP RING

RING, brg retaining

2шт.

10

ST235

BALL BEARING,40 mm ID x 90 mm OD x 23 mm

BEARING, driven shaft ball

2шт.

11

474757R1

HOUSING, side

1шт.

217-519

DRAIN PLUG,Sq Hd, 1/2"-14 NPTF

PLUG, , Pipe Sq Hd, 1/2"-14 NPTF

1шт.

180122

BOLT,Hex, 3/8" - 16 x 1", Gr 5

3/8-16 x 1 cd or zn-pltd hex-hd cap

6шт.

120382

LOCK WASHER,Helical Spring, 3/8"

WASHER, LOCK, 3/8"

6шт.

12

474758R1

SHIM, side housing, .004

1шт.

13

ST215

BEARING, BALL,40 mm ID x 80 mm OD x 18 mm

BEARING, driving gear shaft ball

2шт.

14

474759R91

SEAL, driving gear shaft oil

1шт.

15

474760R1

SHAFT WITH GEAR, drive

1шт.

16

474762R91

ADAPTER ASSY, blade

1шт.

17

474026R1

BUSHING,23.02mm ID x 37.57mm OD x 9.91mm L

blade

2шт.

18

474763R1

BLADE, swinging cutter

2шт.

19

474764R1

PLATE, cutter blade tie

1шт.

272688

BALL BEARING

NUT, 7/8-14 cd or zn-pltd hex. lock

2шт.

271546

BOLT,Hex, 5/8" - 11 x 1 1/4", Gr 5

SCREW, 5/8-11 x 1-1/4 cd or zn-pltd hex-hd cap, gear box to platform

10шт.

492-11062

BEARING WASHER,5/8"

WASHER, LOCK, 5/8"

10шт.

474030R1 Bolt to hold the (Ref #18) Blades to (Ref #16) Adapter 07/25/96

1шт.

Выбрано товаров: 31