Запчасти Case IH 716B (013) - FRONT PTO ASSEMBLY, 72"

Схема запчастей Case IH 716B - (013) - FRONT PTO ASSEMBLY, 72"
7
5
2
4
9
1
8
17
6
19
18
3
11
20
16
13
10
12
14
15
FIT
1:1
100%

Артикул

Название

Примечание

Количество

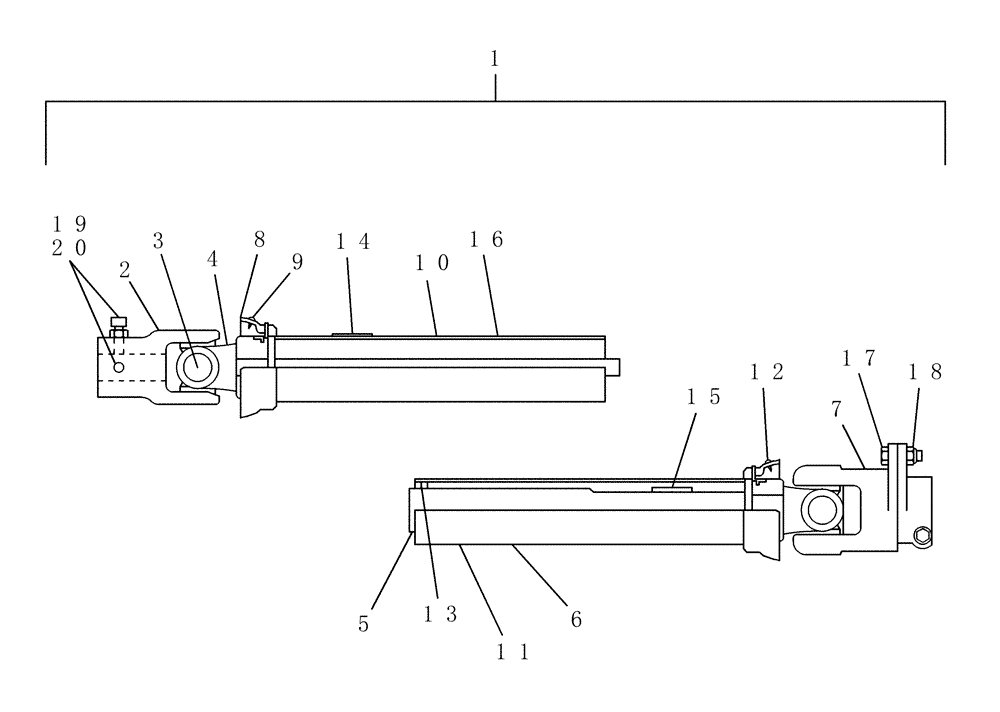
1

LFN11070

PTO SHAFT

PTO, C3BMR Front (Complete) Includes: Ref. 2 thru 20

1шт.

2

LFN11741

YOKE

1-1/4" RB, 5/16"

1шт.

3

LFN11742

BEARING ASSY

Cross & Bearing

2шт.

4

LFN11743

PTO SHAFT

Yoke & Shaft

1шт.

5

LFN11744

PTO SHAFT

Yoke & Shaft

1шт.

6

NS

NOT SERVICED

Half, Implement

1шт.

7

LFN11745

YOKE

Shearbolt Clutch

1шт.

8

LFN11746

RING

PTO Clutch

2шт.

9

LFN11747

RING

Bearing SC15

2шт.

10

LFN11748

OUTER SHIELD

Shaft Outer

1шт.

11

LFN11749

OUTER SHIELD

Tube Outer

1шт.

12

LFN11750

SCREW

Shield

2шт.

13

LFN11751

BEARING

Support

1шт.

14

LFN11752

DECAL

Shaft Shield

1шт.

15

LFN11753

DECAL

Tube Shield

1шт.

16

NS

NOT SERVICED

Half, Sub-Frame

1шт.

17

PL

PROCURE LOCALLY

Bolt, M6 x 35 GR 8.8 (Shear Bolt)

1шт.

18

PL

PROCURE LOCALLY

Nut, M6 Nylock

1шт.

19

PL

PROCURE LOCALLY

Screw, SQ HD 3/8" x 1"

2шт.

20

PL

PROCURE LOCALLY

Nut, 3/8" Jam

2шт.

Выбрано товаров: 0