Запчасти Case IH 716B (015) - REAR PTO ASSEMBLY, 72"

Схема запчастей Case IH 716B - (015) - REAR PTO ASSEMBLY, 72"
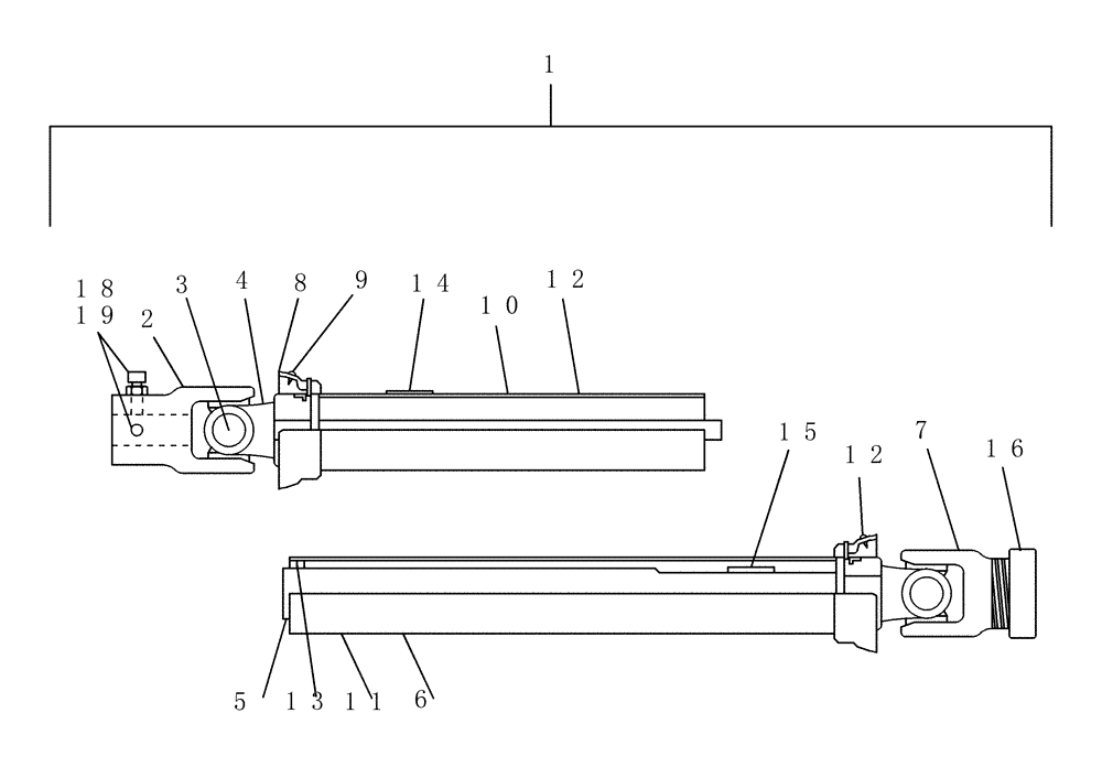
16
11
15
1
6
2
3
4
10
19
13
12
18
12
9
14
5
7
8
FIT
1:1
100%

Артикул

Название

Примечание

Количество

1

LFN11071

PTO SHAFT

PTO, C3BMR Rear Includes: Ref. 2 thru 19

1шт.

2

LFN11741

YOKE

1-1/4" RB, 5/16"

1шт.

3

LFN11742

BEARING ASSY

Cross & Bearing

1шт.

4

LFN11743

PTO SHAFT

IB Yoke & Bar

1шт.

5

NS

NOT SERVICED

Tube, IB Yoke & Bar

1шт.

6

NS

NOT SERVICED

Half, Tractor

1шт.

7

LFN11758

YOKE

Shearbolt Clutch

1шт.

8

LFN11746

RING

PTO Clutch

2шт.

9

LFN11747

RING

Bearing SC15

2шт.

10

LFN11748

OUTER SHIELD

Shaft Outer

1шт.

11

LFN11760

OUTER SHIELD

Tube Outer

1шт.

12

LFN11750

SCREW

Shield

2шт.

13

LFN11751

BEARING

Bearing

1шт.

14

LFN11752

DECAL

Shaft Shield

1шт.

15

LFN11761

DECAL

Tube Shield

1шт.

16

LFN11762

SNAP RING

Snap Ring

1шт.

17

NS

NOT SERVICED

Half, Sub-Frame

1шт.

18

PL

PROCURE LOCALLY

Screw, SQ HD 3/8" x 1"

2шт.

19

PL

PROCURE LOCALLY

Nut, 3/8" Jam

2шт.

Выбрано товаров: 0