Качественные детали и логистика
Оригинальные и аналоговые запчасти с доставкой по России, Казахстану и Беларуси
©2022 PartSell ООО "Система" ИНН 2463123282 ОГРН 1212400004838
Центральный офис: г. Красноярск, Академика Киренского, д.87, пом.4
Телефон: 8 (800) 777-65-74 Email: zakaz@partsell.ru
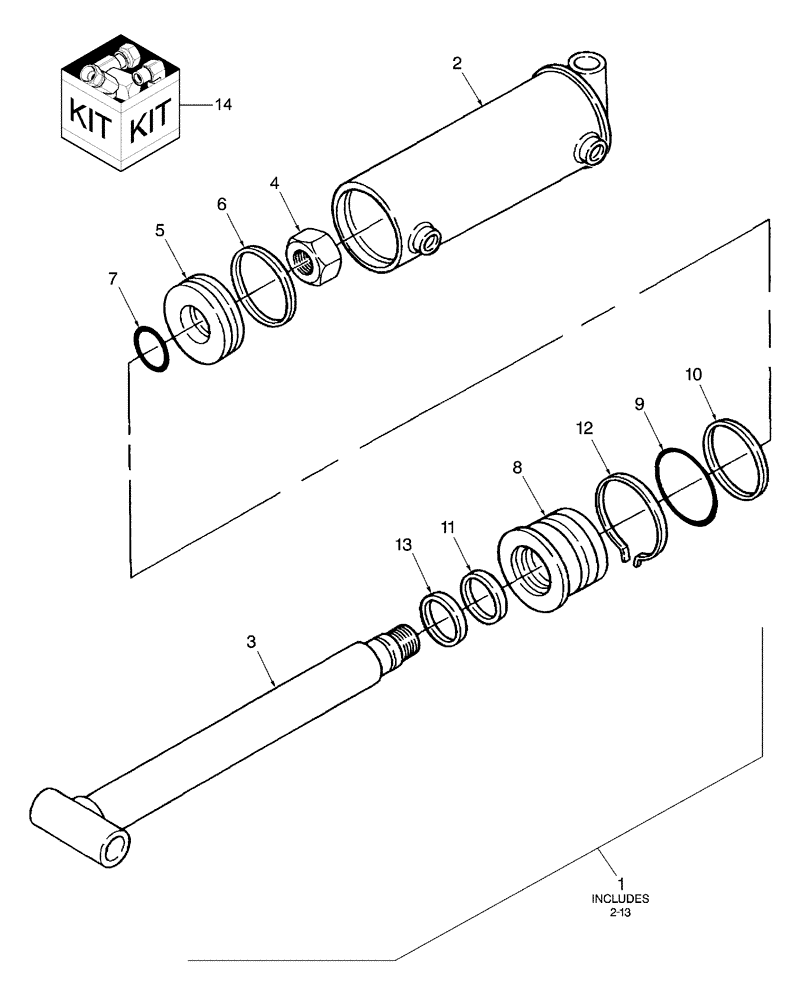
(005) - LIFT CYLINDER
№
Артикул
Название
Примечание
Количество
1
LF8287
CYLINDER
Lift Complete, 2 x 6. Includes: Ref. 2 thru 13
1шт.
2
LF828701
BODY
Body
3
LF828702
ROD
4
PL
PROCURE LOCALLY
Nut, Lock, 3/4"-16
5
LF828704
PISTON
Piston
6
LF828705
SEAL
7
LF828706
O-RING
8
LF828707
GUIDE
Guide
9
LF828708
10
LF828709
BACK-UP RING
11
LF828710
Lip, U-Cup, Guide
12
LF828711
RING
Ring, Retaining, Body
13
LF828712
Ring, Rod Wiper
14
LF828713
SEAL KIT
Includes: Ref. 6,7,9,10,11, & 13
Выбрано товаров: 0