Запчасти Case IH C100 (38) - AUGER DRIVE CHAINBOX

Схема запчастей Case IH C100 - (38) - AUGER DRIVE CHAINBOX
FIT
1:1
100%

Артикул

Название

Примечание

Количество

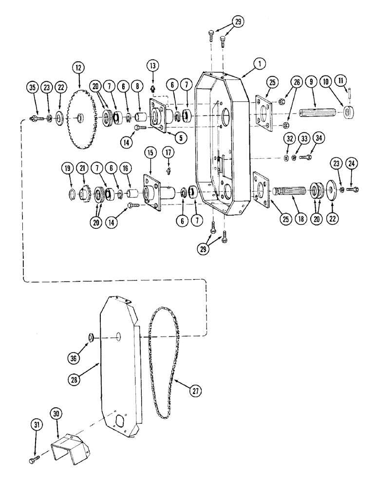
1

1960501C1

HOUSING

- drive

1шт.

2

1978606C1

HOUSING

SUPPORT - shaft

1шт.

6

456736R1

SNAP RING,2.062", Int, #206

Ring, Snap, 2.062", Int, #206

4шт.

7

295109R91

BALL BEARING

- ball

4шт.

8

1346772C1

SPACER

1шт.

9

1346773C1

SHAFT

- auger drive

1шт.

10

1346774C1

COLLAR

1шт.

11

188438

GROOVED PIN,1/4" x 1 1/2", Type F

Pin, Grooved, 1/4" x 1 1/2", Type F

1шт.

12

1346775C1

SPROCKET ASSY.

SPROCKET- driven

1шт.

13

219-10

LUBE NIPPLE,1/4" - 28 NPTF

FITTING - grease, 1/4 inch

1шт.

14

74770C1

BOLT,1/2" - 20 x 1 1/4", Grade 5

- housing

8шт.

15

1346770C1

HOUSING, BEARING,2.0459" ID x 2.171" OD x 5.5"

SUPPORT - shaft

1шт.

16

1960479C1

SPACER

- bearing

1шт.

17

219-1

LUBE NIPPLE,1/8" - 27 NPTF

FITTING - grease, straight, 1/8 PT x 21/32 inch

1шт.

18

1960506C1

SHAFT

- splined

1шт.

19

A34428

SNAP RING,#98, Ext

Ring, Snap, #98, Ext

1шт.

20

1954979C1

WASHER

- spacer, bearing

6шт.

21

1960507C1

SPROCKET ASSY.

SPROCKET - chain

1шт.

22

1960508C1

WASHER

- thrust

2шт.

23

80679

LOCK WASHER,1/20.507 CST ZND

WASHER, LOCK, 1/2"

2шт.

24

414-828

BOLT,Hex, 1/2" - 20 x 1-3/4", Gr 5

- hex, 1/2 NF x 1-3/4 inch

1шт.

25

1960516C1

LARGE PLATE

PLATE - support

2шт.

26

101694C1

LOCK NUT

- hex jam lock, 1/2 inch NF

8шт.

27

REF

INSTRUCTION

CHAIN ASSEMBLY - drive (See note)

1шт.

28

1346777C1

COVER

- drive housing

1шт.

29

281-34812

SELF-TAP SCREW,Hex Wash Hd, 5/16" x 3/4"

SCREW - self-tapping, hex washer head, 5/16 NC x 3/4 inch

4шт.

30

1346778C1

SHIELD

GUARD - PTO shaft

1шт.

31

280-1478

SELF-TAP SCREW,HWH, 1/4-14 x 1/2"

SCREW - 1/4 NC x 1/2 inch, self-tapping

3шт.

32

495-21044

WASHER,3/8"

(flat, 7/16 x 1 x 5/64 inch) 3/8"

2шт.

33

492-11038

LOCK WASHER,3/8"

2шт.

34

413-616

BOLT,Hex, 3/8" - 16 x 1", Gr 5

- hex, 3/8 NC x 1 inch

2шт.

35

1958165C1

FITTING,Hex, 1/2" - 20 x 1 1/2"

BOLT ASSEMBLY - with grease fitting

1шт.

36

1978645C1

PLUG

- button

1шт.

Выбрано товаров: 33