Запчасти Case IH 716393006 (56) - BOOM & DIPPER CYLINDER

Схема запчастей Case IH 716393006 - (56) - BOOM & DIPPER CYLINDER
8
11
kit
10
16
15
1
14
9
12
3
5
6
4
2
7
13
FIT
1:1
100%

Артикул

Название

Примечание

Количество

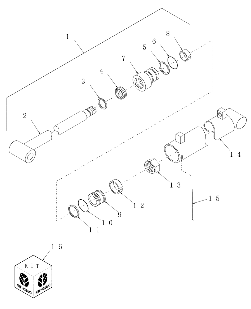
1

CSE44660

CYLINDER

Boom and Dipper

1шт.

2

SML45214

ROD

Weldment, 1-1/2"

1шт.

3

NSS

NOT SOLD SEPARAT

Ring, Wiper

1шт.

Included in Seal Kit (SML41669).

1шт.

4

NSS

NOT SOLD SEPARAT

Seal, Poly Pack

1шт.

Included in Seal Kit (SML41669).

1шт.

5

NSS

NOT SOLD SEPARAT

Ring, Backup

1шт.

Included in Seal Kit (SML41669).

1шт.

6

NSS

NOT SOLD SEPARAT

O-Ring

1шт.

Included in Seal Kit (SML41669).

1шт.

7

SML41668

CYLINDER HEAD

Head, Cylinder

1шт.

8

NSS

NOT SOLD SEPARAT

Ring, Wear

1шт.

Included in Seal Kit (SML41669).

1шт.

9

SML37079

PISTON

1шт.

10

NSS

NOT SOLD SEPARAT

O-Ring

2шт.

Included in Seal Kit (SML41669).

1шт.

11

NSS

NOT SOLD SEPARAT

Seal, Piston

1шт.

Included in Seal Kit (SML41669).

1шт.

12

NSS

NOT SOLD SEPARAT

Ring, Wear

1шт.

Included in Seal Kit (SML41669).

1шт.

13

SML329032

LOCK NUT

Lock, G8, 1"-14

1шт.

14

CSE45215

TUBE

Cylinder Tube, Weldment

1шт.

15

NSS

NOT SOLD SEPARAT

Lockwire

1шт.

Included in Seal Kit (SML41669).

1шт.

16

SML41669

SEAL KIT

Includes: Ref. 3, 4, 5, 6, 8, 10, 11, 12 & 15

1шт.

Выбрано товаров: 25