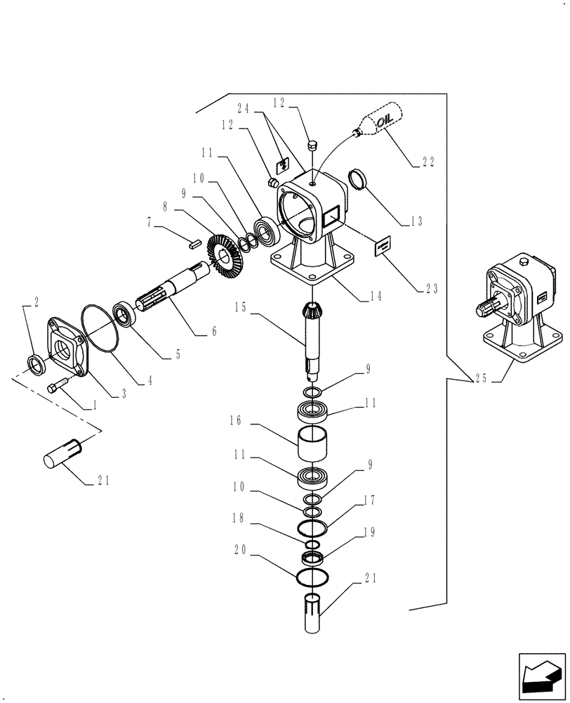
Запчасти Case IH 717675036 (030) - STANDARD GEARBOX (RPM 540 COUNTER CLOCK-WISE)

Схема запчастей Case IH 717675036 - (030) - STANDARD GEARBOX (RPM 540 COUNTER CLOCK-WISE)
2
22
10
9
21
8
12
20
23
24
9
19
1
16
6
13
11
17
14
11
12
11
25
15
10
18
3
21
5
4
7
9
FIT
1:1
100%

Артикул

Название

Примечание

Количество

1

SIT600054

SCREW

M10x25

4шт.

2

SIT600346

GASKET

2шт.

3

CSE100272

COVER

1шт.

4

SIT600345

GASKET

1шт.

5

SIT600342

BEARING ASSY

1шт.

6

SIT100268

PTO SHAFT

1шт.

7

SIT600325

WOODRUFF KEY

A10x8x30

1шт.

8

SIT100269

CROWN WHEEL

1шт.

9

SIT200274

SHIM

3шт.

10

SIT200490

SHIM

2шт.

11

SIT600327

BEARING ASSY

3шт.

12

SIT600560

PLUG

3/8"

2шт.

13

SIT600328

CAP

1шт.

14

CSE100267

HOUSING

Gearbox

1шт.

15

SIT100271

PINION

1шт.

16

SIT100270

SPACER

1шт.

17

SIT600332

SNAP RING

1шт.

18

370004

SNAP RING,M35 x 1.5mm Thk, External

1шт.

19

SIT600338

GASKET

1шт.

20

SIT600337

RING

1шт.

21

SIT600172

PROTECTION

2шт.

22

PL

PROCURE LOCALLY

Oil, 80W90

1шт.

23

NS

NOT SERVICED

Part Number Label

1шт.

24

NS

NOT SERVICED

Oil Level Label

1шт.

25

CSE110321

GEARBOX

1шт.

Выбрано товаров: 25