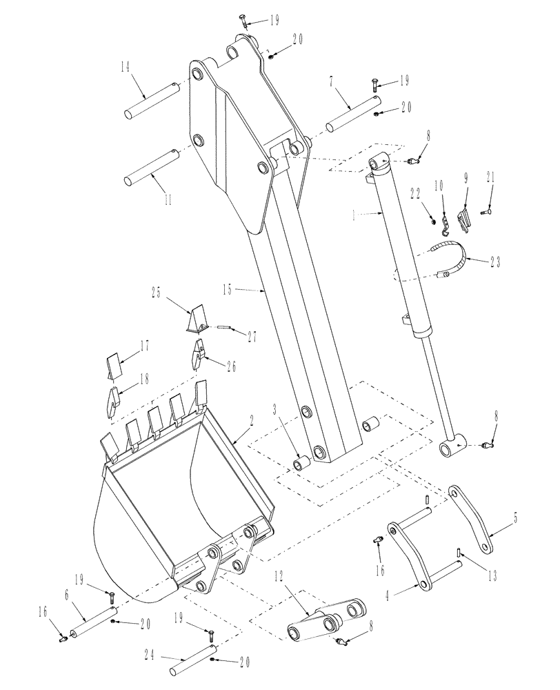
Запчасти Case IH BHX1114 (23) - DIPPERSTICK & BUCKET

Схема запчастей Case IH BHX1114 - (23) - DIPPERSTICK & BUCKET
8
15
12
6
20
20
1
5
3
19
21
7
25
13
19
16
9
8
22
14
26
4
17
2
20
16
8
20
24
11
23
27
10
19
18
19
FIT
1:1
100%

Артикул

Название

Примечание

Количество

1

CSE44683

CYLINDER

Bucket

1шт.

2

W0

ORDER WHOLEGOODS

Standard Bucket, 12", 3 Teeth, 1.24 Cu. Ft. Heaped, (716399016)

1шт.

W0

ORDER WHOLEGOODS

Standard Bucket, 16", 3 Teeth, 1.76 Cu. Ft. Heaped, (716400016)

1шт.

W0

ORDER WHOLEGOODS

Heavy Duty Bucket, 16", 3 Teeth, 1.76 Cu. Ft. Heaped, (716494056)

1шт.

W0

ORDER WHOLEGOODS

Standard Bucket, 18", 4 Teeth, 2.02 Cu. Ft. Heaped, (716434026)

1шт.

W0

ORDER WHOLEGOODS

Standard Bucket, 24", 5 Teeth, 2.82 Cu. Ft. Heaped, (716401016)

1шт.

W0

ORDER WHOLEGOODS

Heavy Duty Bucket, 24", 5 Teeth, 2.82 Cu. Ft. Heaped, (716493036)

1шт.

W0

ORDER WHOLEGOODS

Grave Bucket, 36", 6 Teeth, 4.00 Cu. Ft. Heaped, (716435036)

1шт.

W0

ORDER WHOLEGOODS

Muck Bucket, 36", 6 Teeth, 4.00 Cu. Ft. Heaped, (716436026)

1шт.

3

SML452521

DRIVE BUSHING

Bushing, 1-1/2 O.D. x 1-1/4 I.D. x 1-3/8

2шт.

4

CSE45054

ARM

Toggle

1шт.

5

CSE45055

PLATE

Link, Arm, Toggle

2шт.

6

SML45145

PIN

1-1/4 x 9

2шт.

7

SML363683

PIN

Cylinder Base, 1-1/4 x 8

2шт.

8

SML60754

LUBE NIPPLE

Fitting, Grease, 1/4-28

5шт.

9

SML44793

SOCKET

Slow Moving Vehicle

1шт.

10

SML44794

BRACKET

Mounting, Slow Moving Vehicle

1шт.

11

SML45140

PIN

Pivot, Dipper, 1-1/2 x 10.34

1шт.

12

CSE45058

LINK

Bucket

1шт.

13

SML60152

PIN

Roll, 3/8" x 2"

2шт.

14

SML3636811

PIN

1-1/4 x 10.16

1шт.

15

CSE45044

BACKHOE ARM

Dipperstick, Less Bushings

1шт.

16

SML60752

LUBE NIPPLE

Fitting, Grease, 1/8-NPT

2шт.

17

SML448671

BUCKET TOOTH

Tooth, Bucket, 1-3/4 Wide

1шт.

18

SML41703

SHANK

Bucket, 1" Wide

1шт.

19

88546

BOLT,Hex, 3/8" - 16 x 2 1/4", Gr 5

Screw, Cap, HH, G5, 3/8"-16 x 2-1/2"

4шт.

20

9637692

NUT,3/8"-16, GB

NUT, LOCK, GC, 3/8"-16

3шт.

21

280327

CARRIAGE BOLT,Sq Nk, 5/16" - 18 x 3/4", Gr 5, Full Thd

Bolt, Carriage, Short NK, 5/16"-18 x 3/4", G5

2шт.

22

9635082

NUT,5/16" - 18, Gr 5

Lock, G5, 5/16"-18

2шт.

23

SML60763

CABLE TIE

Clamp, Hose

1шт.

24

SML3636814

PIN

1-1/4 x 9

1шт.

25

SML45176

BUCKET TOOTH

Tooth (H.D. Bucket)

1шт.

26

SML45175

SHANK

(H.D. Bucket)

1шт.

27

SML60152

PIN

Spring Pin, 3/8 x 2

1шт.

Выбрано товаров: 0